GM Service Manual Online
For 1990-2009 cars only
Makes
🢒
Pontiac
🢒
2001
🢒
Sunfire
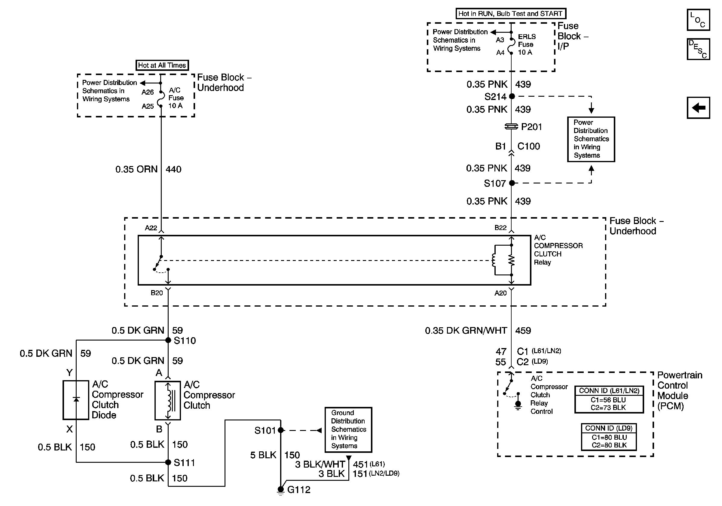
🢒 A/C Compressor Clutch Relay
A/C Compressor Clutch Relay
A/C Compressor Clutch Relay
Master Electrical Component List
Air Delivery Description and Operation
Blower Controls
G112
G204 - 1 of 2
A/C Switches and Sensor