GM Service Manual Online
For 1990-2009 cars only
Makes
🢒
Buick
🢒
1999
🢒
LeSabre
🢒
Steering
🢒
Steering Wheel and Column - Tilt
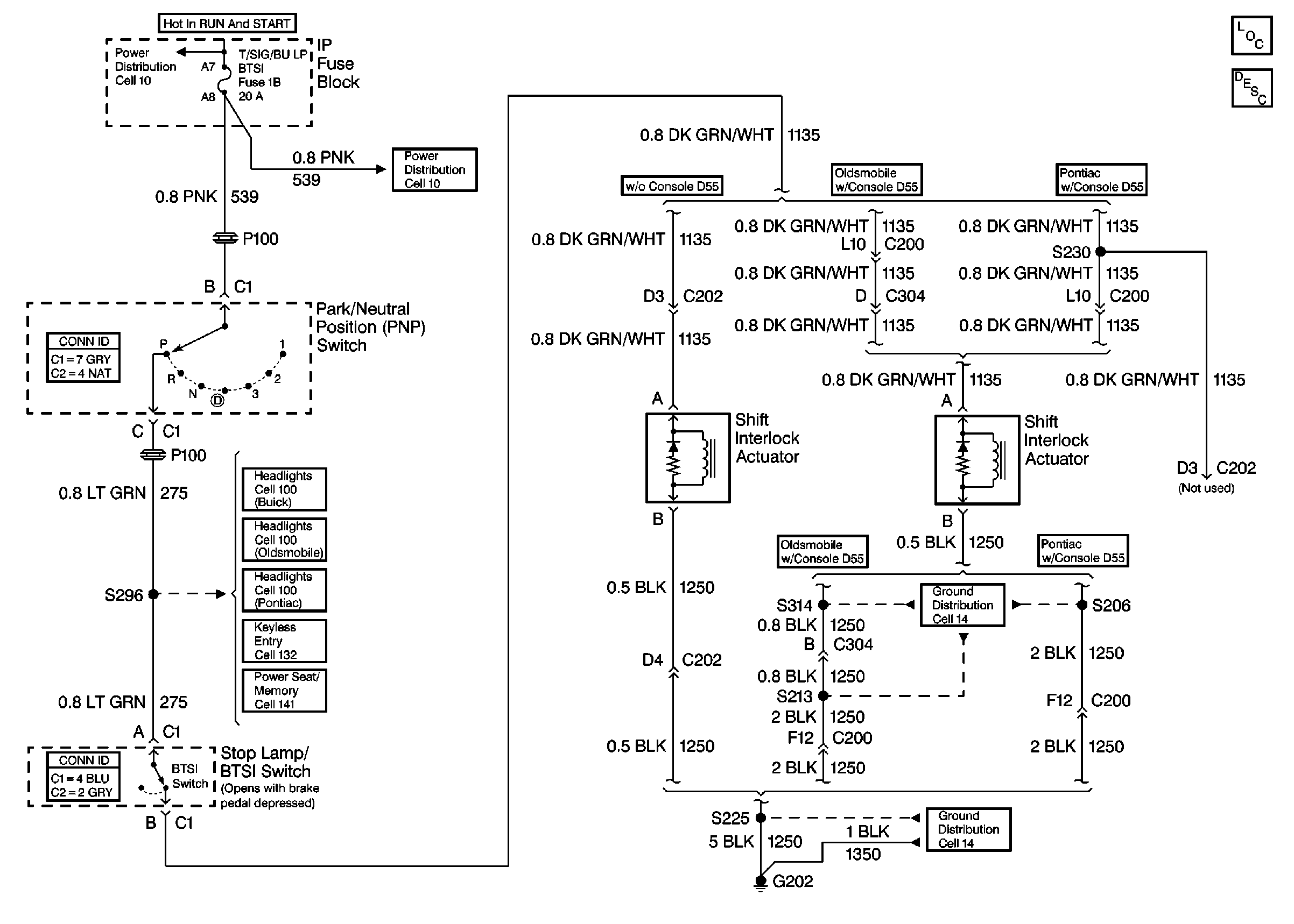
🢒 Shift Lock Control Schematics
Cell 138
Power Distribution Schematics
Power Distribution Schematics
Headlights Schematics Buick
Headlights Schematics Oldsmobile
Headlights Schematics Pontiac
Keyless Entry Schematics
Memory Seats Schematics Oldsmobile w/ A43
Ground Distribution Schematics
Ground Distribution Schematics
Tilt Wheel/Column Components
Automatic Transmission Shift Lock Control Circuit Description
Tilt Wheel/Column Connector End Views
Engine Controls Connector End Views