GM Service Manual Online
For 1990-2009 cars only

Memory Seats Schematics Oldsmobile w/ A43

Figure 1:

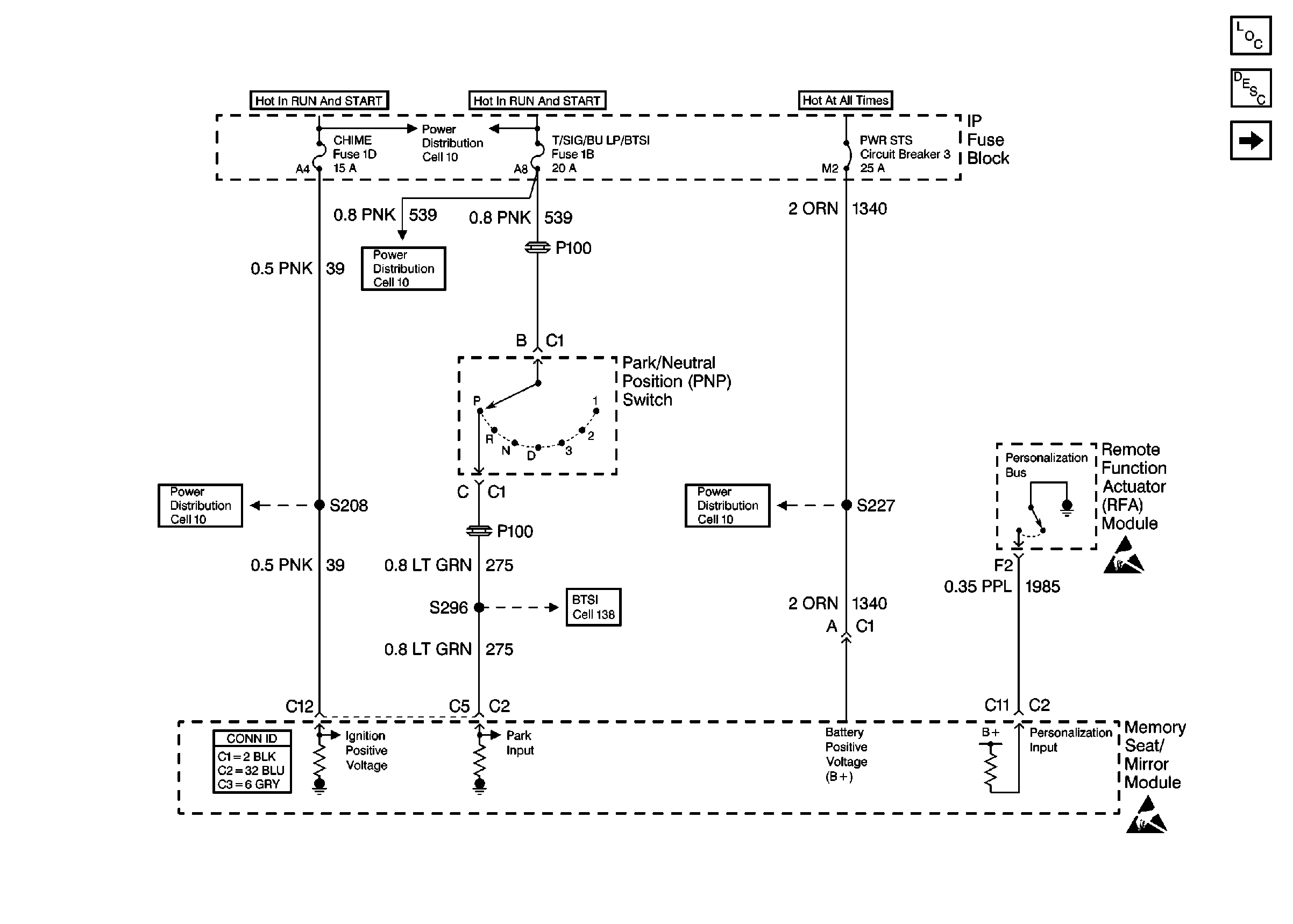
Cell 141: Power, RFA and Memory Seat/Mirror Module


Object Number: 342479  Size: FS
Power Seat Systems Components
Memory Seat Circuit Description Oldsmobile w/A43
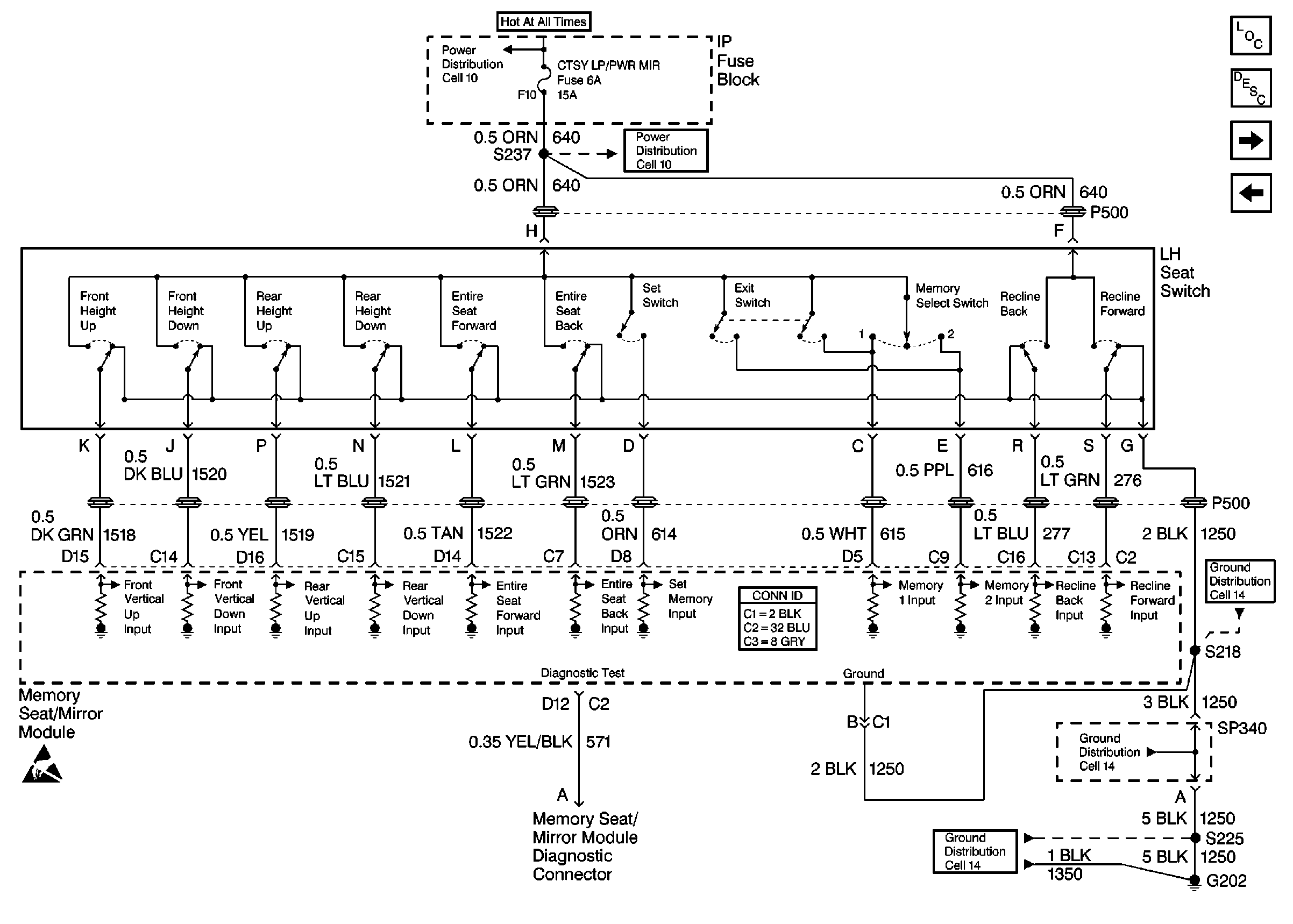
Cell 141: LH Seat Switch
Shift Lock Control Schematics
Power Distribution Schematics
Power Distribution Schematics
Power Distribution Schematics
Power Distribution Schematics
Power Seat Connector End Views
Handling ESD Sensitive Parts Notice
Handling ESD Sensitive Parts Notice
Figure 2:

Cell 141: LH Seat Switch


Object Number: 342485  Size: FS
Power Seat Systems Components
Memory Seat Circuit Description Oldsmobile w/A43
Cell 141: Seat Motors and Position Sensors
Cell 141: Power, RFA and Memory Seat/Mirror Module
Power Distribution Schematics
Power Distribution Schematics
Handling ESD Sensitive Parts Notice
Ground Distribution Schematics
Ground Distribution Schematics
Ground Distribution Schematics
Power Seat Connector End Views
Figure 3:

Cell 141: Seat Motors and Position Sensors


Object Number: 342488  Size: FS
Power Seat Systems Components
Memory Seat Circuit Description Oldsmobile w/A43
Cell 141: LH Seat Switch
Power Seat Connector End Views
Outside Rearview Mirror Schematics
Outside Rearview Mirror Schematics
Handling ESD Sensitive Parts Notice
Handling ESD Sensitive Parts Notice