GM Service Manual Online
For 1990-2009 cars only

AIR BAG Warning Lamp Does Not Come On Buick w/UB3


Object Number: 375164  Size: MF
SIR Components
Cell 47
SIR Handling Caution
Handling ESD Sensitive Parts Notice
Cell 10: IGN SW Fuse (1 of 2)
Cell 10: CHIME Fuse
Cell 80: Instrument Cluster

Circuit Description

When the ignition switch is first turned to RUN, the CHIME Fuse applies battery voltage to the AIR BAG warning lamp that is connected to SIR Indicator, terminal 7. The AIR BAG Fuse applies battery voltage to the Ignition Positive Voltage input, terminal 10. The inflatable restraint sensing and diagnostic module (SDM) responds by flashing the AIR BAG warning lamp seven times.

When measurements are requested in this table, use the J 39200 Digital Multimeter with the correct terminal adapter from the J 35616 Connector Test Adapter Kit. When an inspection for proper connection is requested, refer to Intermittents and Poor Connections Diagnosis . When a wire, connector or terminal repair is requested, use the J-38125 Terminal Repair Kit. Refer to Wiring Repair .

Test Description

The numbers below refer to the step numbers on the diagnostic table:

  1. This test determines whether the malfunction is in the inflatable restraint sensing and diagnostic module (SDM) circuitry or in the remote indicator bank power feed circuitry.

  2. This test determines whether voltage is present in the warning lamp circuit.

  3. This test isolates CKT 358 (BRN) and checks for a short in CKT 358 (BRN) to voltage.

  4. This test determines if the malfunction is in the remote indicator bank connector.

  5. This test isolates an open in the warning lamp circuitry.

  6. This test checks whether power is available to the remote indicator bank power feed circuit.

  7. This test checks for a short from the remote indicator bank power feed circuit to ground.

  8. This test determines whether the short to ground is due to a short in the wiring or internal to the remote indicator bank.

  9. This test determines if the malfunction is in the remote indicator bank connector.

  10. This test determines whether the malfunction is due to an open power feed circuit from the CHIME Fuse.

Step

Action

Value(s)

Yes

No

1

Was the SIR Diagnostic System Check performed?

--

Go to Step 2

Go to SIR Diagnostic System Check

2

Note the remote indicator bank while the ignition switch is turned to the RUN position.

Does the SERVICE ENGINE SOON indicator illuminate?

--

Go to Step 3

Go to Step 11

3

  1. Turn the ignition switch to the OFF position.
  2. Disconnect the inflatable restraint steering wheel and IP module yellow 2-way connectors at the base of the steering column and above the RH sound insulator.
  3. Disconnect the inflatable restraint sensing and diagnostic module (SDM).
  4. Install J 38715-96 SIR Shorting Bar Tool to the SDM harness connector.
  5. Install the CPA.
  6. Turn the ignition switch to the RUN position.
  7. Measure the voltage on the SDM harness connector from terminal 7 to ground.

Is the voltage more than the specified value?

10.0 V

Go to Step 4

Go to Step 6

4

  1. Turn the ignition switch to the OFF position.
  2. Disconnect the remote indicator bank connector. Refer to Driver Information Center Replacement in Instrument Panel, Gauges and Console.
  3. Turn the ignition switch to the RUN position.
  4. Measure the voltage on the SDM harness connector from terminal 7 to ground.

Is the voltage less than the specified value?

1.0 V

Go to Sensing and Diagnostic Module Integrity Check

Go to Step 5

5

  1. Turn the ignition switch to the OFF position.
  2. Repair a short to voltage condition in CKT 358 (BRN). Refer to Wiring Repairs in Wiring Systems.
  3. Reconnect the remote indicator bank connector.

Are the repairs complete?

--

Go to Step 22

--

6

  1. Turn the ignition switch to the OFF position.
  2. Remove the remote indicator bank. Refer to Driver Information Center Replacement in Instrument Panel, Gauges and Console.
  3. Check for proper connection to the remote indicator bank at terminal A9.

Is the connector damaged or corroded?

--

Go to Step 7

Go to Step 8

7

Repair the remote indicator bank harness connector. Refer to Wiring Repairs in Wiring Systems.

Are the repairs complete?

--

Go to Step 22

--

8

Measure the resistance from the remote indicator bank harness connector terminal A9 to the SDM harness connector terminal 7.

Is the resistance less than the specified value?

5 ohms

Go to Step 10

Go to Step 9

9

  1. Repair an open condition in CKT 358 (BRN). Refer to Wiring Repairs in Wiring Systems
  2. Install the remote indicator bank. Refer to Driver Information Center Replacement in Instrument Panel, Gauges and Console.

Are the repairs complete?

--

Go to Step 22

--

10

Service the remote indicator bank. Refer to Driver Information Center Replacement in Instrument Panel, Gauges and Console.

Are the repairs complete?

--

Go to Step 22

--

11

  1. Turn the ignition switch to the OFF position.
  2. Remove the CHIME Fuse.
  3. Inspect the fuse.

Is the fuse good?

--

Go to Step 17

Go to Step 12

12

  1. Replace the fuse.
  2. Turn the ignition switch to the RUN position for 10 seconds.
  3. Turn the ignition switch to the OFF position.
  4. Remove the CHIME Fuse.
  5. Inspect the fuse.

Is the fuse good?

--

Go to Step 16

Go to Step 13

13

  1. Disconnect the inflatable restraint steering wheel and IP module yellow 2-way connectors at the base of the steering wheel and above the RH sound insulator.
  2. Disconnect the remote indicator bank connector. Refer to Driver Information Center Replacement in Instrument Panel, Gauges and Console.
  3. Replace the CHIME Fuse.
  4. Turn the ignition switch to the RUN position for 10 seconds.
  5. Turn the ignition switch to the OFF position.
  6. Remove the CHIME Fuse.
  7. Inspect the fuse.

Is the fuse good?

--

Go to Step 15

Go to Step 14

14

  1. Repair a short to ground condition in CKT 39 (PNK).
  2. Replace the CHIME Fuse in the IP fuse block.

Are the repairs complete?

--

Go to Step 22

--

15

  1. Service the remote indicator bank. Refer to Driver Information Center Replacement in Instrument Panel, Gauges and Console.
  2. Install the CHIME Fuse.

Are the repairs complete?

--

Go to Step 22

--

16

Install the CHIME Fuse.

Are the repairs complete?

--

Go to Step 22

--

17

  1. Disconnect the remote indicator bank connector. Refer to Driver Information Center Replacement in Instrument Panel, Gauges, and Console.
  2. Check for proper connection to the remote indicator bank at terminal A1.

Is the connector damaged or corroded?

--

Go to Step 18

Go to Step 19

18

Repair the remote indicator bank harness connector. Refer to Wiring Repairs in Wiring Systems.

Are the repairs complete?

--

Go to Step 22

--

19

Measure the resistance between the remote indicator bank harness connector terminal A1 to each terminal of the CHIME Fuse fuseholder.

Is either reading less than the specified value?

5 ohms

Go to Step 21

Go to Step 20

20

  1. Repair an open condition in CKT 39 (PNK). Refer to Wiring Repairs in Wiring Systems.
  2. Install the CHIME Fuse.

Are the repairs complete?

--

Go to Step 22

--

21

  1. Repair an open condition in the power feed to the CHIME Fuse. Refer to Wiring Repairs in Wiring Systems.
  2. Install the CHIME Fuse.

Are the repairs complete?

--

Go to Step 22

--

22

Reconnect all the SIR system components, make sure all the components are properly mounted.

Have all the SIR components been reconnected and properly mounted?

--

Go to SIR Diagnostic System Check

--

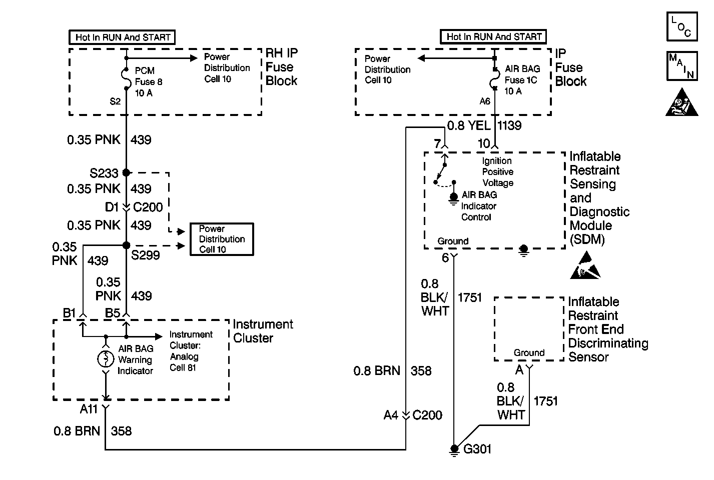
AIR BAG Warning Lamp Does Not Come On Buick w/U23


Object Number: 375166  Size: MF
SIR Components
Cell 47
SIR Handling Caution
Handling ESD Sensitive Parts Notice
Cell 10: IGN SW Fuse (1 of 2)
Cell 10: IGN SW Fuse (1 of 2)
Cell 10: PCM Fuse
Cell 81: IP Fuse Block

Circuit Description

When the ignition switch is first turned to RUN, the PCM Fuse applies battery voltage to the AIR BAG warning lamp that is connected to SIR Indicator, terminal 7. The AIR BAG Fuse applies battery voltage to the Ignition Positive Voltage input, terminal 10. The inflatable restraint sensing and diagnostic module (SDM) responds by flashing the AIR BAG warning lamp seven times.

When measurements are requested in this table, use the J 39200 Digital Multimeter with the correct terminal adapter from the J 35616 Connector Test Adapter Kit. When an inspection for proper connection is requested, refer to Intermittents and Poor Connections Diagnosis . When a wire, connector or terminal repair is requested, use the J-38125 Terminal Repair Kit. Refer to Wiring Repair .

Test Description

The numbers below refer to the step numbers on the diagnostic table:

  1. This test determines whether the malfunction is in the inflatable restraint sensing and diagnostic module (SDM) circuitry or in the instrument cluster power feed circuitry.

  2. This test determines whether voltage is present in the warning lamp circuit.

  3. This test isolates CKT 358 (BRN) and checks for a short in CKT 358 (BRN) to voltage.

  4. This test isolates the short to voltage to one side of connector C200.

  5. This test determines if the malfunction is in connector C200.

  6. This test checks for an open in CKT 358 (BRN) between connector C200 and the SDM.

  7. This test determines if the malfunction is in the instrument cluster connector.

  8. This test isolates an open in the warning lamp circuitry.

  9. This test checks whether power is available to the instrument cluster power feed circuit.

  10. This test checks for a short from the instrument cluster power feed circuit to ground.

  11. This test isolates the short to ground to one side of connector C200.

  12. This test determines whether the short to ground is due to a short in the wiring or internal to the instrument cluster.

  13. This test determines if the malfunction is in the instrument cluster connector.

  14. This test determines whether the malfunction is due to an open power feed circuit from the PCM Fuse.

  15. This test determines if the malfunction is in connector C200.

  16. This test isolates an open power feed circuit from the PCM Fuse.

Step

Action

Value(s)

Yes

No

1

Was the SIR Diagnostic System Check performed?

--

Go to Step 2

Go to SIR Diagnostic System Check

2

Note the instrument cluster while the ignition switch is turned to the RUN position.

Does the SERVICE ENGINE SOON indicator illuminate?

--

Go to Step 3

Go to Step 17

3

  1. Turn the ignition switch to the OFF position.
  2. Disconnect the inflatable restraint steering wheel and IP module yellow 2-way connectors at the base of the steering column and above the RH sound insulator.
  3. Disconnect the inflatable restraint sensing and diagnostic module (SDM) connector.
  4. Install J 38715-96 SIR Shorting Bar Tool to the SDM harness connector.
  5. Install the CPA.
  6. Turn the ignition switch to the RUN position.
  7. Measure the voltage on the SDM harness connector from terminal 7 to ground.

Is the voltage more than the specified value?

10.0 V

Go to Step 4

Go to Step 8

4

  1. Turn the ignition switch to the OFF position.
  2. Disconnect the instrument cluster. Refer to Instrument Cluster Replacement in Instrument Panel, Gauges and Console.
  3. Turn the ignition switch to the RUN position.
  4. Measure the voltage on the SDM harness connector from terminal 7 to ground.

Is the voltage less than the specified value?

1.0 V

Go to Sensing and Diagnostic Module Integrity Check

Go to Step 5

5

  1. Turn the ignition switch to the OFF position.
  2. Disconnect connector C200.
  3. Turn the ignition switch to the RUN position.
  4. Measure the voltage on the instrument cluster harness connector from terminal A11 to ground.

Is the voltage less than the specified value?

1.0 V

Go to Step 7

Go to Step 6

6

  1. Turn the ignition switch to the OFF position.
  2. Repair a short to voltage condition in CKT 358 (BRN) between connector C200 and the SDM. Refer to Wiring Repairs in Wiring Systems.
  3. Reconnect connector C200.
  4. Reconnect the instrument cluster connector.

Are the repairs complete?

--

Go to Step 34

--

7

  1. Turn the ignition switch to the OFF position.
  2. Repair a short to voltage condition in CKT 358 (BRN) between the instrument cluster and connector C200. Refer to Wiring Repairs in Wiring Systems.
  3. Reconnect connector C200.
  4. Reconnect the instrument cluster connector.

Are the repairs complete?

--

Go to Step 34

--

8

  1. Turn the ignition switch to the OFF position.
  2. Disconnect connector C200.
  3. Check for proper connection to the connector C200 at terminal A4.

Is the connector damaged or corroded?

--

Go to Step 9

Go to Step 10

9

  1. Repair connector C200. Refer to Wiring Repairs in Wiring Systems.
  2. Reconnect connector C200.

Are the repairs complete?

Go to Step 34

10

Measure the resistance from connector C200 terminal A4 to the SDM harness connector terminal 7.

Is the resistance less than the specified value?

5 ohms

Go to Step 12

Go to Step 11

11

  1. Repair an open condition in CKT 358 (BRN) between the SDM and connector C200. Refer to Wiring Repairs in Wiring Systems.
  2. Connect connector C200.

Are the repairs complete?

--

Go to Step 34

--

12

  1. Turn the ignition switch to the OFF position.
  2. Remove the instrument cluster. Refer to Instrument Cluster Replacement in Instrument Panel, Gauges and Console.
  3. Check for proper connection to the instrument cluster at terminal A11.

Is the connector damaged or corroded?

--

Go to Step 13

Go to Step 14

13

Repair the instrument cluster harness connector. Refer to Wiring Repairs in Wiring Systems.

Are the repairs complete?

--

Go to Step 34

--

14

Measure the resistance from the instrument cluster harness connector terminal A11 to the connector C200 terminal A4.

Is the resistance less than the specified value?

5 ohms

Go to Step 16

Go to Step 15

15

  1. Repair an open condition in CKT 358 (BRN) between the instrument cluster and connector C200.
  2. Install the instrument cluster. Refer to Instrument Cluster Replacement in Instrument Panel, Gauges and Console.
  3. Reconnect connector C200.

Are the repairs complete?

--

Go to Step 34

--

16

Service the instrument cluster. Refer to Instrument Cluster Replacement in Instrument Cluster, Gauges and Console.

Are the repairs complete?

--

Go to Step 34

--

17

  1. Turn the ignition switch to the OFF position.
  2. Remove the PCM Fuse.
  3. Inspect the fuse.

Is the fuse good?

--

Go to Step 25

Go to Step 18

18

  1. Replace the PCM fuse.
  2. Turn the ignition switch to the RUN position for 10 seconds.
  3. Turn the ignition switch to the OFF position.
  4. Remove the PCM Fuse.
  5. Inspect the fuse.

Is the fuse good?

--

Go to Step 24

Go to Step 19

19

  1. Disconnect the inflatable restraint steering wheel and IP module yellow 2-way connectors at the base of the steering wheel and above the RH sound insulator.
  2. Disconnect the instrument cluster connector. Refer to Instrument Cluster Replacement in Instrument Panel, Gauges and Console.
  3. Disconnect connector C200.
  4. Replace the PCM Fuse.
  5. Turn the ignition switch to the RUN position for 10 seconds.
  6. Turn the ignition switch to the OFF position.
  7. Remove the PCM Fuse.
  8. Inspect the fuse.

Is the fuse good?

--

Go to Step 21

Go to Step 20

20

  1. Repair a short to ground condition in CKT 439 (PNK) before connector C200. Refer to Wiring Repairs in Wiring Systems.
  2. Replace the PCM Fuse.

Are the repairs complete?

--

Go to Step 34

--

21

  1. Connect connector C200.
  2. Install the PCM Fuse.
  3. Turn the ignition switch to the RUN position for 10 seconds.
  4. Turn the ignition switch to the OFF position.
  5. Remove the PCM Fuse.
  6. Inspect the fuse.

Is the fuse good?

--

Go to Step 23

Go to Step 22

22

  1. Repair a short to ground condition in CKT 439 (PNK) between connector C200 and the instrument cluster. Refer to Wiring Repairs in Wiring Systems.
  2. Replace the PCM Fuse.

Are the repairs complete?

--

Go to Step 34

--

23

  1. Service the instrument cluster. Refer to Instrument Cluster Replacement in Instrument Cluster, Gauges and Console.
  2. Install the PCM Fuse.

Are the repairs complete?

--

Go to Step 34

--

24

Install the PCM Fuse.

Are the repairs complete?

--

Go to Step 34

--

25

  1. Disconnect the instrument cluster connector. Refer to Instrument Cluster Replacement in Instrument Panel, Gauges, and Console.
  2. Check for proper connection to the instrument cluster at terminals B1 and B5.

Is the connector damaged or corroded?

--

Go to Step 26

Go to Step 27

26

Repair the instrument cluster harness connector. Refer to Wiring Repairs in Wiring Systems.

Are the repairs complete?

--

Go to Step 34

--

27

Measure the resistance between the instrument cluster harness connector terminal B1 to each terminal of the PCM Fuse fuseholder.

Is either reading less than the specified value?

5 ohms

Go to Step 33

Go to Step 28

28

  1. Disconnect connector C200.
  2. Check for proper connection to the connector C200 at terminal A4.

Is the connector damaged or corroded?

--

Go to Step 29

Go to Step 30

29

  1. Repair connector C200. Refer to Wiring Repairs in Wiring Systems.
  2. Reconnect connector C200.
  3. Install the PCM Fuse.

Are the repairs complete?

--

Go to Step 34

--

30

Measure the resistance from connector C200 terminal D1 to the instrument cluster harness connector terminal B1.

Is the resistance less than the specified value?

5 ohms

Go to Step 32

Go to Step 31

31

  1. Repair an open condition in CKT 439 (PNK) between the splice S299 and the connector C200. Refer to Wiring Repairs in Wiring Systems.
  2. Connect connector C200.
  3. Install the PCM Fuse.

Are the repairs complete?

--

Go to Step 34

--

32

  1. Repair an open condition in CKT 439 (PNK) between the splice S233 and the PCM Fuse fuseholder.
  2. Connect connector C200.
  3. Install the PCM Fuse.

Are the repairs complete?

--

Go to Step 34

--

33

  1. Repair an open condition in the power feed to the PCM Fuse. Refer to Wiring Repairs in Wiring Systems.
  2. Install the PCM Fuse.

Are the repairs complete?

--

Go to Step 34

--

34

Reconnect all the SIR system components, make sure all the components are properly mounted.

Have all the SIR components been reconnected and properly mounted?

--

Go to SIR Diagnostic System Check

--

AIR BAG Warning Lamp Does Not Come On Oldsmobile


Object Number: 375165  Size: MF
SIR Components
Cell 47
SIR Handling Caution
Handling ESD Sensitive Parts Notice
Cell 10: IGN SW Fuse (1 of 2)
Cell 10: IGN SW Fuse (1 of 2)
Cell 10: PCM Fuse
Cell 81: Oldsmobile with UH8

Circuit Description

When the ignition switch is first turned to RUN, the PCM Fuse applies battery voltage to the AIR BAG warning lamp that is connected to SIR Indicator, terminal 7. The AIR BAG Fuse applies battery voltage to the Ignition Positive Voltage input, terminal 10. The inflatable restraint sensing and diagnostic module (SDM) responds by flashing the AIR BAG warning lamp seven times.

When measurements are requested in this table, use the J 39200 Digital Multimeter with the correct terminal adapter from the J 35616 Connector Test Adapter Kit. When an inspection for proper connection is requested, refer to Intermittents and Poor Connections Diagnosis . When a wire, connector or terminal repair is requested, use the J-38125 Terminal Repair Kit. Refer to Wiring Repair .

Test Description

The numbers below refer to the step numbers on the diagnostic table:

  1. This test determines whether the malfunction is in the inflatable restraint sensing and diagnostic module (SDM) circuitry or in the remote indicator bank power feed circuitry.

  2. This test determines whether voltage is present in the warning lamp circuit.

  3. This test isolates CKT 358 (BRN) and checks for a short in CKT 358 (BRN) to voltage.

  4. This test determines if the malfunction is in the instrument cluster connector.

  5. This test isolates an open in the warning lamp circuitry.

  6. This test checks whether power is available to the remote indicator bank power feed circuit.

  7. This test checks for a short from the remote indicator bank power feed circuit to ground.

  8. This test determines whether the short to ground is due to a short in the wiring or internal to the remote indicator bank.

  9. This test determines if the malfunction is in the remote indicator bank connector.

  10. This test determines whether the malfunction is due to an open power feed circuit from the PCM Fuse.

Step

Action

Value(s)

Yes

No

1

Was the SIR Diagnostic System Check performed?

--

Go to Step 2

Go to SIR Diagnostic System Check

2

Note the remote indicator bank while the ignition switch is turned to the RUN position.

Does the SERVICE ENGINE SOON indicator illuminate?

--

Go to Step 3

Go to Step 11

3

  1. Turn the ignition switch to the OFF position.
  2. Disconnect the inflatable restraint steering wheel and IP module yellow 2-way connectors at the base of the steering column and above the RH sound insulator.
  3. Disconnect the inflatable restraint sensing and diagnostic module (SDM).
  4. Install J 38715-96 SIR Shorting Bar Tool to the SDM harness connector.
  5. Install the CPA.
  6. Turn the ignition switch to the RUN position.
  7. Measure the voltage on the SDM harness connector from terminal 7 to ground.

Is the voltage more than the specified value?

10.0 V

Go to Step 4

Go to Step 6

4

  1. Turn the ignition switch to the OFF position.
  2. Disconnect the instrument cluster connector. Refer to Instrument Cluster Replacement in Instrument Panel, Gauges and Console.
  3. Turn the ignition switch to the RUN position.
  4. Measure the voltage on the SDM harness connector from terminal 7 to ground.

Is the voltage less than the specified value?

1.0 V

Go to Sensing and Diagnostic Module Integrity Check

Go to Step 5

5

  1. Turn the ignition switch to the OFF position.
  2. Repair a short to voltage condition in CKT 358 (BRN). Refer to Wiring Repairs in Wiring Systems.
  3. Reconnect the instrument cluster connector.

Are the repairs complete?

--

Go to Step 22

--

6

  1. Turn the ignition switch to the OFF position.
  2. Remove the instrument cluster. Refer to Instrument Cluster Replacement in Instrument Panel, Gauges and Console.
  3. Check for proper connection to the instrument cluster at connector C1, terminal D9 and connector C2, terminal F16 and F5.

Is the connector damaged or corroded?

--

Go to Step 7

Go to Step 8

7

Repair the instrument cluster harness connector. Refer to Wiring Repairs in Wiring Systems.

Are the repairs complete?

--

Go to Step 22

--

8

Measure the resistance from the instrument cluster harness connector C1, terminal D7 to the SDM harness connector terminal 7.

Is the resistance less than the specified value?

5 ohms

Go to Step 10

Go to Step 9

9

  1. Repair an open condition in CKT 358 (BRN). Refer to Wiring Repairs in Wiring Systems
  2. Install the remote indicator bank.

Are the repairs complete?

--

Go to Step 22

--

10

Service the instrument cluster. Refer to Instrument Cluster Replacement in Instrument Panel, Gauges and Console.

Are the repairs complete?

--

Go to Step 22

--

11

  1. Turn the ignition switch to the OFF position.
  2. Remove the PCM Fuse.
  3. Inspect the fuse.

Is the fuse good?

--

Go to Step 17

Go to Step 12

12

  1. Replace the fuse.
  2. Turn the ignition switch to the RUN position for 10 seconds.
  3. Turn the ignition switch to the OFF position.
  4. Remove the PCM Fuse.
  5. Inspect the fuse.

Is the fuse good?

--

Go to Step 16

Go to Step 13

13

  1. Disconnect the inflatable restraint steering wheel and IP module yellow 2-way connectors at the base of the steering wheel and above the RH sound insulator.
  2. Disconnect the remote indicator bank connector. Refer to Instrument Cluster Replacement in Instrument Panel, Gauges and Console.
  3. Replace the PCM Fuse.
  4. Turn the ignition switch to the RUN position for 10 seconds.
  5. Turn the ignition switch to the OFF position.
  6. Remove the PCM Fuse.
  7. Inspect the fuse.

Is the fuse good?

--

Go to Step 15

Go to Step 14

14

  1. Repair a short to ground condition in CKT 439 (PNK).
  2. Replace the PCM Fuse in the IP fuse block.

Are the repairs complete?

--

Go to Step 22

--

15

  1. Service the instrument cluster. Refer to Instrument Cluster Replacement in Instrument Panel, Gauges and Console.
  2. Install the PCM Fuse.

Are the repairs complete?

--

Go to Step 22

--

16

Install the PCM Fuse.

Are the repairs complete?

--

Go to Step 22

--

17

  1. Disconnect the instrument cluster connector. Refer to Instrument Cluster Replacement in Instrument Panel, Gauges, and Console.
  2. Check for proper connection to the instrument cluster at connector C1, terminal D9 and connector C2, terminals F16 and F5.

Is the connector damaged or corroded?

--

Go to Step 18

Go to Step 19

18

Repair the instrument cluster harness connector. Refer to Wiring Repairs in Wiring Systems.

Are the repairs complete?

--

Go to Step 22

--

19

Measure the resistance between the instrument cluster connector C1, terminal D9 and connector C2, terminals F16 and F5 to each terminal of the CHIME Fuse fuseholder.

Is either reading less than the specified value?

5 ohms

Go to Step 21

Go to Step 20

20

  1. Repair an open condition in CKT 439 (PNK). Refer to Wiring Repairs in Wiring Systems.
  2. Install the PCM Fuse.

Are the repairs complete?

--

Go to Step 22

--

21

  1. Repair an open condition in the power feed to the PCM Fuse. Refer to Wiring Repairs in Wiring Systems.
  2. Install the PCM Fuse.

Are the repairs complete?

--

Go to Step 22

--

22

Reconnect all the SIR system components, make sure all the components are properly mounted.

Have all the SIR components been reconnected and properly mounted?

--

Go to SIR Diagnostic System Check

--

AIR BAG Warning Lamp Does Not Come On Pontiac


Object Number: 375167  Size: MF
SIR Components
Cell 47
SIR Handling Caution
Handling ESD Sensitive Parts Notice
Cell 10: IGN SW Fuse (1 of 2)
Cell 10: IGN SW Fuse (1 of 2)
Cell 10: PCM Fuse
Cell 81: Brake Indicator
Cell 81: Brake Indicator

Circuit Description

When the ignition switch is first turned to RUN, the PCM Fuse applies battery voltage to the AIR BAG warning lamp that is connected to SIR Indicator, terminal 7. The AIR BAG Fuse applies battery voltage to the Ignition Positive Voltage input, terminal 10. The inflatable restraint sensing and diagnostic module (SDM) responds by flashing the AIR BAG warning lamp seven times.

When measurements are requested in this table, use the J 39200 Digital Multimeter with the correct terminal adapter from the J 35616 Connector Test Adapter Kit. When an inspection for proper connection is requested, refer to Intermittents and Poor Connections Diagnosis . When a wire, connector or terminal repair is requested, use the J-38125 Terminal Repair Kit. Refer to Wiring Repair .

Test Description

The numbers below refer to the step numbers on the diagnostic table:

  1. This test determines whether the malfunction is in the inflatable restraint sensing and diagnostic module (SDM) circuitry or in the instrument cluster power feed circuitry.

  2. This test determines whether voltage is present in the warning lamp circuit.

  3. This test isolates CKT 358 (BRN) and checks for a short in CKT 358 (BRN) to voltage.

  4. This test isolates the short to voltage to one side of connector C200.

  5. This test determines if the malfunction is in connector C200.

  6. This test checks for an open in CKT 358 (BRN) between connector C200 and the SDM.

  7. This test determines if the malfunction is in the instrument cluster connector.

  8. This test isolates an open in the warning lamp circuitry.

  9. This test checks whether power is available to the instrument cluster power feed circuit.

  10. This test checks for a short from the instrument cluster power feed circuit to ground.

  11. This test isolates the short to ground to one side of connector C200.

  12. This test determines whether the short to ground is due to a short in the wiring or internal to the instrument cluster.

  13. This test determines if the malfunction is in the instrument cluster connector.

  14. This test determines whether the malfunction is due to an open power feed circuit from the PCM Fuse.

  15. This test determines if the malfunction is in connector C200.

  16. This test isolates an open power feed circuit from the PCM Fuse.

Step

Action

Value(s)

Yes

No

1

Was the SIR Diagnostic System Check performed?

--

Go to Step 2

Go to SIR Diagnostic System Check

2

Note the instrument cluster while the ignition switch is turned to the RUN position.

Does the SERVICE ENGINE SOON indicator illuminate?

--

Go to Step 3

Go to Step 17

3

  1. Turn the ignition switch to the OFF position.
  2. Disconnect the inflatable restraint steering wheel and IP module yellow 2-way connectors at the base of the steering column and above the RH sound insulator.
  3. Disconnect the inflatable restraint sensing and diagnostic module (SDM) connector.
  4. Install J 38715-96 SIR Shorting Bar Tool to the SDM harness connector.
  5. Install the CPA.
  6. Turn the ignition switch to the RUN position.
  7. Measure the voltage on the SDM harness connector from terminal 7 to ground.

Is the voltage more than the specified value?

10.0 V

Go to Step 4

Go to Step 8

4

  1. Turn the ignition switch to the OFF position.
  2. Disconnect the instrument cluster. Refer to Instrument Cluster Replacement in Instrument Panel, Gauges and Console.
  3. Turn the ignition switch to the RUN position.
  4. Measure the voltage on the SDM harness connector from terminal 7 to ground.

Is the voltage less than the specified value?

1.0 V

Go to Sensing and Diagnostic Module Integrity Check

Go to Step 5

5

  1. Turn the ignition switch to the OFF position.
  2. Disconnect connector C200.
  3. Turn the ignition switch to the RUN position.
  4. Measure the voltage on the instrument cluster harness connector from terminal B12 (UB3) or A6 (U2F/U50) to ground.

Is the voltage less than the specified value?

1.0 V

Go to Step 7

Go to Step 6

6

  1. Turn the ignition switch to the OFF position.
  2. Repair a short to voltage condition in CKT 358 (BRN) between connector C200 and the SDM. Refer to Wiring Repairs in Wiring Systems.
  3. Reconnect connector C200.
  4. Reconnect the instrument cluster connector.

Are the repairs complete?

--

Go to Step 34

--

7

  1. Turn the ignition switch to the OFF position.
  2. Repair a short to voltage condition in CKT 358 (BRN) between the instrument cluster and connector C200. Refer to Wiring Repairs in Wiring Systems.
  3. Reconnect connector C200.
  4. Reconnect the instrument cluster connector.

Are the repairs complete?

--

Go to Step 34

--

8

  1. Turn the ignition switch to the OFF position.
  2. Disconnect connector C200.
  3. Check for proper connection to the connector C200 at terminal A4.

Is the connector damaged or corroded?

--

Go to Step 9

Go to Step 10

9

  1. Repair connector C200. Refer to Wiring Repairs in Wiring Systems.
  2. Reconnect connector C200.

Are the repairs complete?

--

Go to Step 34

--

10

Measure the resistance from connector C200 terminal A4 to the SDM harness connector terminal 7.

Is the resistance less than the specified value?

5 ohms

Go to Step 12

Go to Step 11

11

  1. Repair an open condition in CKT 358 (BRN) between the SDM and connector C200. Refer to Wiring Repairs in Wiring Systems.
  2. Connect connector C200.

Are the repairs complete?

--

Go to Step 34

--

12

  1. Turn the ignition switch to the OFF position.
  2. Remove the instrument cluster. Refer to Instrument Cluster Replacement in Instrument Panel, Gauges and Console.
  3. Check for proper connection to the instrument cluster at terminal B12 (UB3) or A6 (U2F/U50).

Is the connector damaged or corroded?

--

Go to Step 13

Go to Step 14

13

Repair the instrument cluster harness connector. Refer to Wiring Repairs in Wiring Systems.

Are the repairs complete?

--

Go to Step 34

--

14

Measure the resistance from the instrument cluster harness connector terminal B12 (UB3) or A6 (U2F/U50) to the connector C200 terminal A4.

Is the resistance less than the specified value?

5 ohms

Go to Step 16

Go to Step 15

15

  1. Repair an open condition in CKT 358 (BRN) between the instrument cluster and connector C200.
  2. Install the instrument cluster connector.
  3. Reconnect connector C200.

Are the repairs complete?

--

Go to Step 34

--

16

Service the instrument cluster. Refer to Instrument Cluster Replacement in Instrument Cluster, Gauges and Console.

Are the repairs complete?

--

Go to Step 34

--

17

  1. Turn the ignition switch to the OFF position.
  2. Remove the PCM Fuse.
  3. Inspect the fuse.

Is the fuse good?

--

Go to Step 25

Go to Step 18

18

  1. Replace the PCM fuse.
  2. Turn the ignition switch to the RUN position for 10 seconds.
  3. Turn the ignition switch to the OFF position.
  4. Remove the PCM Fuse.
  5. Inspect the fuse.

Is the fuse good?

--

Go to Step 24

Go to Step 19

19

  1. Disconnect the inflatable restraint steering wheel and IP module yellow 2-way connectors at the base of the steering wheel and above the RH sound insulator.
  2. Disconnect the instrument cluster connector. Refer to Instrument Cluster Replacement in Instrument Panel, Gauges and Console.
  3. Disconnect connector C200.
  4. Replace the PCM Fuse.
  5. Turn the ignition switch to the RUN position for 10 seconds.
  6. Turn the ignition switch to the OFF position.
  7. Remove the PCM Fuse.
  8. Inspect the fuse.

Is the fuse good?

--

Go to Step 21

Go to Step 20

20

  1. Repair a short to ground condition in CKT 439 (PNK) before connector C200. Refer to Wiring Repairs in Wiring Systems.
  2. Replace the PCM Fuse.

Are the repairs complete?

--

Go to Step 34

--

21

  1. Connect connector C200.
  2. Install the PCM Fuse.
  3. Turn the ignition switch to the RUN position for 10 seconds.
  4. Turn the ignition switch to the OFF position.
  5. Remove the PCM Fuse.
  6. Inspect the fuse.

Is the fuse good?

--

Go to Step 23

Go to Step 22

22

  1. Repair a short to ground condition in CKT 439 (PNK) between connector C200 and the instrument cluster. Refer to Wiring Repairs in Wiring Systems.
  2. Replace the PCM Fuse.

Are the repairs complete?

--

Go to Step 34

--

23

  1. Service the instrument cluster. Refer to Instrument Cluster Replacement in Instrument Cluster, Gauges and Console.
  2. Install the PCM Fuse.

Are the repairs complete?

--

Go to Step 34

--

24

Install the PCM Fuse.

Are the repairs complete?

--

Go to Step 34

--

25

  1. Disconnect the instrument cluster connector. Refer to Instrument Cluster Replacement in Instrument Panel, Gauges, and Console.
  2. Check for proper connection to the instrument cluster at terminals A6 and B2 (UB3) or terminal A7 (U2F/U50).

Is the connector damaged or corroded?

--

Go to Step 26

Go to Step 27

26

Repair the instrument cluster harness connector. Refer to Wiring Repairs in Wiring Systems.

Are the repairs complete?

--

Go to Step 34

--

27

Measure the resistance between the instrument cluster harness connector terminal A6 and B2 (UB3) or A7 (U2F/U50) to each terminal of the PCM Fuse fuseholder.

Is either reading less than the specified value?

5 ohms

Go to Step 33

Go to Step 28

28

  1. Disconnect connector C200.
  2. Check for proper connection to the connector C200 at terminal A4.

Is the connector damaged or corroded?

--

Go to Step 29

Go to Step 30

29

  1. Repair connector C200. Refer to Wiring Repairs in Wiring Systems.
  2. Reconnect connector C200.
  3. Install the PCM Fuse.

Are the repairs complete?

--

Go to Step 34

--

30

Measure the resistance from connector C200 terminal D1 to the instrument cluster harness connector terminal A6 (UB3) or A7 (U2F/U50).

Is the resistance less than the specified value?

5 ohms

Go to Step 32

Go to Step 31

31

  1. Repair an open condition in CKT 439 (PNK) between the splice S258 and the connector C200. Refer to Wiring Repairs in Wiring Systems.
  2. Connect connector C200.
  3. Install the PCM Fuse.

Are the repairs complete?

--

Go to Step 34

--

32

  1. Repair an open condition in CKT 439 (PNK) between the splice S233 and the PCM Fuse fuseholder.
  2. Connect connector C200.
  3. Install the PCM Fuse.

Are the repairs complete?

--

Go to Step 34

--

33

  1. Repair an open condition in the power feed to the PCM Fuse. Refer to Wiring Repairs in Wiring Systems.
  2. Install the PCM Fuse.

Are the repairs complete?

--

Go to Step 34

--

34

Reconnect all the SIR system components, make sure all the components are properly mounted.

Have all the SIR components been reconnected and properly mounted?

--

Go to SIR Diagnostic System Check

--