GM Service Manual Online
For 1990-2009 cars only
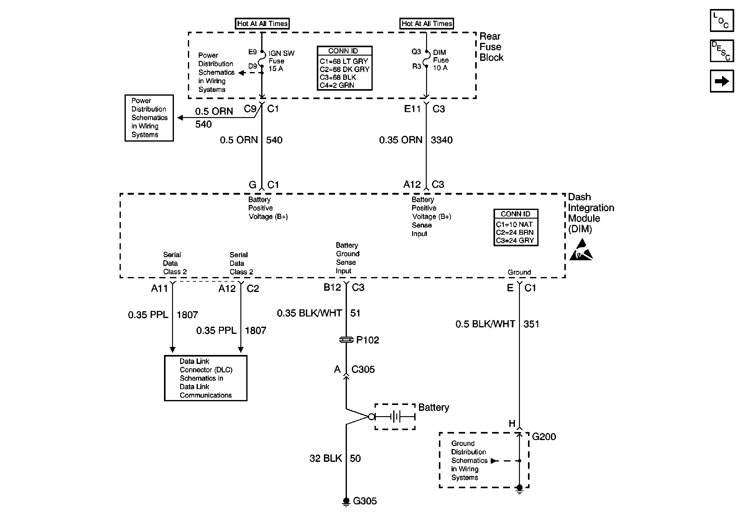
Figure 1:

DIM Power and Grounds


Object Number: 474363  Size: FS
PARK and REVERSE Relay, NSBU and IGN SW Fuses (Rear Fuse Block)
PARK and REVERSE Relay, NSBU and IGN SW Fuses (Rear Fuse Block)
Serial Data Class 2
G200 (1 of 3)
Handling ESD Sensitive Parts Notice
Body Control Module Components
Body Control System Circuit Description
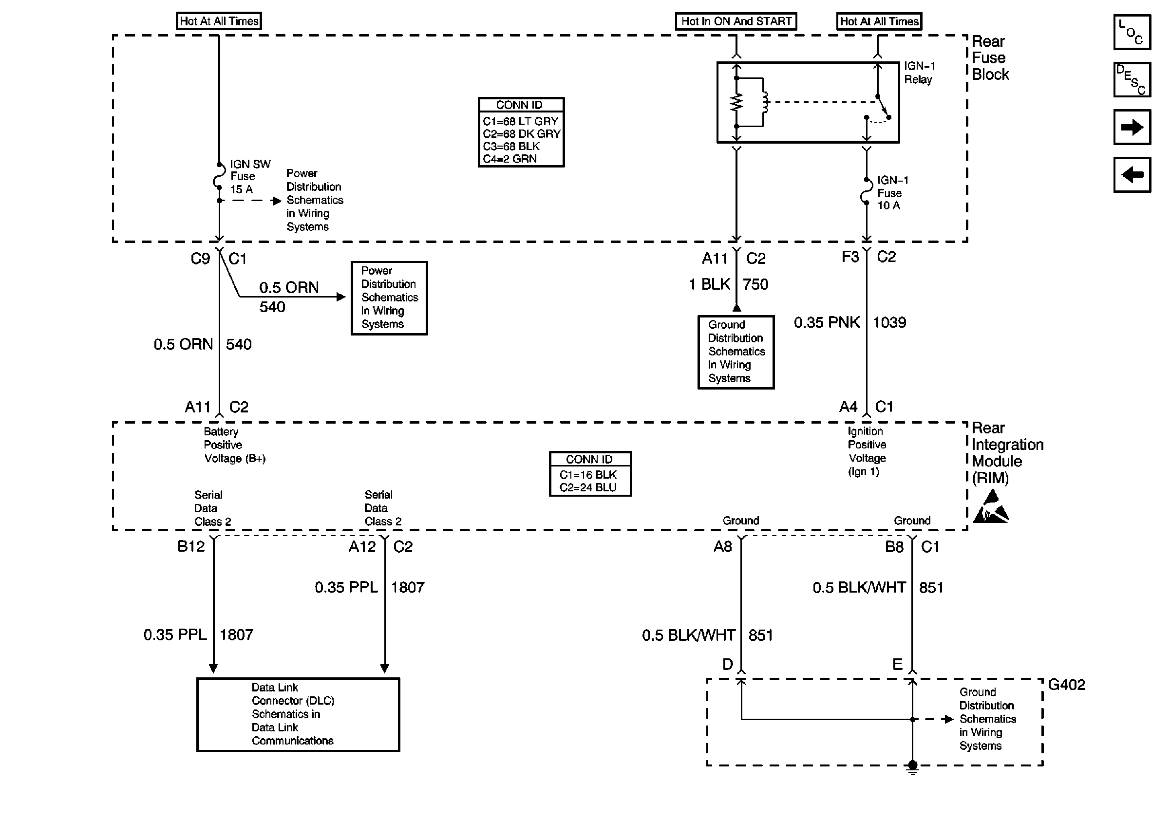
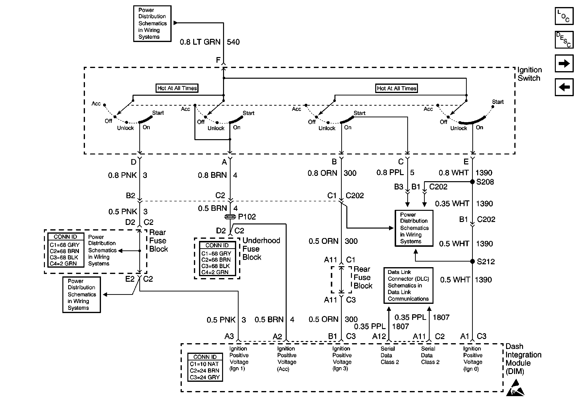
DIM Ignition Inputs
Figure 2:

DIM Ignition Inputs


Object Number: 574614  Size: FS
PARK and REVERSE Relay, NSBU and IGN SW Fuses (Rear Fuse Block)
Ignition Switch (2 of 2)
Ignition Switch (2 of 2)
Handling ESD Sensitive Parts Notice
Ignition Switch (1 of 2)
Serial Data Class 2
Body Control Module Components
Body Control System Circuit Description
DIM Input/Output (1 of 2)
DIM Power and Grounds
Figure 3:

DIM Input/Output (1 of 2)


Object Number: 474374  Size: FS
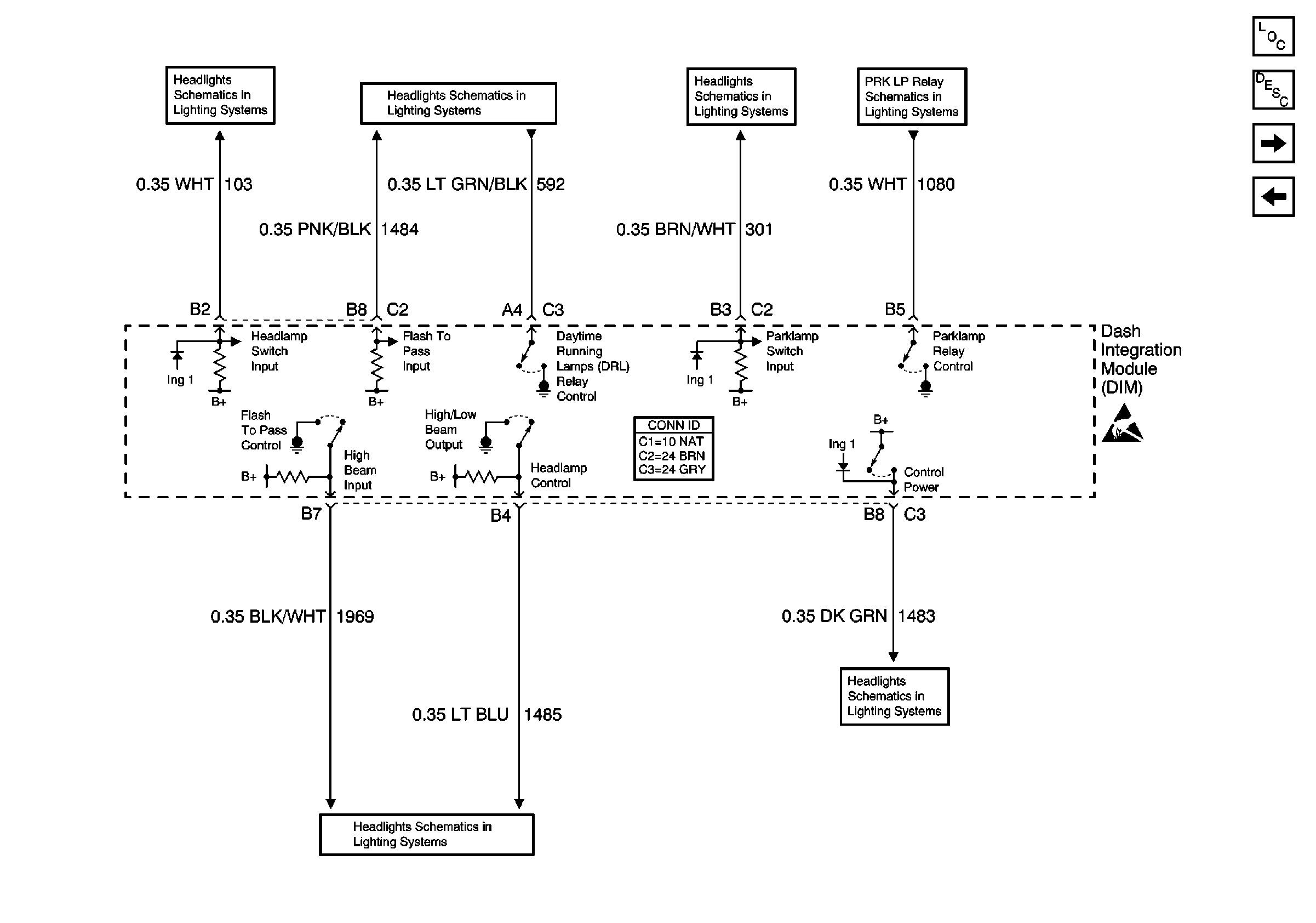
Headlamp Switch, Ambient Light Sensor (CJ2)
DRL, High Beam Headlamps, Dimmer Switch
Headlamp Switch, Ambient Light Sensor (CJ2)
Park Lamp Relay
DRL, High Beam Headlamps, Dimmer Switch
Low Beam Headlamps
Handling ESD Sensitive Parts Notice
Body Control Module Components
Body Control System Circuit Description
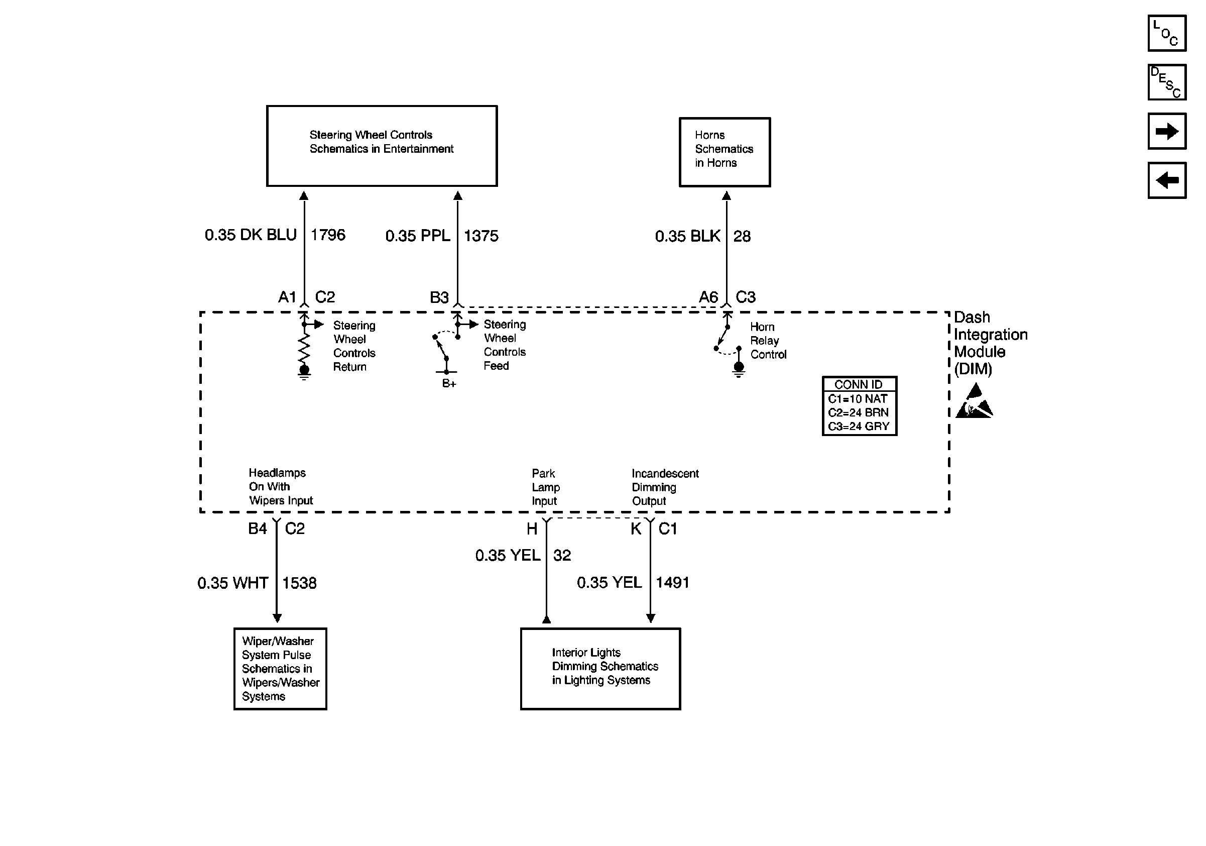
DIM Input/Output (2 of 2)
DIM Ignition Inputs
Figure 4:

DIM Input/Output (2 of 2)


Object Number: 565243  Size: FS
220 Cell 152 Steering Wheel Controls
Horns
Wiper Washer Switch and Fuse
Dimmer Control
Handling ESD Sensitive Parts Notice
Body Control Module Components
Body Control System Circuit Description
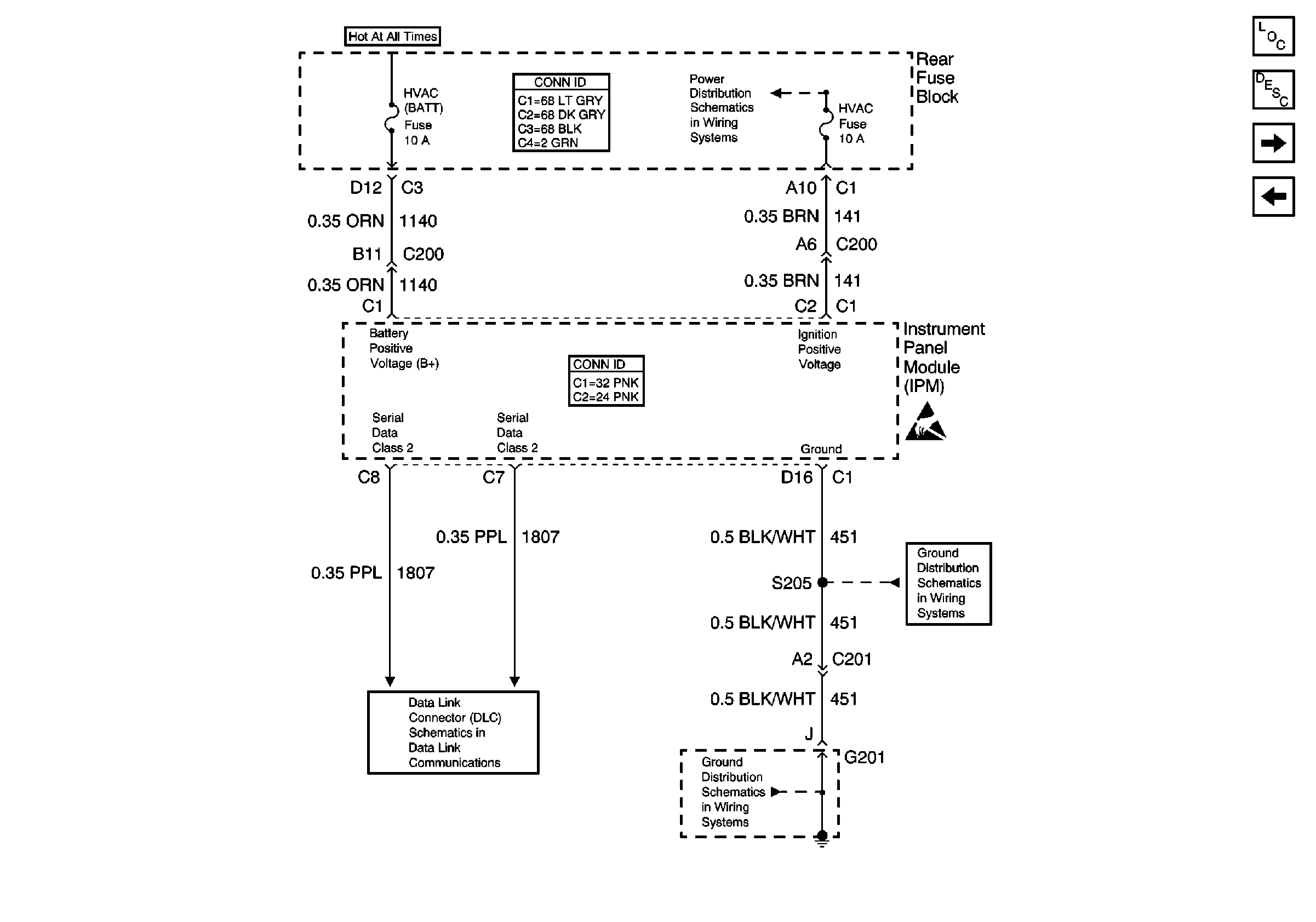
IPM Power and Grounds
DIM Input/Output (1 of 2)
Figure 5:

IPM Power and Grounds


Object Number: 474380  Size: FS
HVAC Fuse (Rear Fuse Block)
Serial Data Class 2
G201
G201
Handling ESD Sensitive Parts Notice
Body Control Module Components
Body Control System Circuit Description
IPM Input/Output (1 of 2)
DIM Input/Output (2 of 2)
Figure 6:

IPM Input/Output (1 of 2)


Object Number: 474433  Size: FS
Dimmer Control
Headlamp Switch, Ambient Light Sensor (CJ2)
Dimmer Control
Headlamp Switch, Ambient Light Sensor (CJ2)
Indicators and Traction Control Switch
Handling ESD Sensitive Parts Notice
Heater AC Control W/CJ2
Headlamp Switch, Ambient Light Sensor (CJ2)
Radio Output, Door, Ignition Switch
Body Control Module Components
Body Control System Circuit Description
IPM Input/Output (2 of 2)
IPM Power and Grounds
Figure 7:

IPM Input/Output (2 of 2)


Object Number: 474383  Size: FS
Air Delivery W/CJ2
Temperature Sensors W/CJ2
Blower Control W/CJ2
Handling ESD Sensitive Parts Notice
Body Control Module Components
Body Control System Circuit Description
RIM Power and Grounds
IPM Input/Output (1 of 2)
Figure 8:

RIM Power and Grounds


Object Number: 474435  Size: FS
PARK and REVERSE Relay, NSBU and IGN SW Fuses (Rear Fuse Block)
PARK and REVERSE Relay, NSBU and IGN SW Fuses (Rear Fuse Block)
G302
Serial Data Class 2
G402
Handling ESD Sensitive Parts Notice
Body Control Module Components
Body Control System Circuit Description
RIM Input/Output (1 of 2)
IPM Input/Output (2 of 2)
Figure 9:

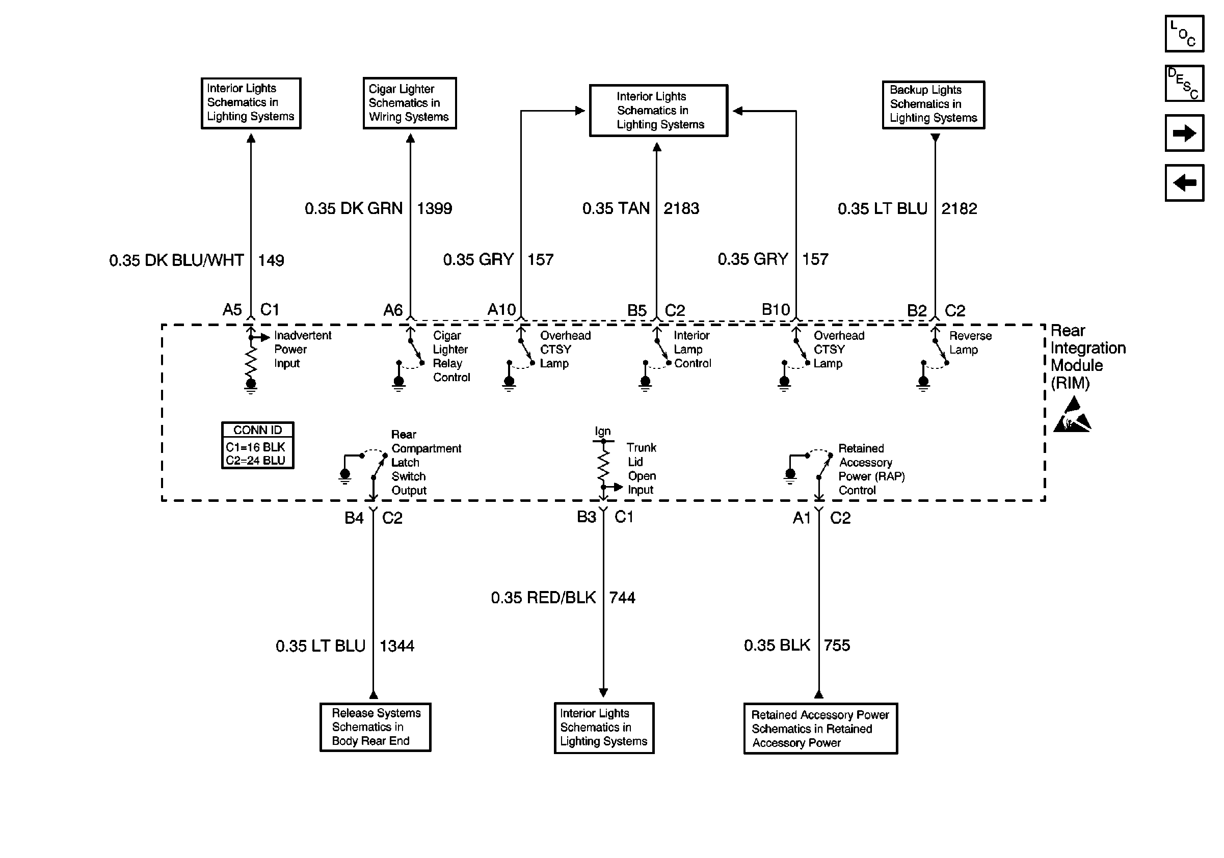
RIM Input/Output (1 of 2)


Object Number: 474440  Size: FS
Interior Lamp Relay
Cigar Lighter/Auxiliary Outlets Schematics
LH Courtesy Lamps
Backup Lamps
Rear Compartment Lid Release
LH Courtesy Lamps
Power, Ground, and Components
Handling ESD Sensitive Parts Notice
Body Control Module Components
Body Control System Circuit Description
RIM Input/Output (2 of 2)
RIM Power and Grounds
Figure 10:

RIM Input/Output (2 of 2)


Object Number: 474444  Size: FS
Front Heated Seats (Partial)
Rear Window Defogger
Handling ESD Sensitive Parts Notice
Automatic Level Control Suspension Schematics
Auto Trans Shift Lock Control Solenoid: Class 2
Body Control Module Components
Body Control System Circuit Description
RIM Input/Output (1 of 2)