GM Service Manual Online
For 1990-2009 cars only
Makes
🢒
Buick
🢒
2001
🢒
LeSabre
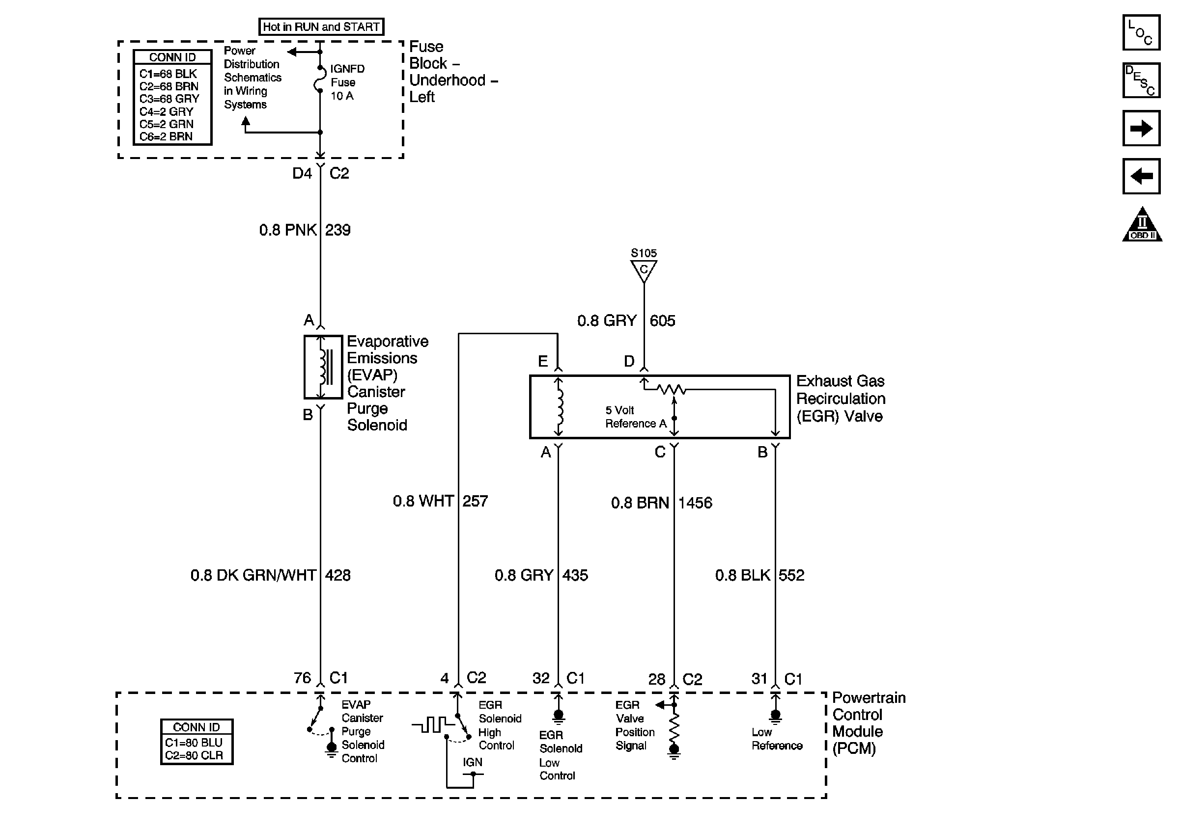
🢒 EGR and EVAP Purge Valve
EGR and EVAP Purge Valve
EGR and EVAP Purge Valve
Master Electrical Component List
Exhaust Gas Recirculation (EGR) System Description
EBCM, Generator and Engine Oil Level Switch
Cruise Control Module and VSS Control
OBD II Symbol Description Notice
Underhood Fuse Block- AIR SOL, C3I and IGNFD Fuse
Sensors