GM Service Manual Online
For 1990-2009 cars only
Makes
🢒
Buick
🢒
2001
🢒
LeSabre
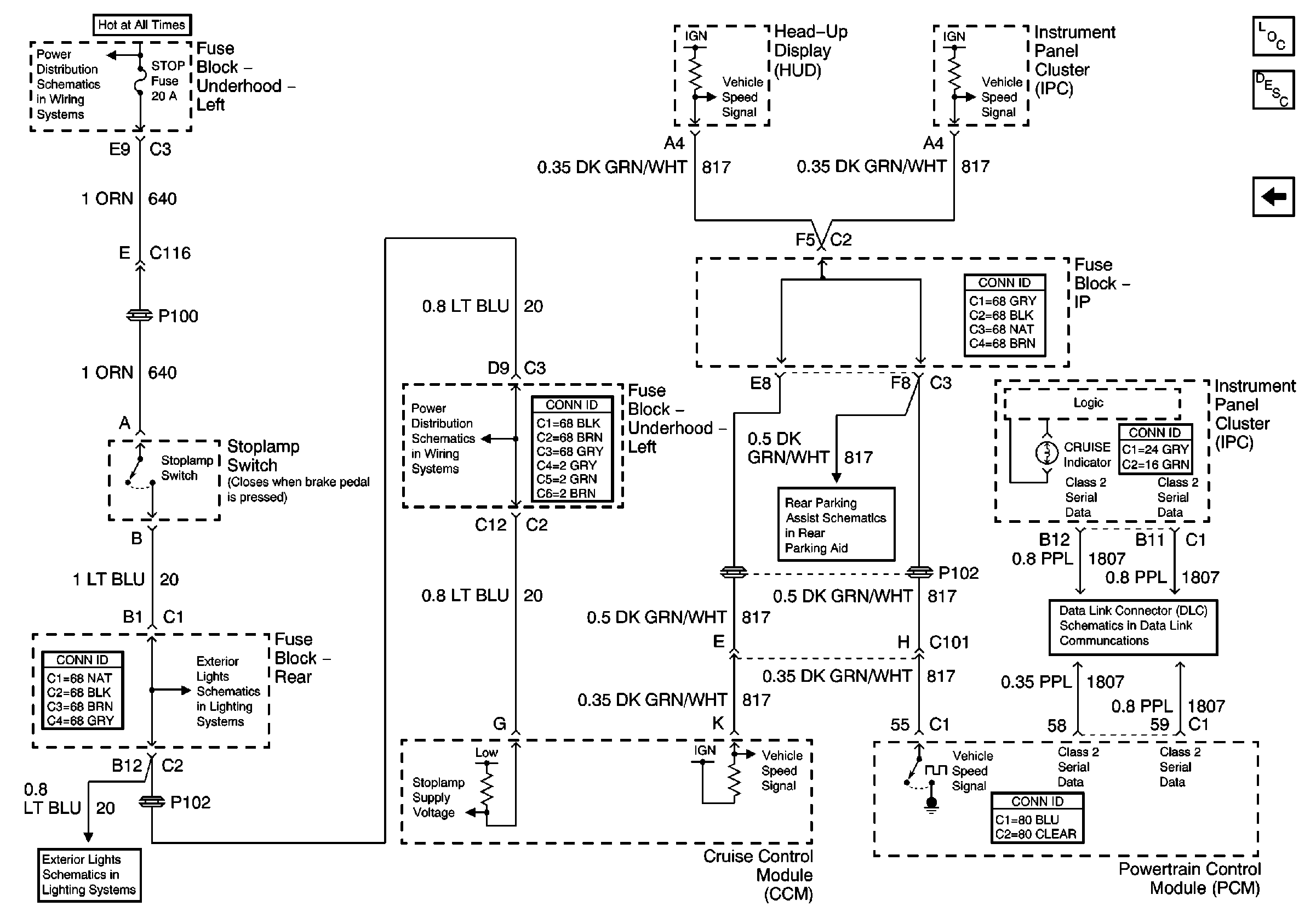
🢒 Stoplamp Switch
Stoplamp Switch
Stoplamp Switch
Master Electrical Component List
Cruise Control Description and Operation
ABS/TCC Switch
Underhood Fuse Block and Underhood Maxi-Fuse Block
Underhood Fuse Block- BLO MOT, COOL FAN 2, HORN, and STOP Fuses
Stop Lamps
Stop Lamps
Power and Ground
Class 2 Serial Data Line