GM Service Manual Online
For 1990-2009 cars only
Makes
🢒
Buick
🢒
2001
🢒
LeSabre
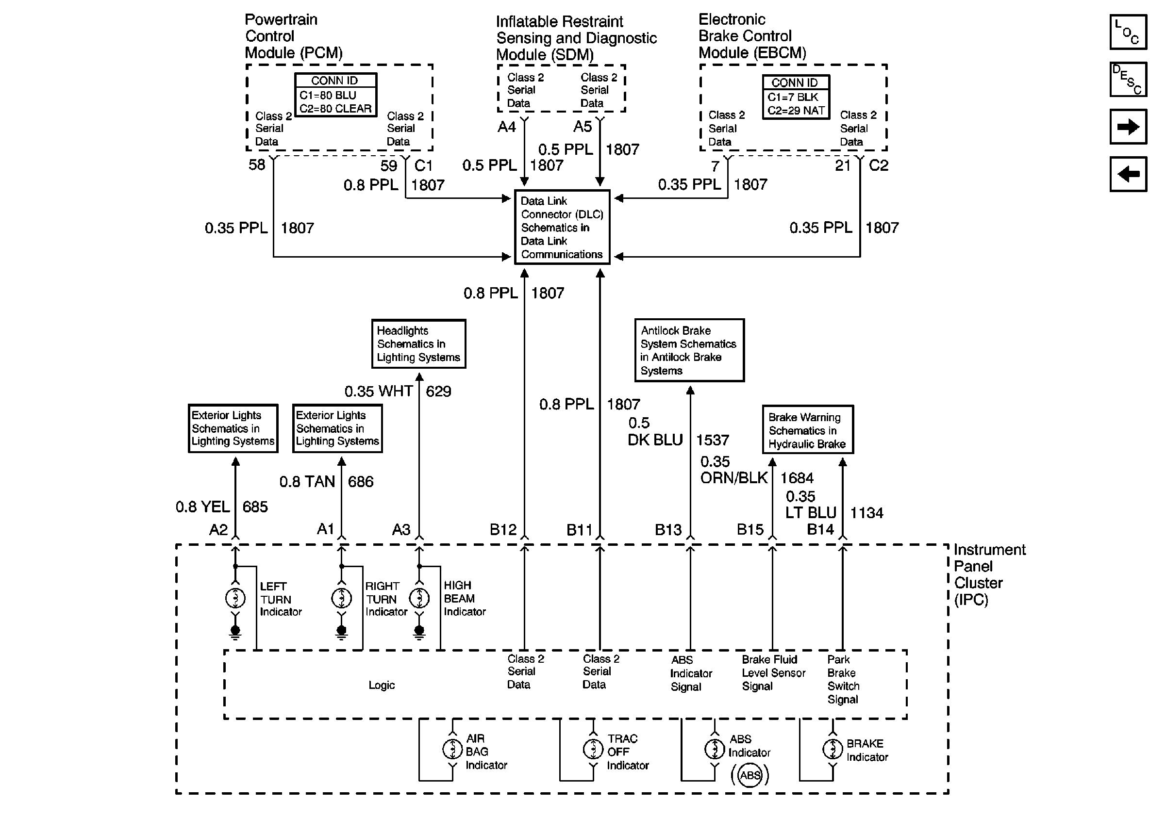
🢒 Air Bag, Brake, High Beam, Lamp and Turn Signal Indicators
Air Bag, Brake, High Beam, Lamp and Turn Signal Indicators
Air Bag, Brake, High Beam, Lamp, and Turn Signal Indicators
Master Electrical Component List
Indicator/Warning Message Description and Operation
Driver Information Center
Cruise, Fuel, Oil and Volt Indicators
Class 2 Serial Data Line
LH Turn Lamps
RH Turn Lamps
Headlamp Dimmer, Park Gear Input, and High Beam Indicator
Indicators and Stoplamp Switch
Brake Warning System Schematics