GM Service Manual Online
For 1990-2009 cars only
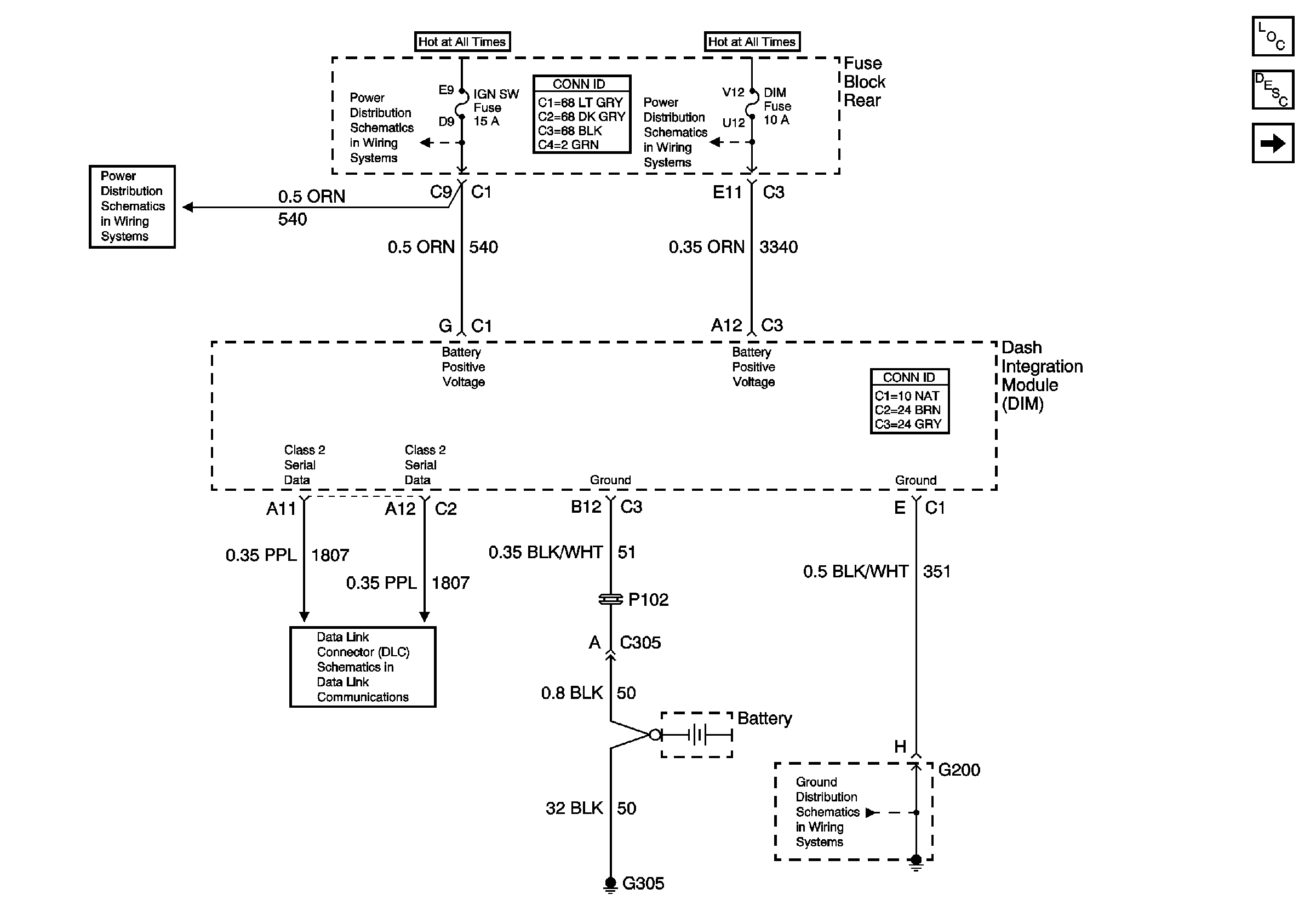
Figure 1:

DIM Power and Grounds


Object Number: 665711  Size: FS
Master Electrical Component List
DIM Ignition Inputs
G200 (1 of 2)
Serial Data Class 2
IGN SW and NSBU Fuses (Fuse Block Rear)
IGN SW and NSBU Fuses (Fuse Block Rear)
HTDST RF, HTDST LF, DIM, and MEM Fuses (Fuse Block Rear)
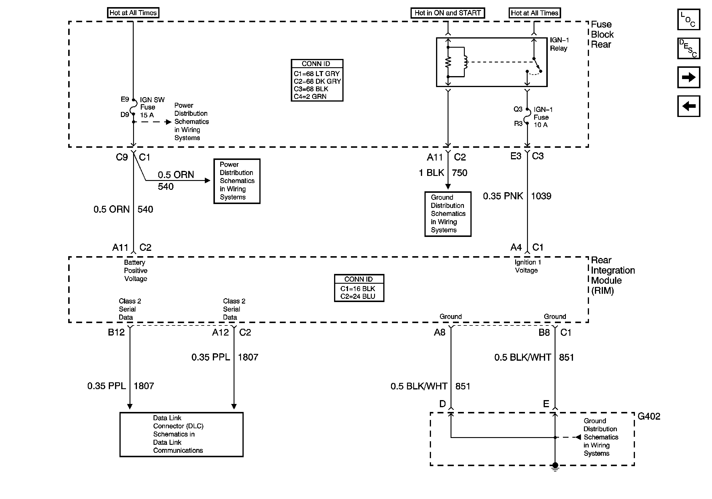
Figure 2:

DIM Ignition Inputs


Object Number: 665713  Size: FS
Master Electrical Component List
DIM Input/Output (1 of 2)
DIM Power and Grounds
Ignition Switch (2 of 2)
Serial Data Class 2
Ignition Switch (2 of 2)
Ignition Switch (2 of 2)
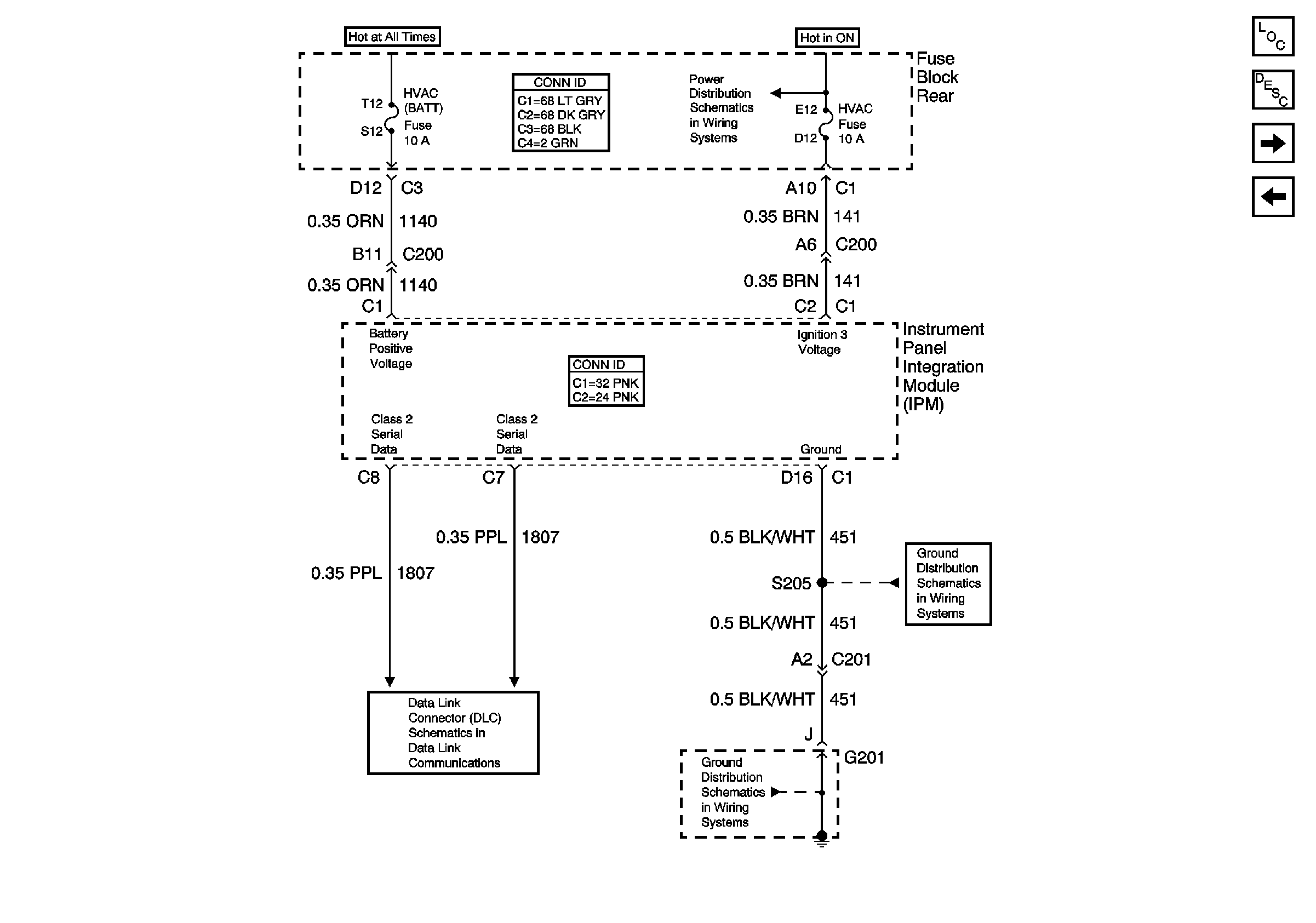
Figure 3:

DIM Input/Output (1 of 2)


Object Number: 665715  Size: FS
Master Electrical Component List
DIM Input/Output (2 of 2)
DIM Ignition Inputs
Low Beam Headlamps
DRL, High Beam Headlamps and Dimmer Switch
Headlamp Switch and Sunload Sensor Assembly (w/C67)
DRL, High Beam Headlamps and Dimmer Switch
Headlamp Switch and Sunload Sensor Assembly (w/C67)
Park Lamp Relay
Figure 4:

DIM Input/Output (2 of 2)


Object Number: 665719  Size: FS
Master Electrical Component List
IPM Power and Grounds
DIM Input/Output (1 of 2)
Dimming Control
Wiper Washer Switch and Fuse
Steering Wheel Controls Schematic
Horns Schematics
Figure 5:

IPM Power and Grounds


Object Number: 665723  Size: FS
Master Electrical Component List
IPM Input/Output (1 of 2)
DIM Input/Output (2 of 2)
G201
G201
Serial Data Class 2
HVAC Fuse (Block Rear)
Figure 6:

IPM Input/Output (1 of 2)


Object Number: 665724  Size: FS
Master Electrical Component List
IPM Input/Output (2 of 2)
IPM Power and Grounds
Radio Output, Door and Ignition Switch
Headlamp Switch and Sunload Sensor Assembly (w/CJ2)
Heater A/C Control w/CJ2
Dimming Control
Headlamp Switch and Sunload Sensor Assembly (w/CJ2)
Dimming Control
Headlamp Switch and Sunload Sensor Assembly (w/CJ2)
Indicators and Traction Control Switch
Figure 7:

IPM Input/Output (2 of 2)


Object Number: 665729  Size: FS
Master Electrical Component List
RIM Power and Grounds
IPM Input/Output (1 of 2)
Blower Control (w/CJ2)
Temperature Sensors (w/CJ2)
Air Delivery (w/CJ2)
Figure 8:

RIM Power and Grounds


Object Number: 665732  Size: FS
Master Electrical Component List
RIM Input/Output (1 of 2)
IPM Input/Output (2 of 2)
G402
Serial Data Class 2
IGN SW and NSBU Fuses (Fuse Block Rear)
IGN SW and NSBU Fuses (Fuse Block Rear)
G300 and G302
Figure 9:

RIM Input/Output (1 of 2)


Object Number: 665739  Size: FS
Master Electrical Component List
RIM Input/Output (2 of 2)
RIM Power and Grounds
Power, Ground, and Components
Rear Compartment Entrapment Protection
Rear Compartment Lid Release
Drivers Side Courtesy Lamps
Cigar Lighter/Auxillary Outlet Schematics
Interior Lamp Relay
Backup Lights
Figure 10:

RIM Input/Output (2 of 2)


Object Number: 665752  Size: FS
Master Electrical Component List
RIM Input/Output (1 of 2)
A/T Shift Lock Control Solenoid: Class 2
ALC Suspension Schematics
Driver Front Heated Seat Module
Rear Window Defogger