GM Service Manual Online
For 1990-2009 cars only
Makes
🢒
Buick
🢒
1999
🢒
Riviera
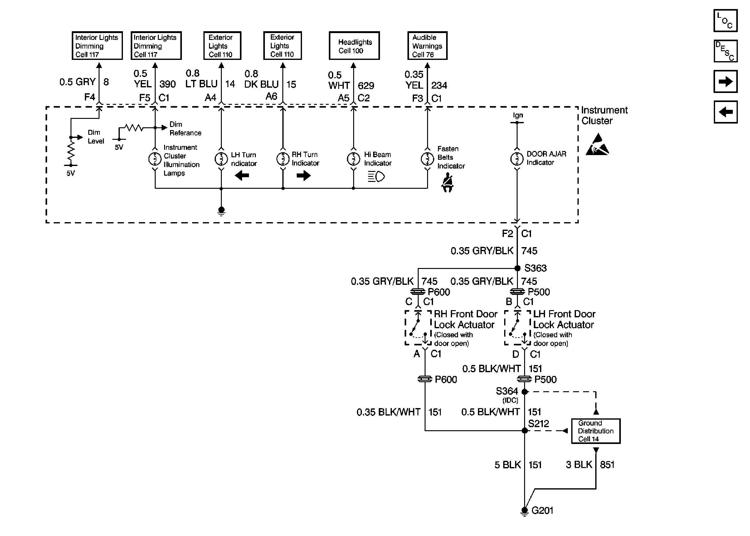
🢒 Cell 81: Instrument Cluster Illumination Lamps
Cell 81: Instrument Cluster Illumination Lamps
Cell 81: Instrument Cluster Illumination Lamps
Instrument Panel, Gages, and Console Component Views
Cell 81: Coolant Level Switch
Cell 81: Security Indicator
Interior Lights Dimming Schematics Buick
Interior Lights Dimming Schematics Buick
Exterior Lights Schematics Buick
Exterior Lights Schematics Buick
Headlights Schematics Buick
Audible Warnings Schematics
Ground Distribution Schematics
Handling ESD Sensitive Parts Notice