GM Service Manual Online
For 1990-2009 cars only
Makes
🢒
Cadillac
🢒
2001
🢒
Catera
🢒
Body and Accessories
🢒
Seats
🢒 Memory Seats Schematics
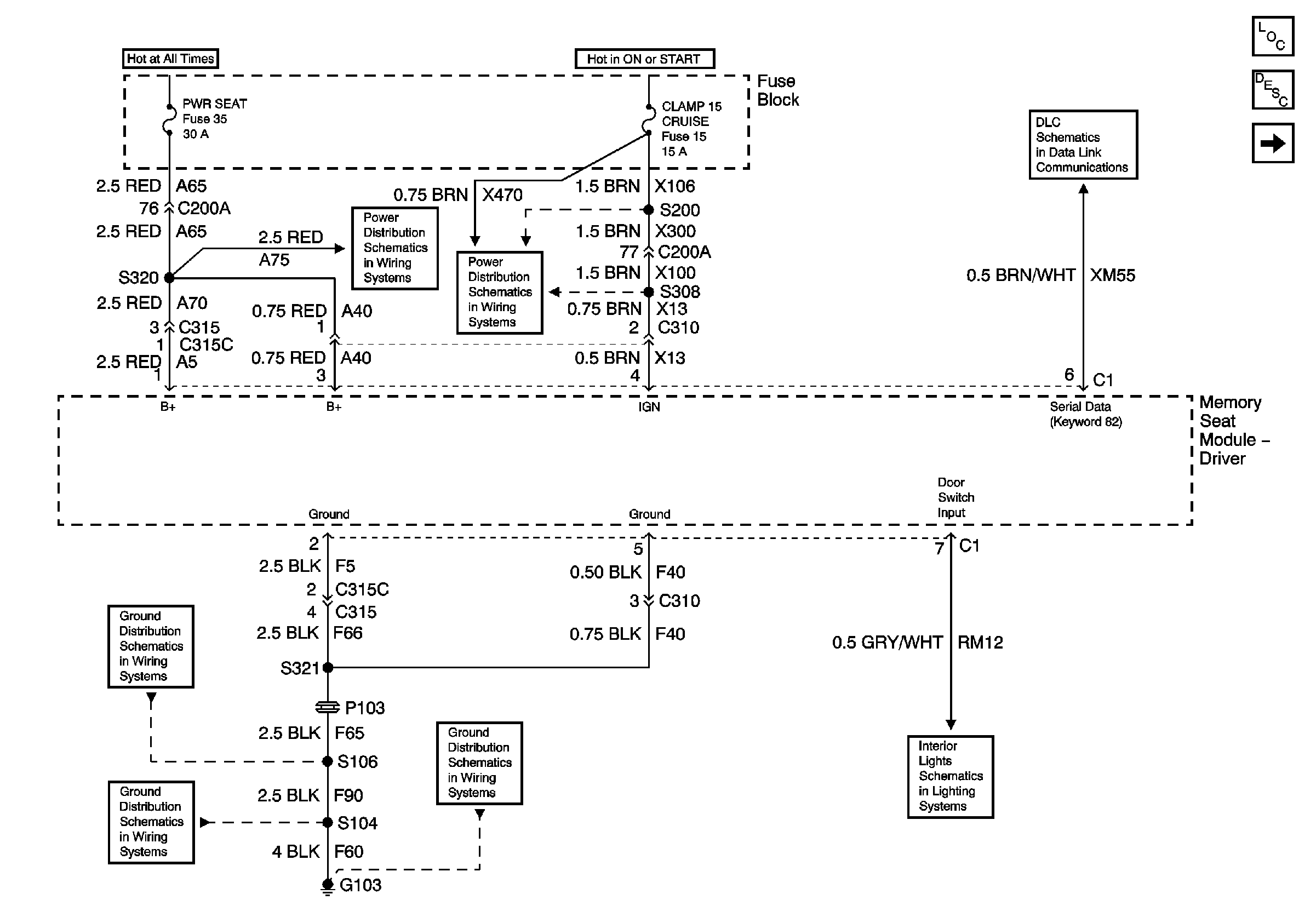
Figure
1:
Power, Ground and DLC
Master Electrical Component List
Memory Seats Description and Operation
Seat Adjuster Switch - Driver and Motors
Underhood Fuse Block Fuse V6 and Fuse Block Fuses 17, 28, 29, 33, and34
Underhood Fuse Block Fuses V1 and V4, and Ignition Switch
DLC Pins 3 and 7
Fuse Block Fuses 5, 11, 16, and 35
Fuse Block Fuse 15
G103 (5 of 8)
G103 (3 of 8)
G103 (1 of 8)
Audible Warning
Figure
2:
Seat Adjuster Switch -- Driver and Motors
Master Electrical Component List
Memory Seats Description and Operation
Power, Ground and DLC