GM Service Manual Online
For 1990-2009 cars only
Makes
🢒
Cadillac
🢒
2000
🢒
DeVille
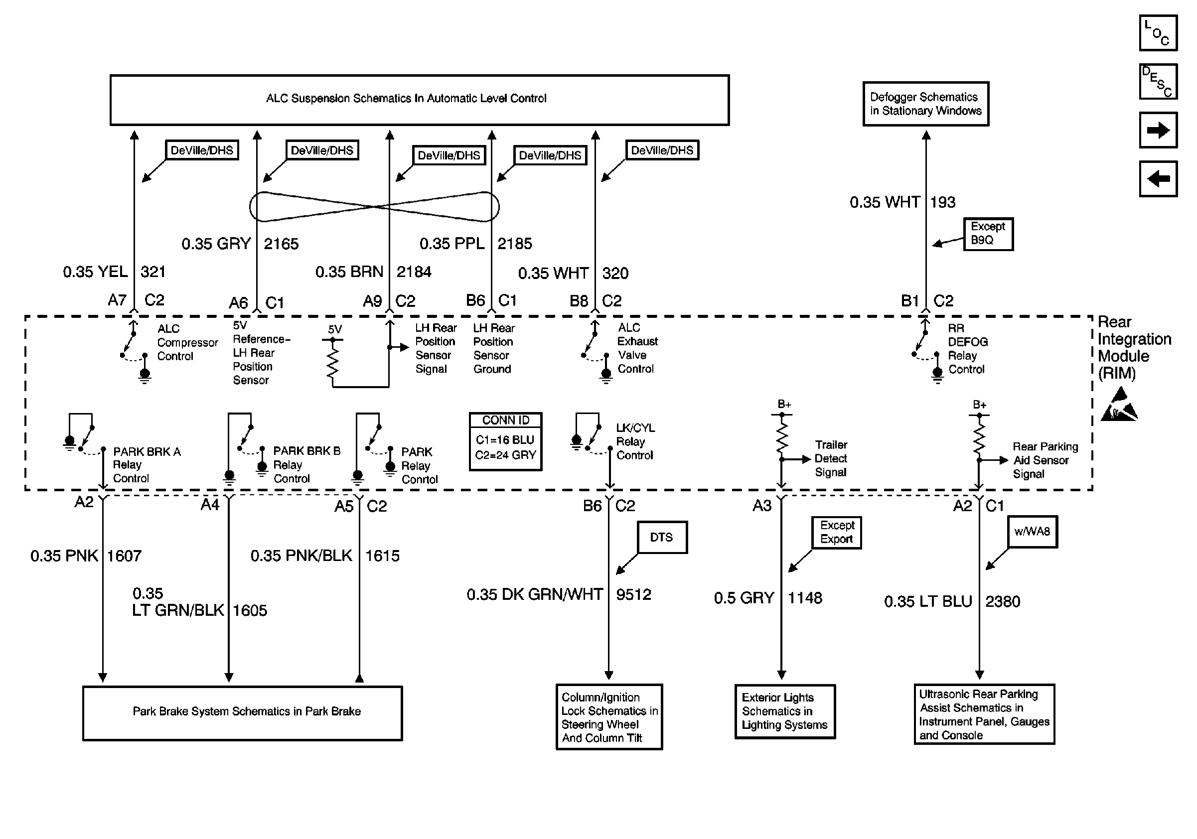
🢒 Rear Integration Module (RIM) - Level Control and Other Inputs and Outputs
Rear Integration Module (RIM) - Level Control and Other Inputs and Outputs
Rear Integration Module (RIM) -- Level Control and Other Inputs and Outputs
Body Control Module Components
Body Control System Circuit Description
Rear Heater and A/C Control Module - DeVille/DHS
Rear Integration Module (RIM) - Lighting and Other Inputs and Outputs
Handling ESD Sensitive Parts Notice
Automatic Level Control Schematics
Defogger Schematics w/o B9Q
Park Brake System Schematics
Column/Ignition Lock Schematics
Exterior Lights Schematics Domestic w/o V92/V4U/B9Q
Rear Parking Assist Schematics