GM Service Manual Online
For 1990-2009 cars only
Makes
🢒
Cadillac
🢒
2001
🢒
DeVille
🢒
Brakes
🢒
Antilock Brake System
🢒 Antilock Brake System Schematics
Figure
1:
Power, Ground, Stoplamp Switch, Solenoid Valves and Pump Motor
Master Electrical Component List
ABS Description and Operation
RR BLO, RR DR MDL, HVAC, Stop LP, IGN SW, and TSIG/HAZ Fuses
ELC, Night Vision, HVAC, ABS Fuses
ABS Sol, Air Pump B, C/LTR 1, C/LTR 2, Fuses
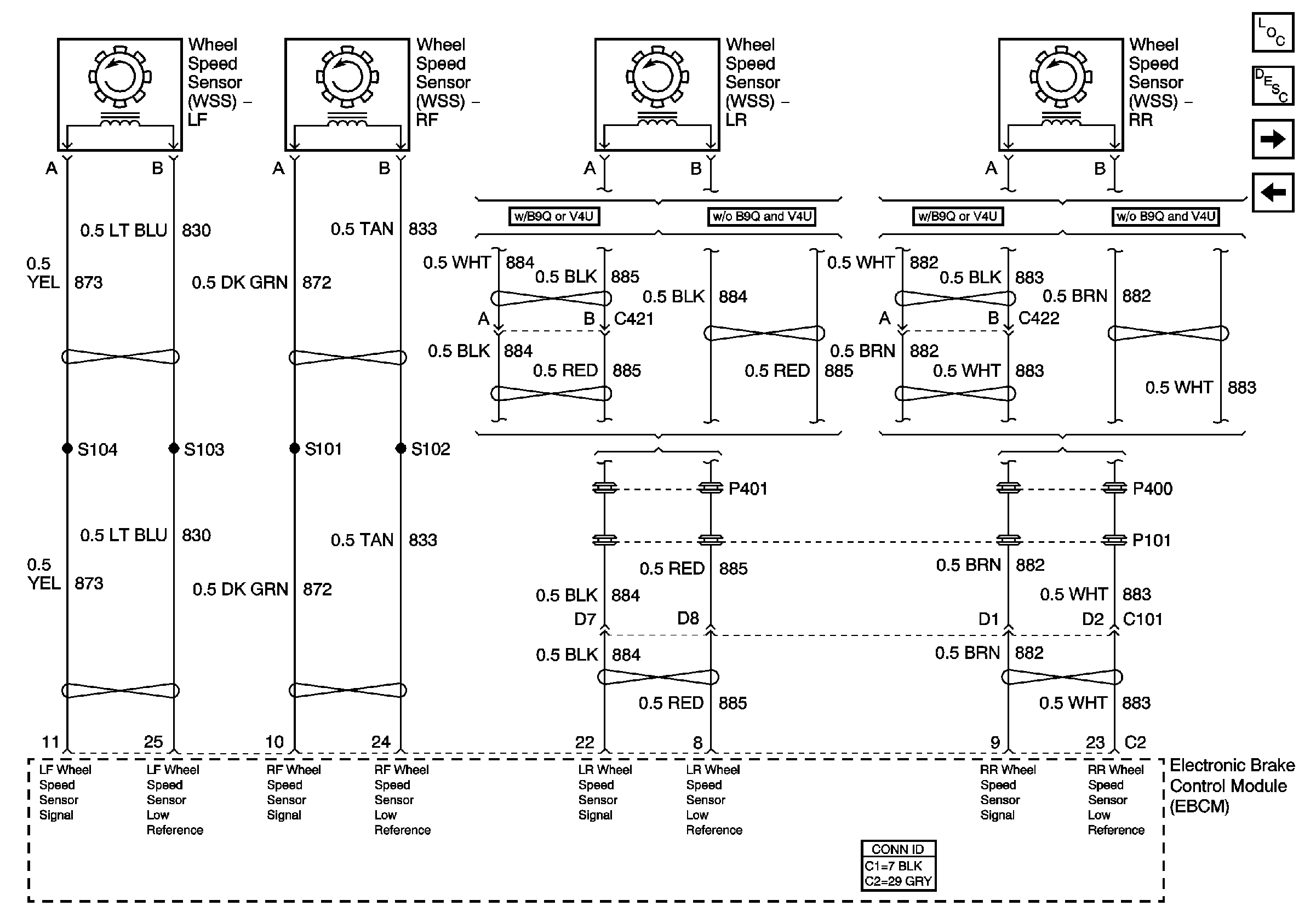
Figure
2:
Wheel Speed Sensors
Master Electrical Component List
ABS Description and Operation
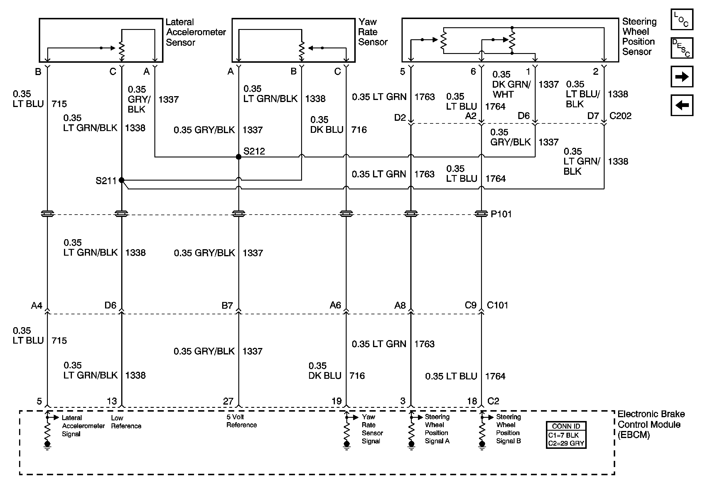
Figure
3:
Vehicle Stability Enhancement System (w/JL4)
Master Electrical Component List
ABS Description and Operation
Figure
4:
Suspension Inputs,Class 2, Traction Control,Variable Effort Steering
Master Electrical Component List
ABS Description and Operation
Electronic Suspension Control Module-Pwr and Gnd
Class 2 Serial Data (1 of 3)
Steering Controls (w/NV8)
Figure
5:
Indicators and Traction Contorl Switch
Master Electrical Component List
ABS Description and Operation
G201 IP Harness and Console Harness
G201 IP Harness and Console Harness
G201
G201 IP Harness and Console Harness