GM Service Manual Online
For 1990-2009 cars only
Figure 1:

Left Power Window


Object Number: 663304  Size: FS
Master Electrical Component List
Power Windows Description and Operation
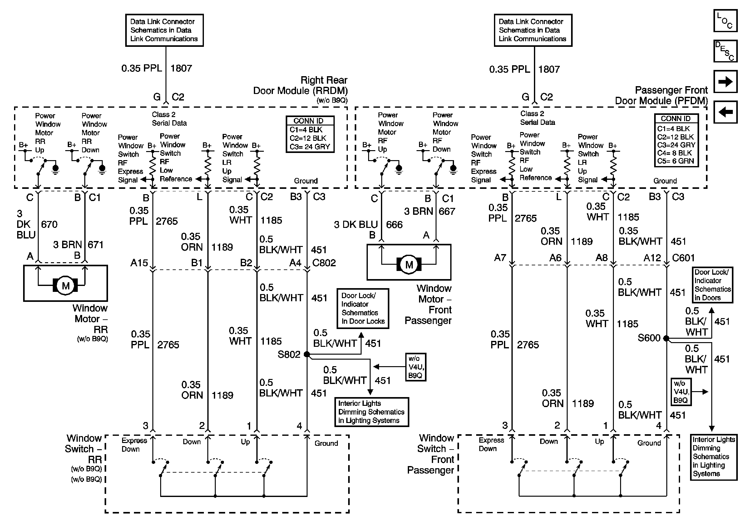
Right Power Window
Driver Door Power Door Lock
Memory Function Switch
Front Door Dimming
Rear Door Dimming
Left Rear Door Power Door Lock
Class 2 Serial Data (3 of 3)
Figure 2:

Right Power Window


Object Number: 663305  Size: FS
Master Electrical Component List
Power Windows Description and Operation
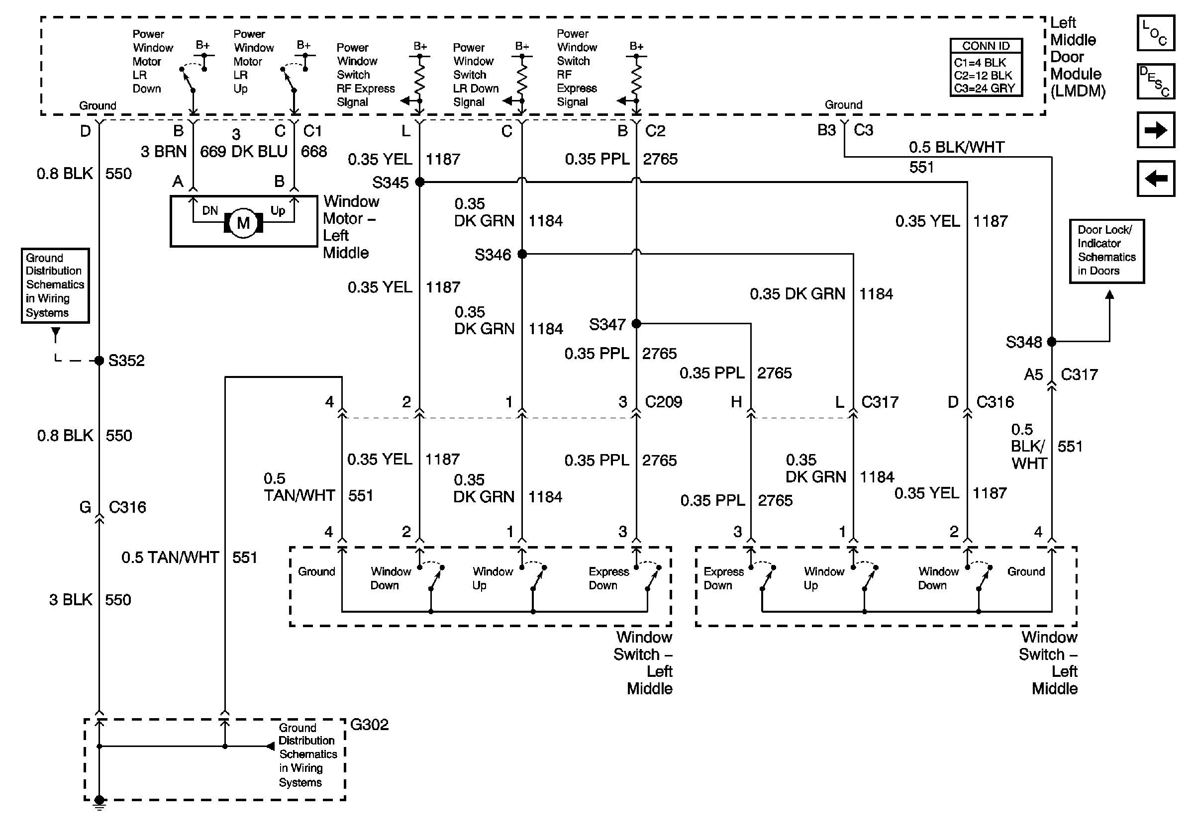
Left Middle Door Power Window
Left Power Window
Right Front Door Power Door Lock
Front Door Dimming
Rear Door Dimming
Right Rear Door Power Door Lock (w/o B9Q)
Class 2 Serial Data (2 of 3)
Class 2 Serial Data (2 of 3)
Figure 3:

Left Middle Door Power Window


Object Number: 663306  Size: FS
Master Electrical Component List
Power Windows Description and Operation
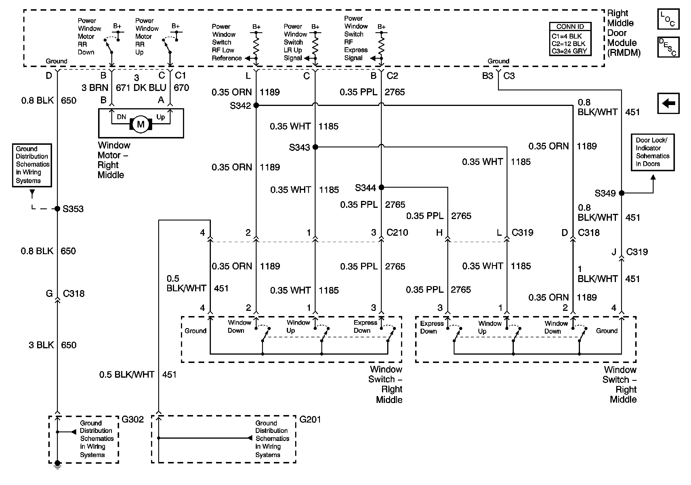
Right Middle Door Power Window
Right Power Window
Left Middle Door Power Door Lock (w/V4U)
G302 V4U/B9Q
G302 V4U/B9Q
Figure 4:

Right Middle Door Power Window


Object Number: 663307  Size: FS
Master Electrical Component List
Power Windows Description and Operation
Left Middle Door Power Window
Right Middle Door Power Door Lock (w/V4U)
G201,G202 CKT 451 Steering Column
G302 V4U/B9Q
G302 V4U/B9Q