GM Service Manual Online
For 1990-2009 cars only
Figure 1:

PCM Power, Ground, Serial Data, and MIL


Object Number: 1217688  Size: FS
Master Electrical Component List
Powertrain Control Module Description
Engine Data Sensors- 5 Volt and Low Reference
Engine Controls Schematic Icons
Ignition Switch
Ignition Switch
Starting System
Ignition Switch
Brakes and Engine Indicators
Underhood Fuse Block- ALDL, PCM BATT, and I/P Fuse
Underhood Fuse Block Battery Voltage
Ignition Switch
Rear Fuse Block- RR BLO, RRDR MDL, HVAC BAT, STOP LP, IGN SW, TSIG/HAZ Fuse
G100
Figure 2:

Engine Data Sensors - 5-Volt and Low Reference


Object Number: 1217689  Size: FS
Master Electrical Component List
Powertrain Control Module Description
Pressure and Temperature Sensors
PCM Power, Ground, Serial Data, and MIL
OBD II Symbol Description Notice
Figure 3:

Pressure and Temperature Sensors


Object Number: 1217691  Size: FS
Master Electrical Component List
Air Intake System Description
MAF, VSS, Stop Lamp Switch
Engine Data Sensors- 5 Volt and Low Reference
OBD II Symbol Description Notice
Figure 4:

MAF, VSS and Extended Brake Travel Switch Sensors


Object Number: 1217694  Size: FS
Master Electrical Component List
Air Intake System Description
HO2S Sensors
Pressure and Temperature Sensors
OBD II Symbol Description Notice
Cruise Control Switches and Module Power and Gruond
PCM Power and Ground
PCM Power and Ground
G100
Underhood Fuse Block- PCM IGN and IGN1 Fuses
Rear Fuse Block- SIR, VENT SOL, IGN 1Fuse
G100
Figure 5:

HO2S Sensors


Object Number: 1217696  Size: FS
Master Electrical Component List
Fuel System Description
Ignition Controls- Ignition Coil/Modules 1, 3, 5, and 7
MAF, VSS, Stop Lamp Switch
OBD II Symbol Description Notice
Underhood Fuse Block- OXY SEN, CR CONT, MDL COIL, TRANS Fuses
Figure 6:

Ignition Controls - Ignition Coil/Modules 1, 3, 5, and 7


Object Number: 1370875  Size: FS
Master Electrical Component List
Electronic Ignition (EI) System Description
Ignition Controls- Ignition Coil/Modules 2, 4, 6, and 8
HO2S Sensors
Engine Controls Schematic Icons
Underhood Fuse Block- OXY SEN, CR CONT, MDL COIL, TRANS Fuses
Gages
G102, G103, G105, G106, and G110
Figure 7:

Ignition Controls - Ignition Coil/Modules 2, 4, 6, and 8


Object Number: 1370880  Size: FS
Master Electrical Component List
Electronic Ignition (EI) System Description
Ignition Controls- Sensors
Ignition Controls- Ignition Coil/Modules 1, 3, 5, and 7
Engine Controls Schematic Icons
Underhood Fuse Block- OXY SEN, CR CONT, MDL COIL, TRANS Fuses
G102, G103, G105, G106, and G110
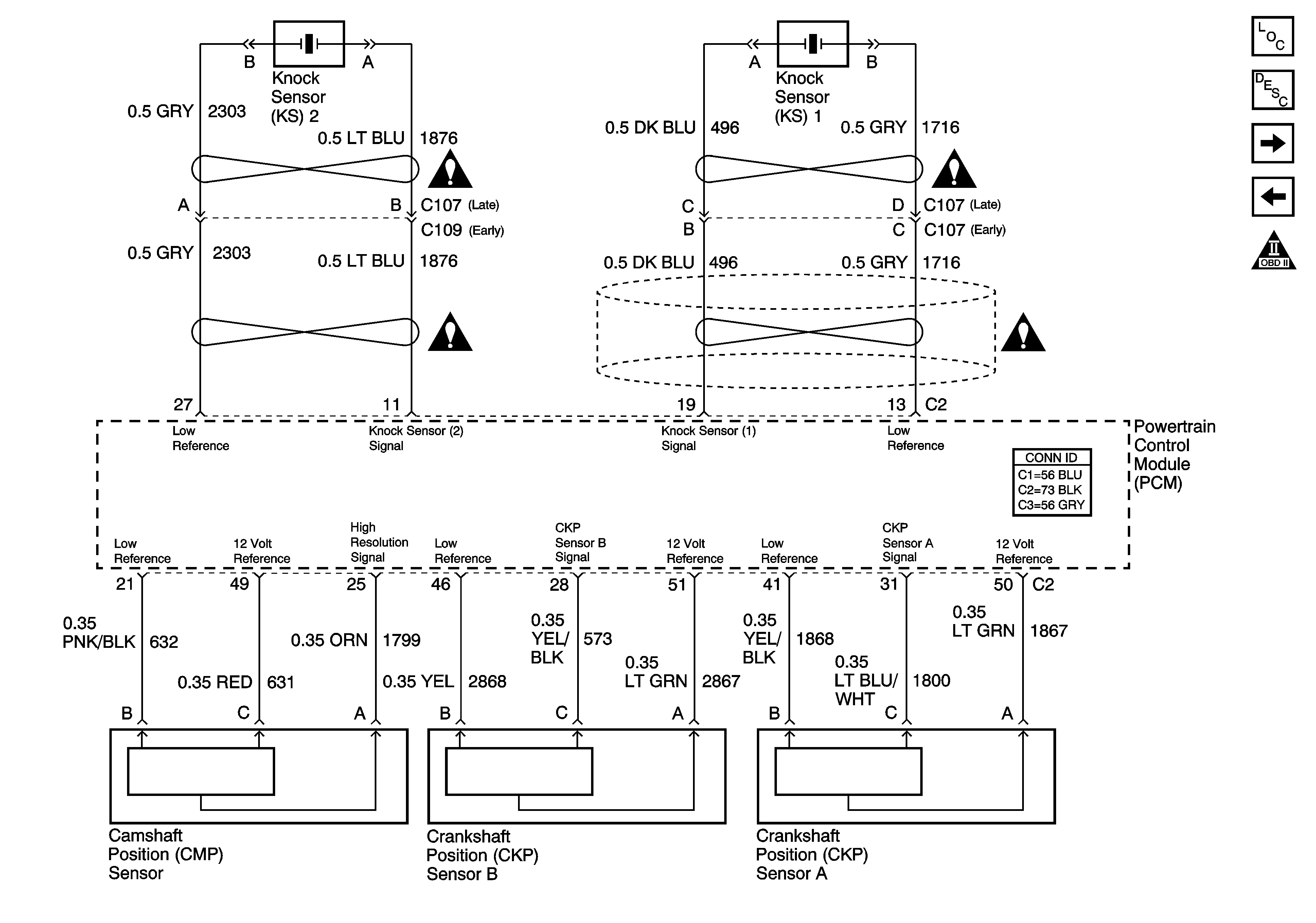
Figure 8:

Ignition Controls - Sensors


Object Number: 1217712  Size: FS
Master Electrical Component List
Knock Sensor (KS) System Description
Fuel Pump Controls
Ignition Controls- Ignition Coil/Modules 2, 4, 6, and 8
OBD II Symbol Description Notice
Engine Controls Schematic Icons
Engine Controls Schematic Icons
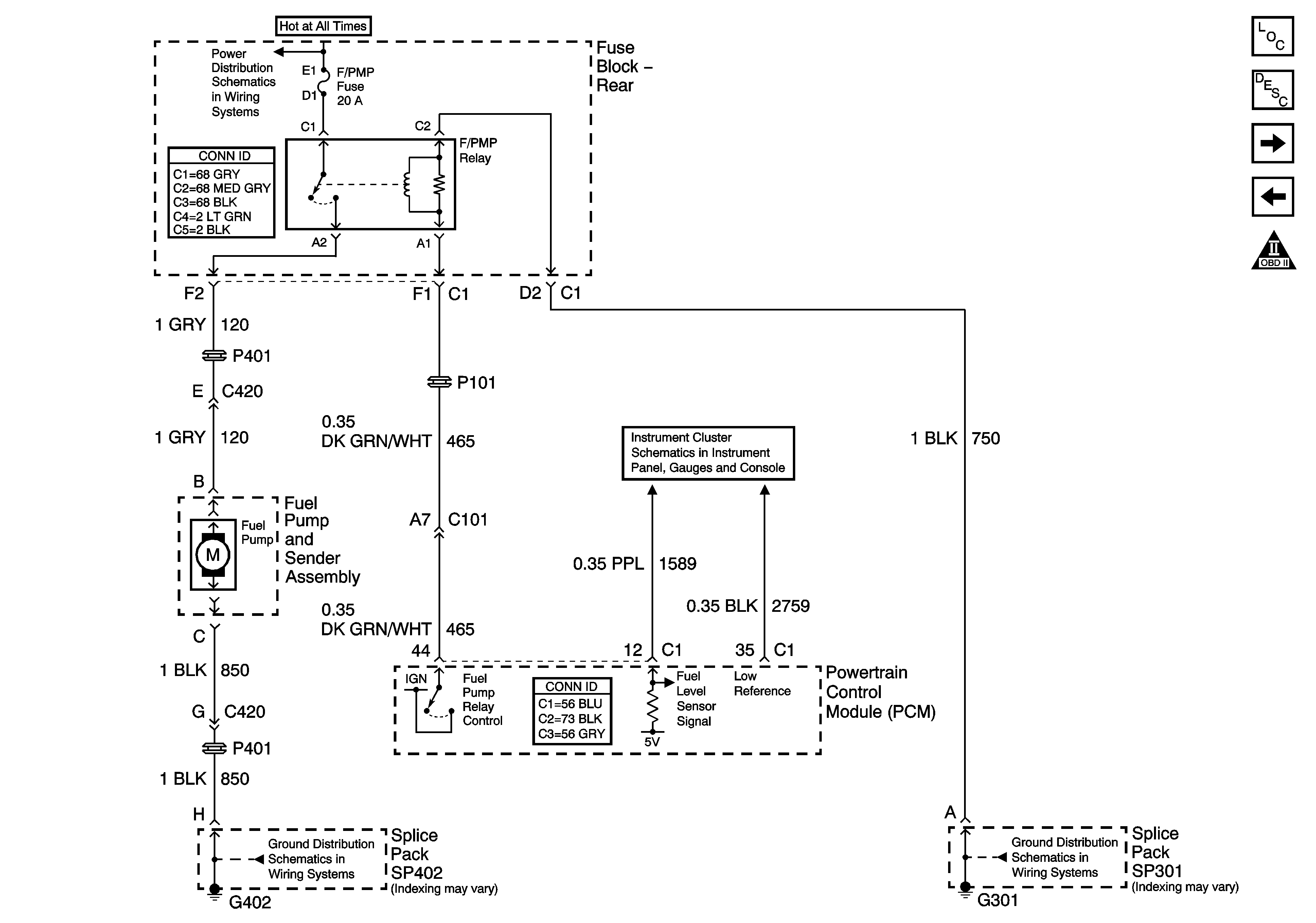
Figure 9:

Fuel Controls - Fuel Pump Controls


Object Number: 1217715  Size: FS
Master Electrical Component List
Fuel System Description
Fuel Injectors
Ignition Controls- Sensors
OBD II Symbol Description Notice
G301
G402 (2 of 2)
Rear Fuse Block Battery Voltage
Gages
Figure 10:

Fuel Controls - Fuel Injectors


Object Number: 1217718  Size: FS
Master Electrical Component List
Fuel System Description
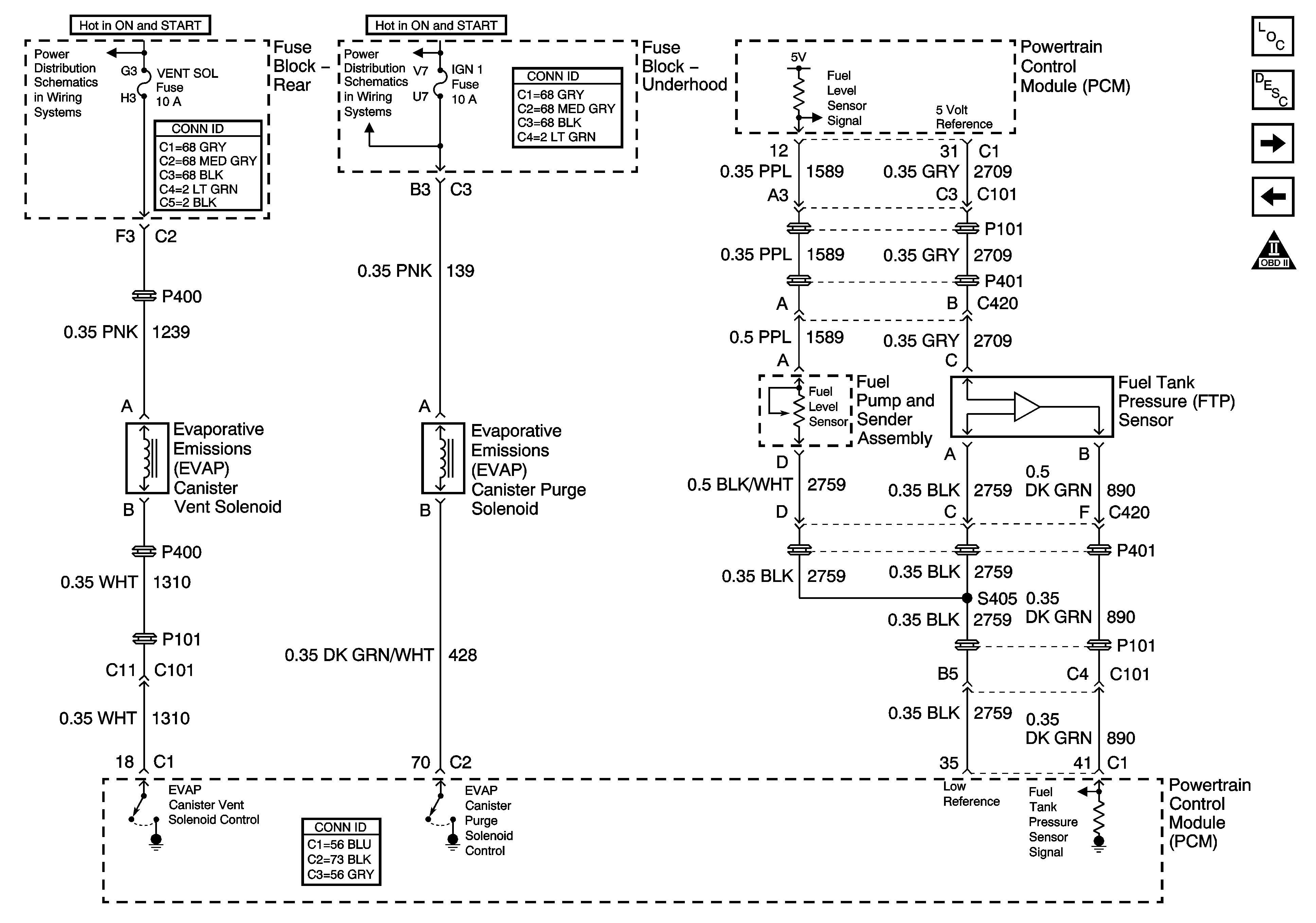
EVAP Controls
Fuel Pump Controls
OBD II Symbol Description Notice
Figure 11:

EVAP Controls


Object Number: 1217722  Size: FS
Master Electrical Component List
Evaporative Emission Control System Description
AIR, IAC and EGR Controls
Fuel Injectors
OBD II Symbol Description Notice
Rear Fuse Block- SIR, VENT SOL, IGN 1Fuse
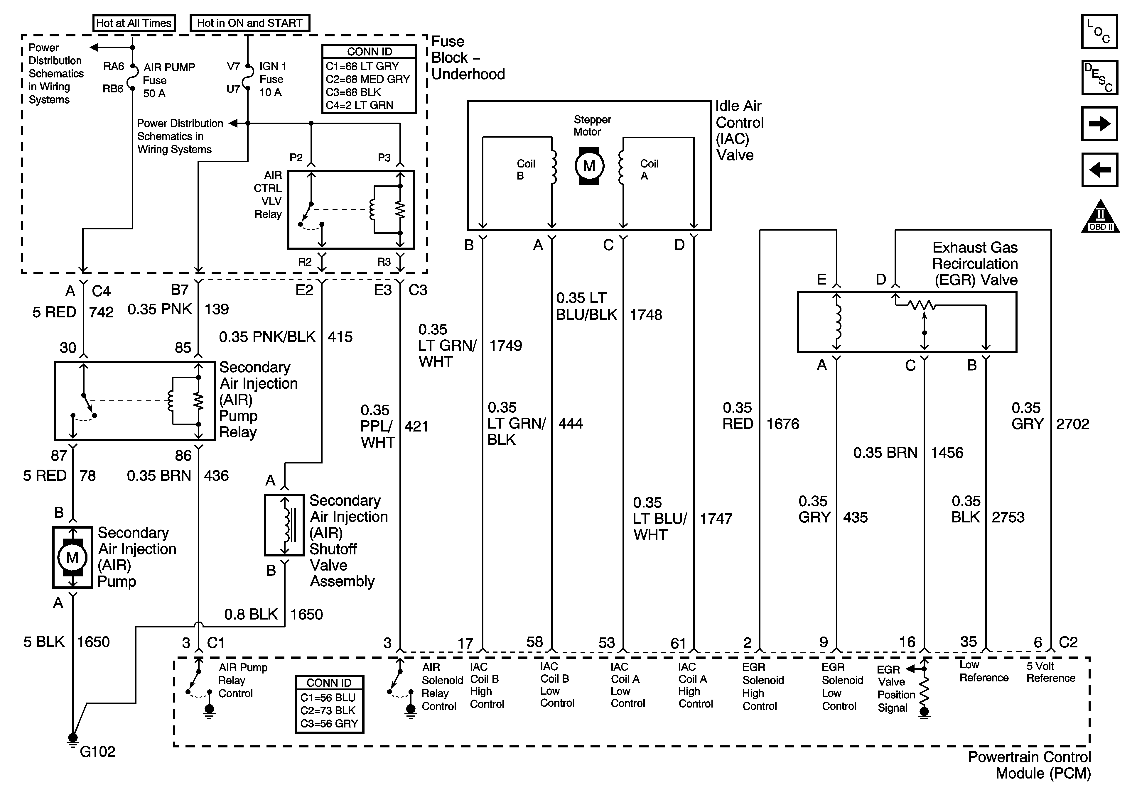
Figure 12:

Device Controls


Object Number: 1217725  Size: FS
Master Electrical Component List
Exhaust Gas Recirculation (EGR) System Description
Controlled/Monitored Subsystem References
EVAP Controls
OBD II Symbol Description Notice
G102, G103, G105, G106, and G110
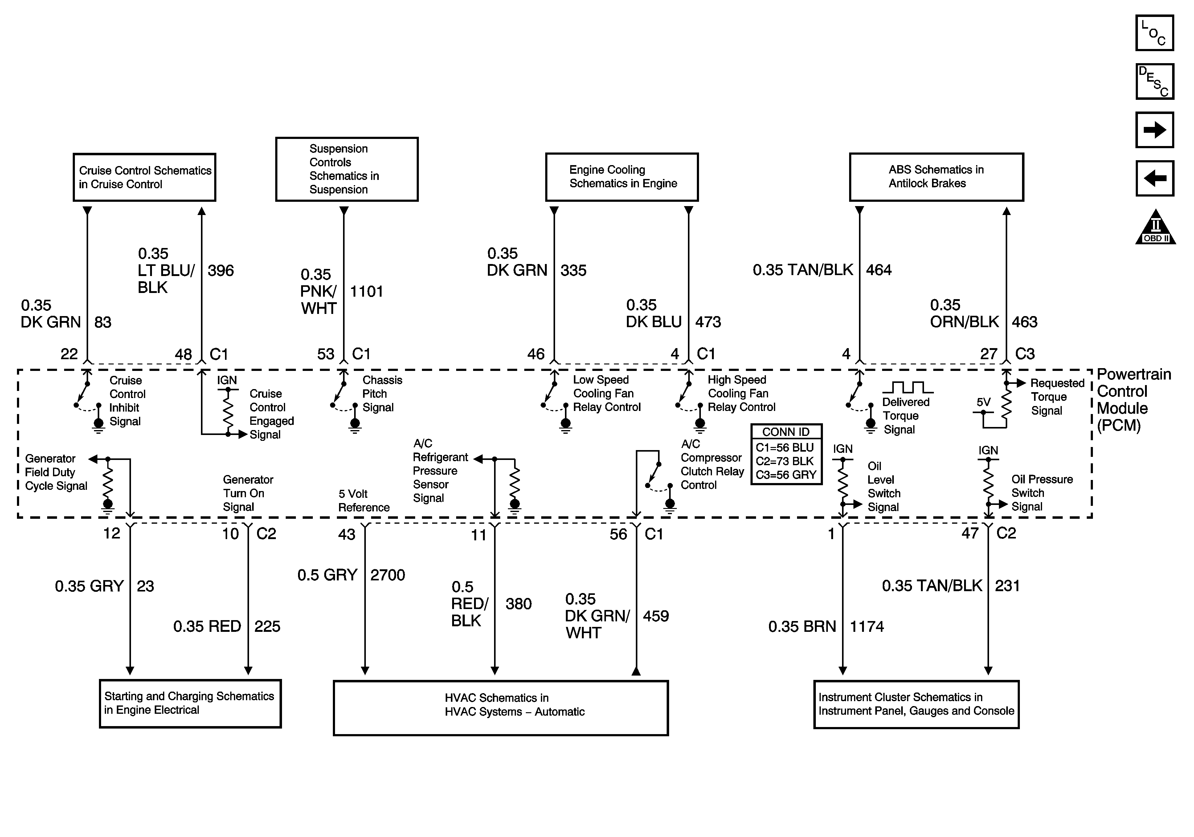
Figure 13:

Controlled/Monitored Subsystem References


Object Number: 1217730  Size: FS
Master Electrical Component List
Powertrain Control Module Description
Transmission Controls References
AIR, IAC and EGR Controls
OBD II Symbol Description Notice
Brakes and Engine Indicators
A/C Compressor Control
Generator and Battery
Cruise Control Module PCM Inputs and Vehicle Speed Input
ESC Module Power and Ground
Cooling Fans
Subsystem References and Serial Data
Figure 14:

Transmission Controls References


Object Number: 1217735  Size: FS
Master Electrical Component List
Powertrain Control Module Description
Controlled/Monitored Subsystem References
OBD II Symbol Description Notice
Internal Mode Switch and VSS
Solenoids and Stop Lamp Switch
Solenoids and Stop Lamp Switch
Internal Mode Switch and VSS