GM Service Manual Online
For 1990-2009 cars only
Makes
🢒
Cadillac
🢒
2007
🢒
SRX
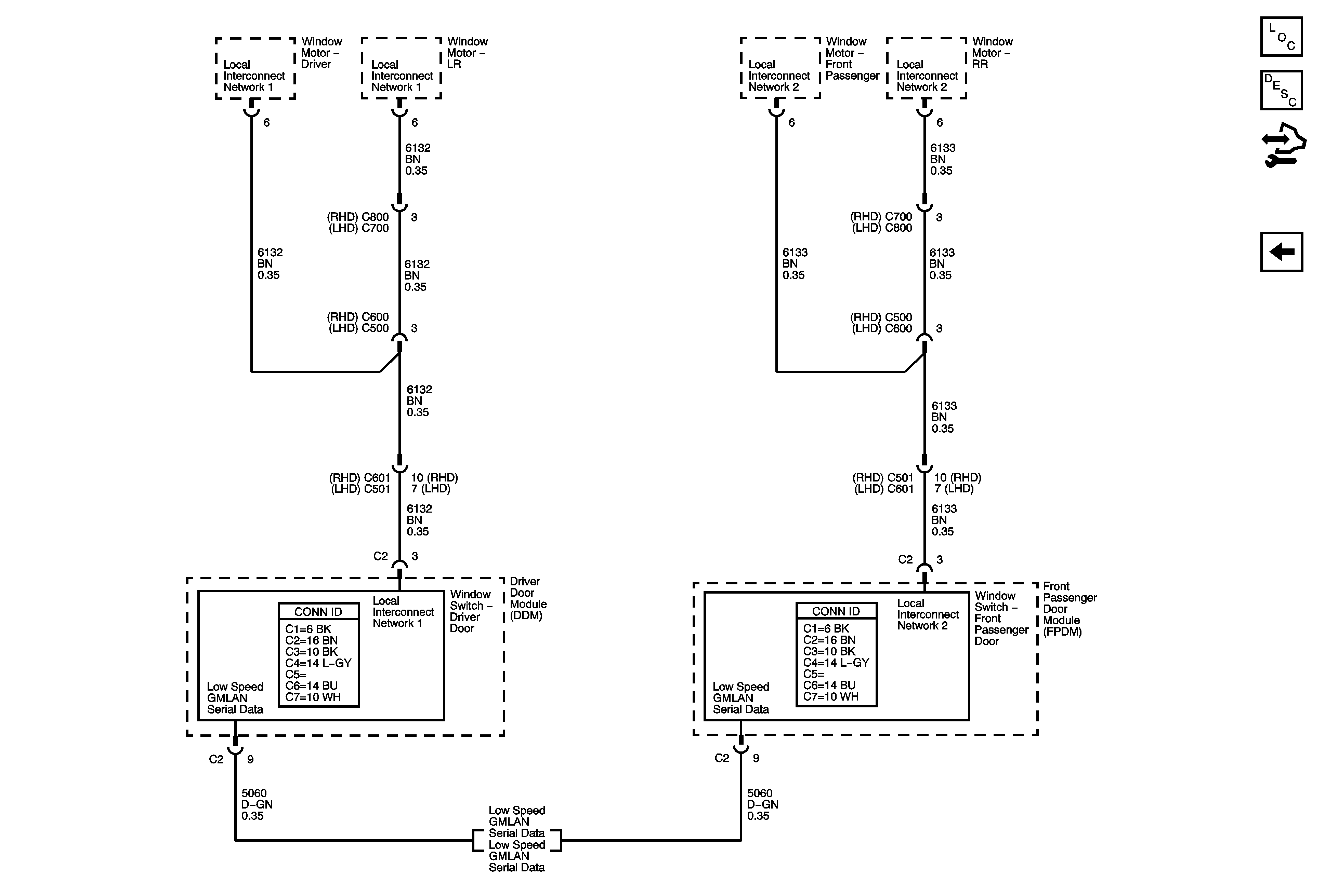
🢒 Local Interconnect Network (LIN)
Local Interconnect Network (LIN)
Local Interconnect Network (LIN)
Master Electrical Component List
Data Link Communications Description and Operation
Control Module References
High Speed GMLAN
Low Speed GMLAN Serial Data 1 of 2
Low Speed GMLAN Serial Data 2 of 2