GM Service Manual Online
For 1990-2009 cars only
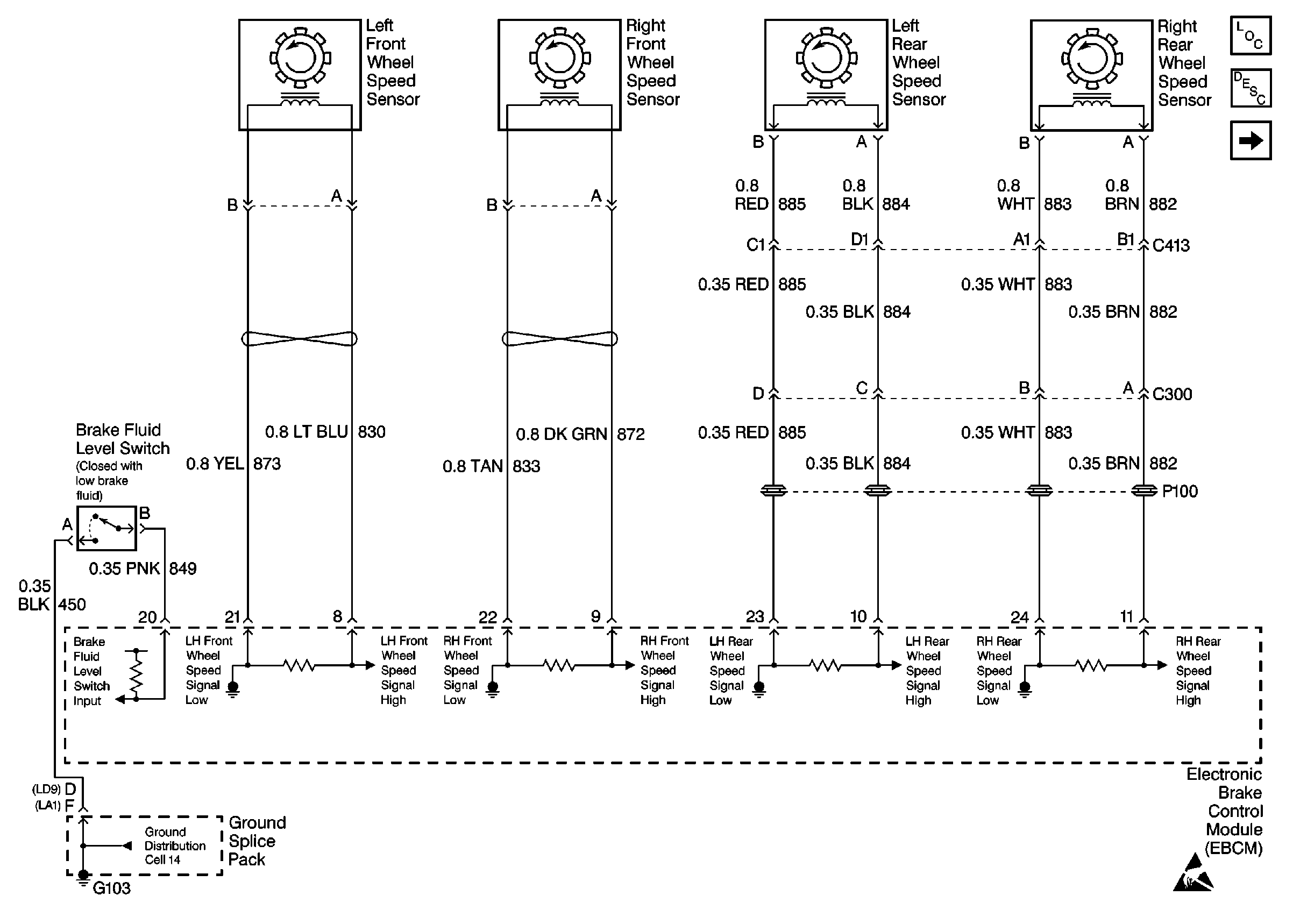
Figure 1:

Antilock Brake Systems Cell 44: Speed Sensors and Brake Fluid Level Switch


Object Number: 232699  Size: FS
ABS Components
ABS Operation
Cell 44: Relay, Solenoids and Motor Pack
Ground Distribution Schematics
Handling ESD Sensitive Parts Notice
Figure 2:

Cell 44: Relay, Solenoids and Motor Pack


Object Number: 232703  Size: FS
ABS Components
ABS Operation
Cell 44: Instrument Cluster, Brake Switch and PCM
Antilock Brake Systems Cell 44: Speed Sensors and Brake Fluid Level Switch
Handling ESD Sensitive Parts Notice
Power Distribution Schematics
Power Distribution Schematics
Power Distribution Schematics
Ground Distribution Schematics
Figure 3:

Cell 44: Instrument Cluster, Brake Switch and PCM


Object Number: 232707  Size: FS
ABS Components
ABS Operation
Cell 44: Relay, Solenoids and Motor Pack
Handling ESD Sensitive Parts Notice
Handling ESD Sensitive Parts Notice
Handling ESD Sensitive Parts Notice
Power Distribution Schematics
Exterior Lights Schematics
Cruise Control Schematics
Data Link Connector Schematics
Figure 4:

Cell 44: Instrument Cluster, Brake Switch and PCM


Object Number: 488759  Size: FS
ABS Components
ABS Operation
Cell 44: Instrument Cluster, Brake Switch and PCM
Ground Distribution Schematics
Ground Distribution Schematics