GM Service Manual Online
For 1990-2009 cars only
Figure 1:

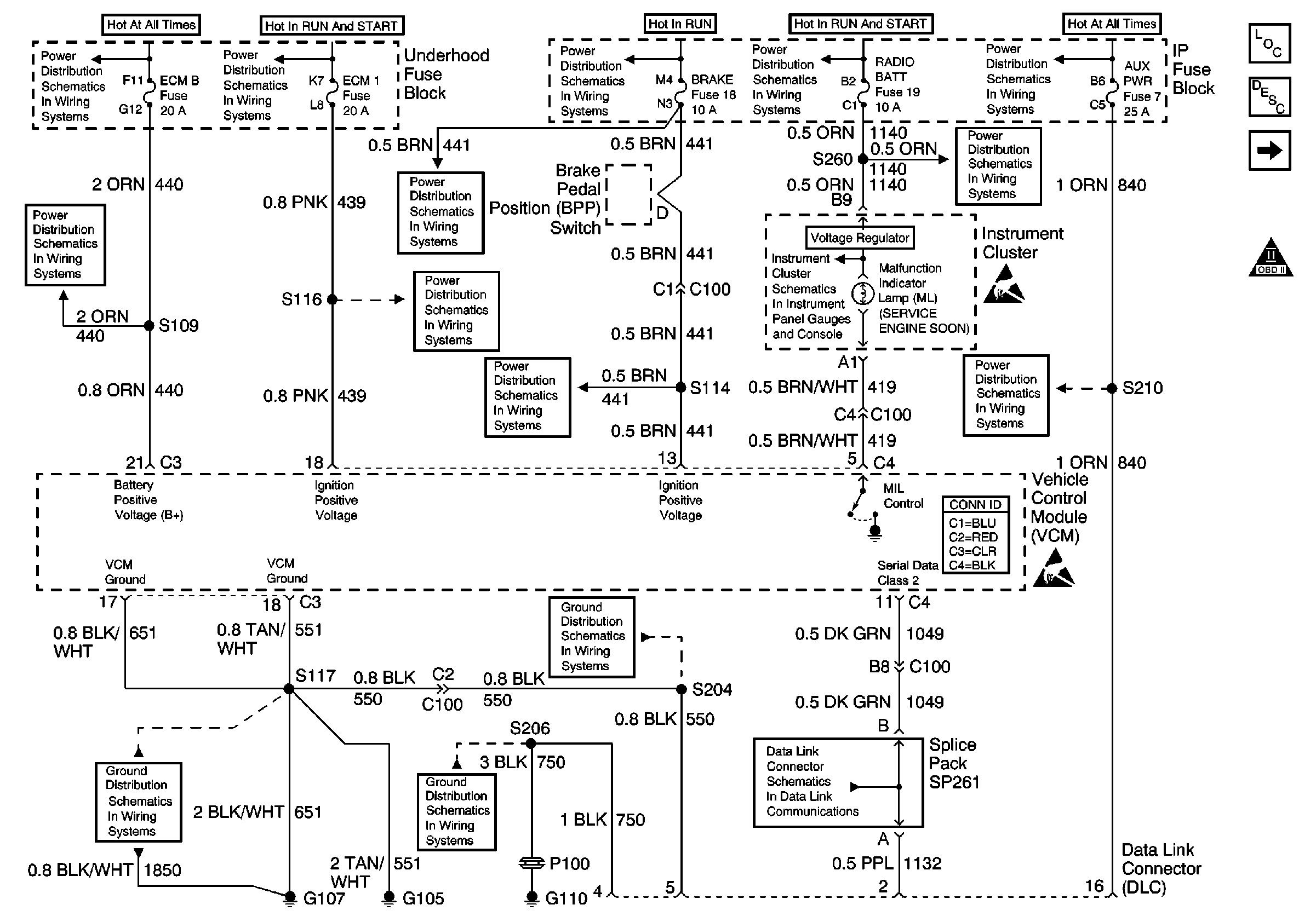
Power and Ground


Object Number: 482402  Size: FS
Engine Controls Components
Vehicle Control Module Description
Ignition System Controls
OBD II Symbol Description Notice
Handling ESD Sensitive Parts Notice
Handling ESD Sensitive Parts Notice
HTD MIR/RR DEFOG, A/C COMP, HORN, ECM-B Fuse
IGN-A Fuse and Ignition Switch
HTR-A/C Fuse 12, BRAKE Fuse 18 and CRUISE Fuse 6
CIG LTR Fuse 13, RADIO BATT Fuse 19 and CRANK Fuse 8
BATT and LIGHTING Fuse
HTD MIR/RR DEFOG, A/C COMP, HORN, ECM-B Fuse
HTR-A/C Fuse 12, BRAKE Fuse 18 and CRUISE Fuse 6
ECM-1 Fuse
HTR-A/C Fuse 12, BRAKE Fuse 18 and CRUISE Fuse 6
CIG LTR Fuse 13, RADIO BATT Fuse 19 and CRANK Fuse 8
ILLUM, TRANS, and GAUGES Fuse, and Grounds
STOP/HAZ Fuse 1 and AUX PWR Fuse 7
G105 and G107
G105 and G107
G110 (1 of 2)
Data Link Schematics (1 of 2)
Figure 2:

Ignition System Controls


Object Number: 482412  Size: FS
Engine Controls Components
Information Sensors/Switches Description
Fuel Delivery
Power and Ground
OBD II Symbol Description Notice
Handling ESD Sensitive Parts Notice
Handling ESD Sensitive Parts Notice
Handling ESD Sensitive Parts Notice
Handling ESD Sensitive Parts Notice
Handling ESD Sensitive Parts Notice
IGN-A Fuse and Ignition Switch
IGN-E and ENG-1 Fuse
ECM-1 Fuse
G105 and G107
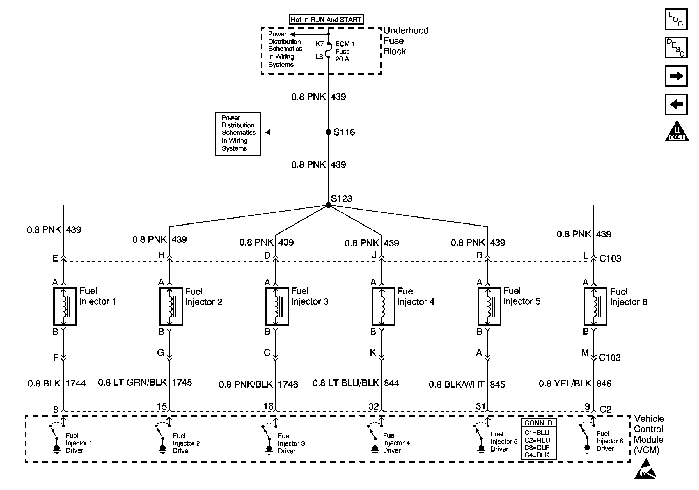
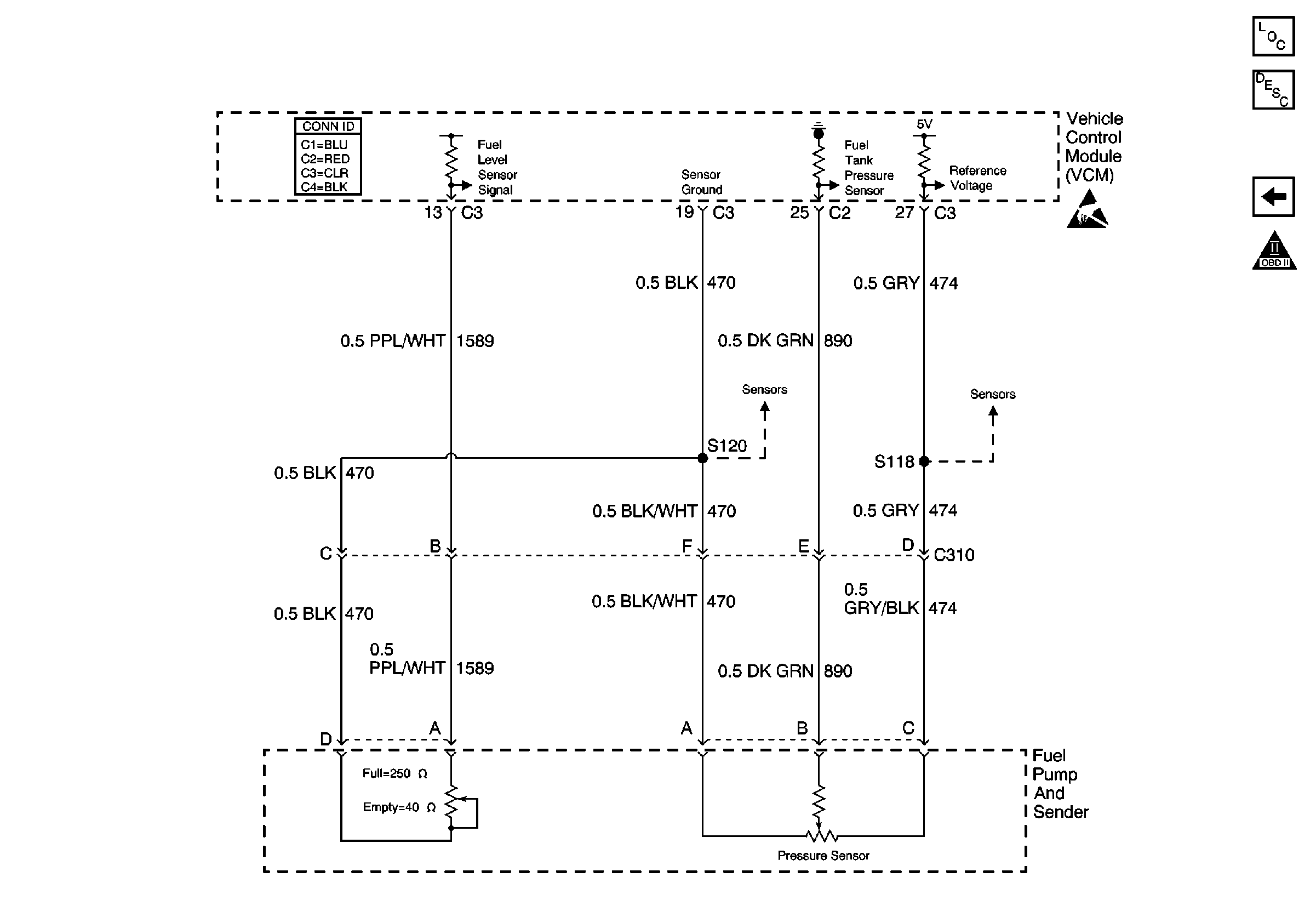
Figure 3:

Fuel Delivery


Object Number: 482416  Size: FS
Engine Controls Components
Fuel Supply Component Description
Fuel Injection Controls
Ignition System Controls
OBD II Symbol Description Notice
Handling ESD Sensitive Parts Notice
HTD MIR/RR DEFOG, A/C COMP, HORN, ECM-B Fuse
HTD MIR/RR DEFOG, A/C COMP, HORN, ECM-B Fuse
G104
Figure 4:

Fuel Injection Controls


Object Number: 482418  Size: FS
Engine Controls Components
Central Sequential Duel Injection Fuel System Description
Fuel Mixture Input Controls
Fuel Delivery
OBD II Symbol Description Notice
Handling ESD Sensitive Parts Notice
IGN-A Fuse and Ignition Switch
ECM-1 Fuse
Figure 5:

Fuel Mixture Input Controls


Object Number: 482420  Size: FS
Engine Controls Components
Information Sensors/Switches Description
Emission Controls
Fuel Injection Controls
OBD II Symbol Description Notice
Handling ESD Sensitive Parts Notice
Handling ESD Sensitive Parts Notice
Fuel Controls
Emission Controls
Emission Controls
Transmission Switch Input Controls
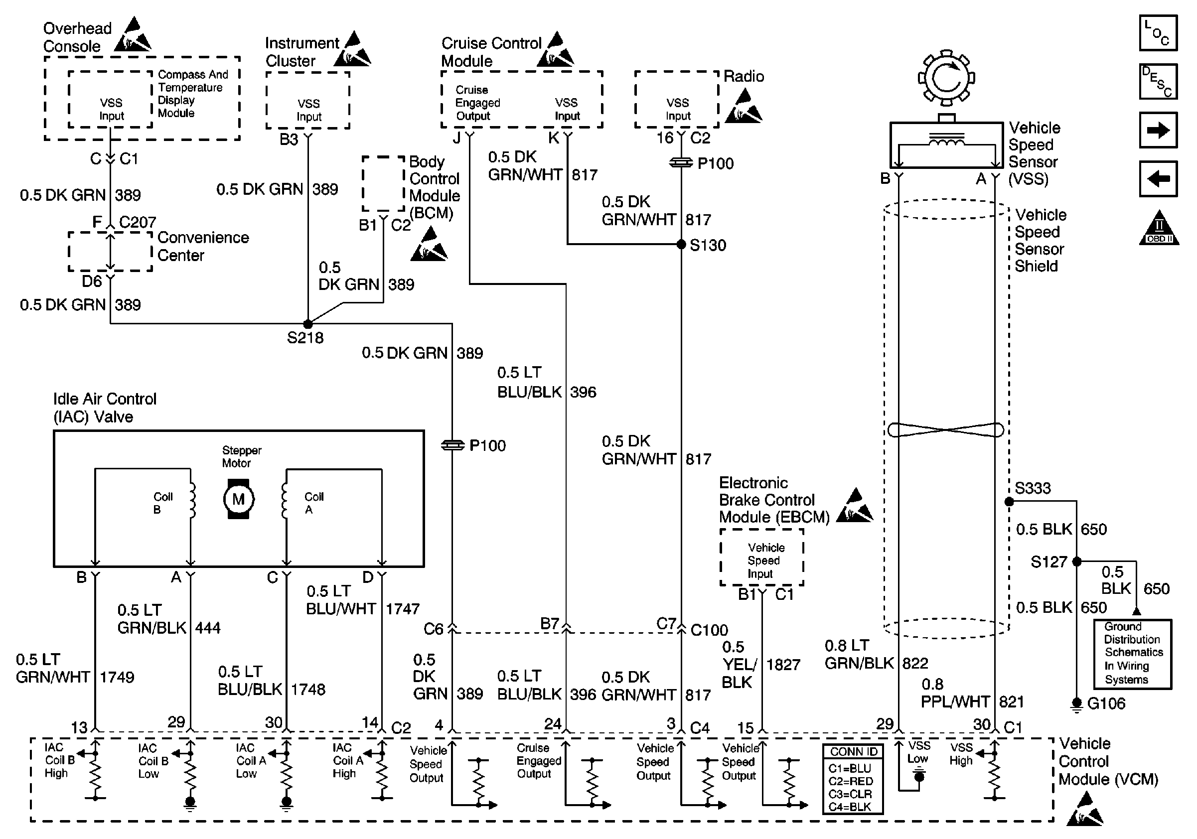
Figure 6:

Emission Controls


Object Number: 482424  Size: FS
Engine Controls Components
Exhaust Gas Recirculation (EGR) System Description
Oxygen Sensors
Fuel Mixture Input Controls
OBD II Symbol Description Notice
IGN-A Fuse and Ignition Switch
IGN-E and ENG-1 Fuse
Fuel Controls
Fuel Mixture Input Controls
G105 and G107
Handling ESD Sensitive Parts Notice
Handling ESD Sensitive Parts Notice
Fuel Mixture Input Controls
Handling ESD Sensitive Parts Notice
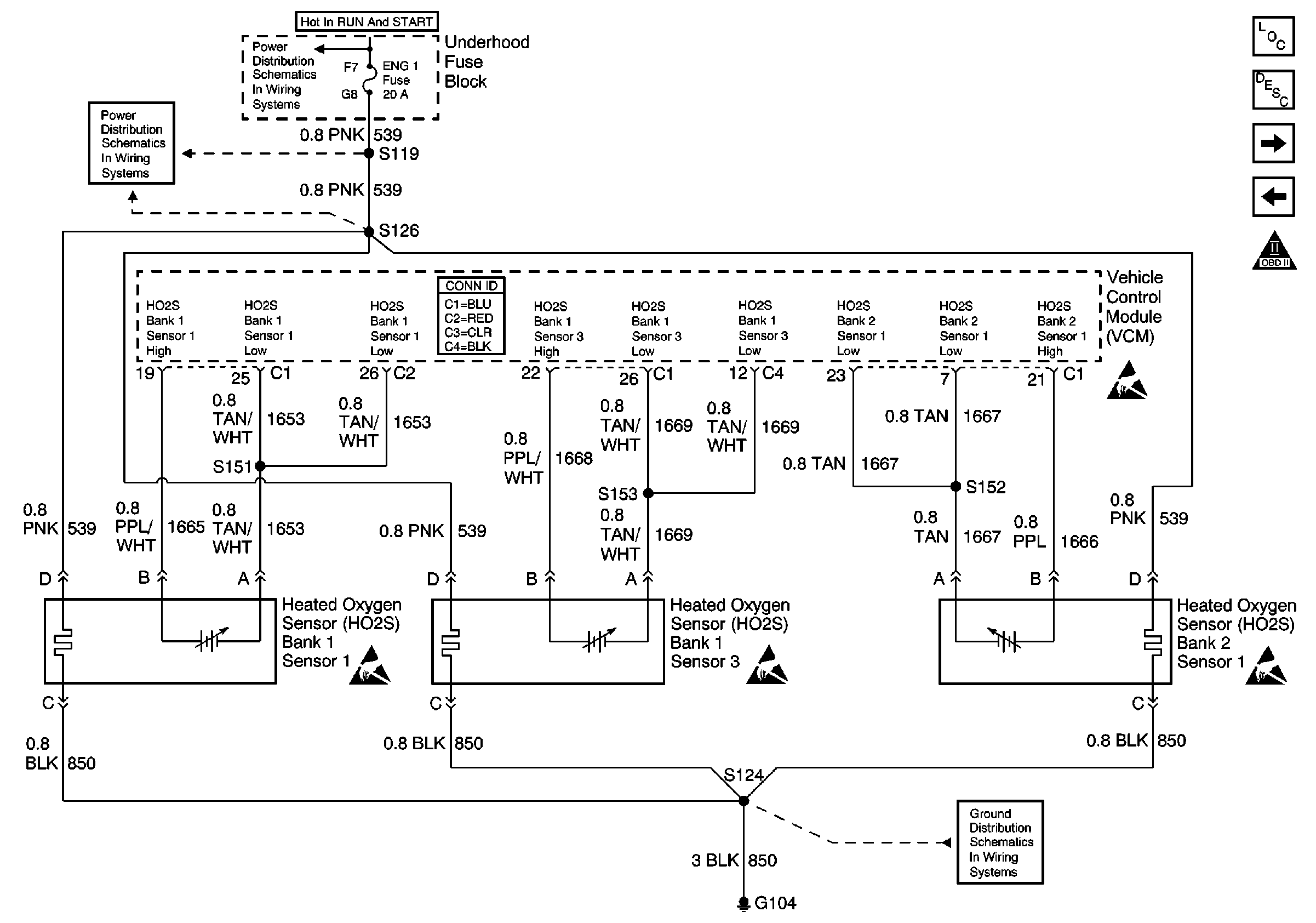
Figure 7:

Oxygen Sensors


Object Number: 482429  Size: FS
Engine Controls Components
Information Sensors/Switches Description
Speed & Cruise Controls
Emission Controls
OBD II Symbol Description Notice
Handling ESD Sensitive Parts Notice
Handling ESD Sensitive Parts Notice
Handling ESD Sensitive Parts Notice
Handling ESD Sensitive Parts Notice
IGN-E and ENG-1 Fuse
IGN-A Fuse and Ignition Switch
G104
Figure 8:

Speed & Cruise Controls


Object Number: 482431  Size: FS
Engine Controls Components
Speed Density System Description
Transmission Shift Controls
Oxygen Sensors
OBD II Symbol Description Notice
Handling ESD Sensitive Parts Notice
Handling ESD Sensitive Parts Notice
Handling ESD Sensitive Parts Notice
Handling ESD Sensitive Parts Notice
Handling ESD Sensitive Parts Notice
Handling ESD Sensitive Parts Notice
Handling ESD Sensitive Parts Notice
G101, G106 and G302
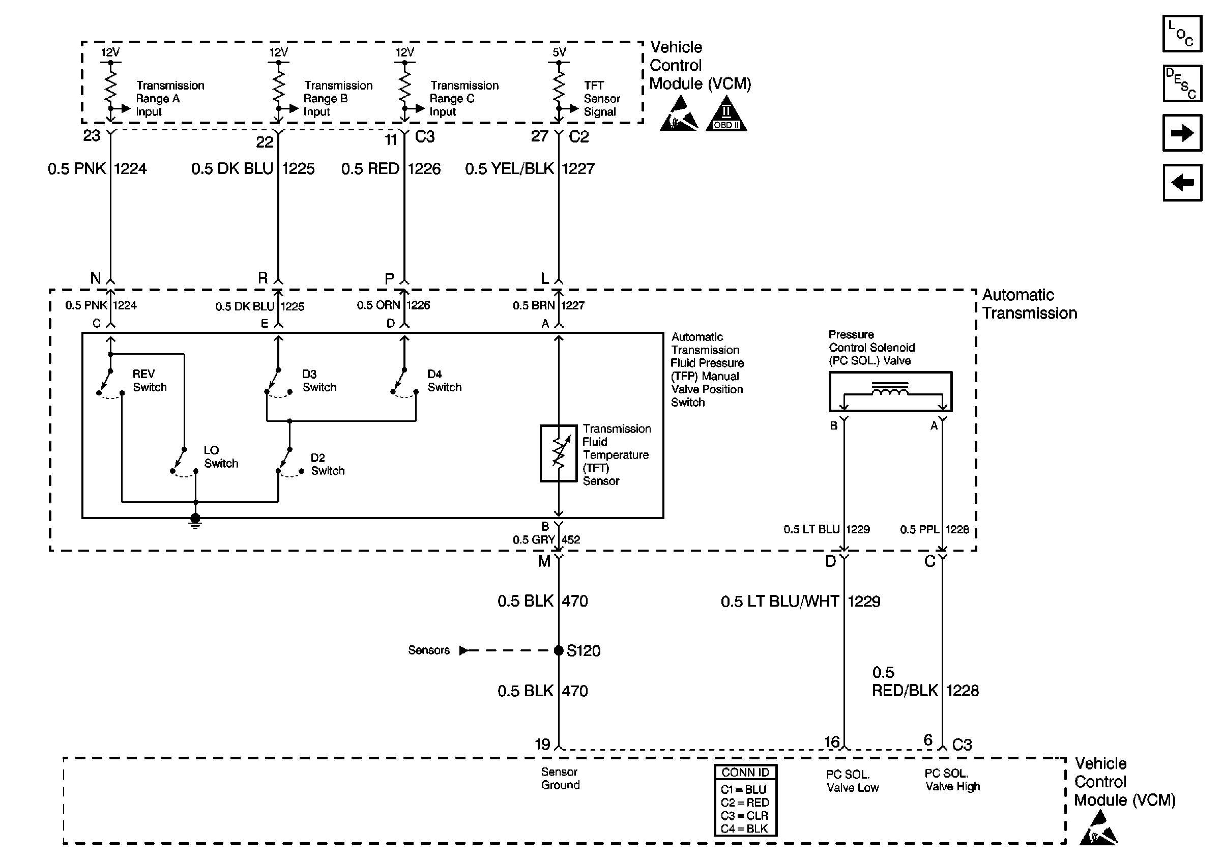
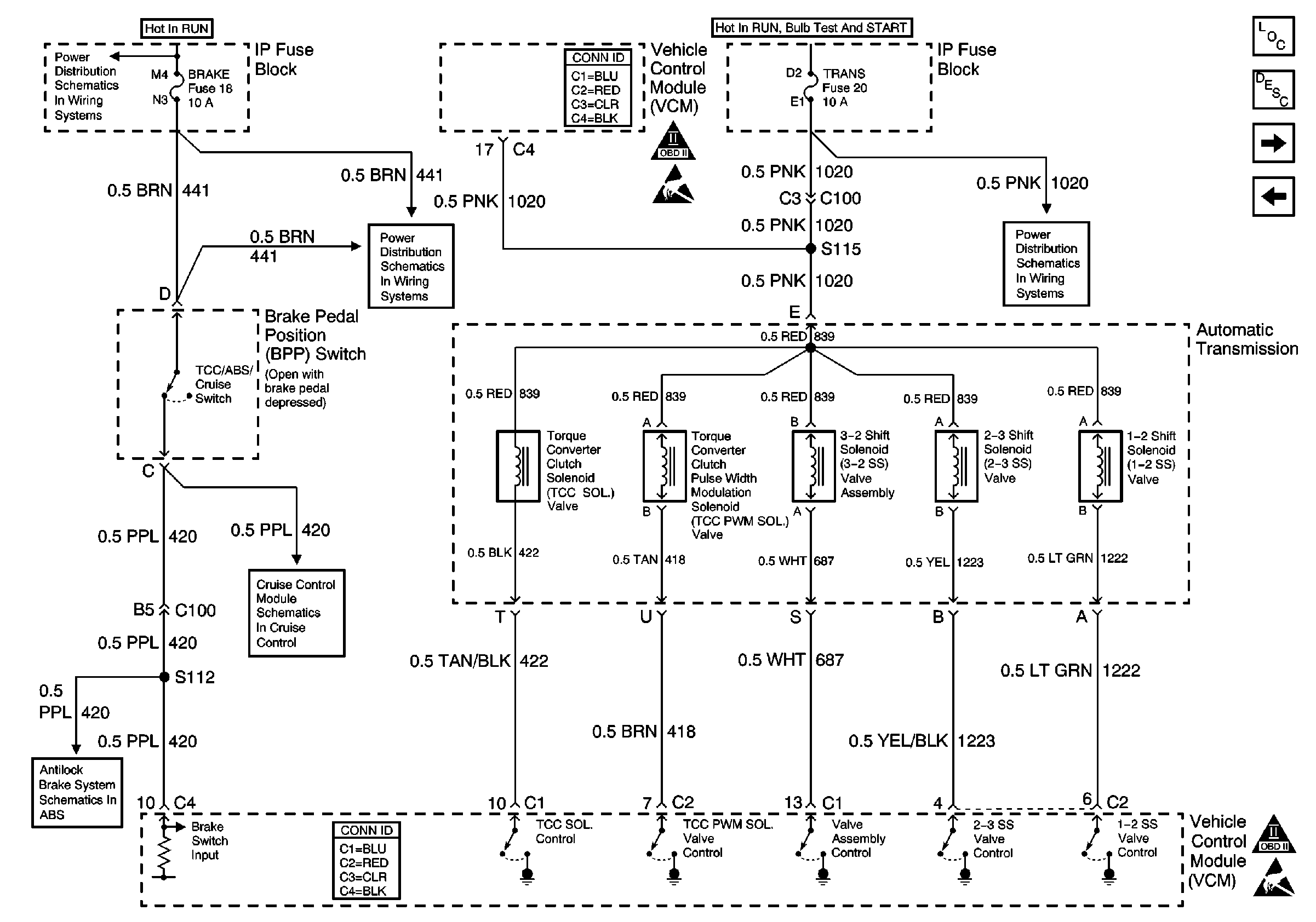
Figure 9:

Transmission Shift Controls


Object Number: 482432  Size: FS
Engine Controls Components
Electronic Component Description
Transmission Switch Input Controls
Speed & Cruise Controls
EBCM Power Supply and Communication
IGN-B Fuse and Ignition Switch
OBD II Symbol Description Notice
Handling ESD Sensitive Parts Notice
HTR-A/C Fuse 12, BRAKE Fuse 18 and CRUISE Fuse 6
TRANS Fuse 20 and WINDOWS Circuit Breaker
OBD II Symbol Description Notice
Handling ESD Sensitive Parts Notice
Cruise Control Schematics
Figure 10:

Transmission Switch Input Controls


Object Number: 482436  Size: FS
Engine Controls Components
Transmission Component and System Description
Transmission Range, Tow/Haul Switch Input Controls
Transmission Shift Controls
Handling ESD Sensitive Parts Notice
OBD II Symbol Description Notice
Handling ESD Sensitive Parts Notice
Fuel Mixture Input Controls
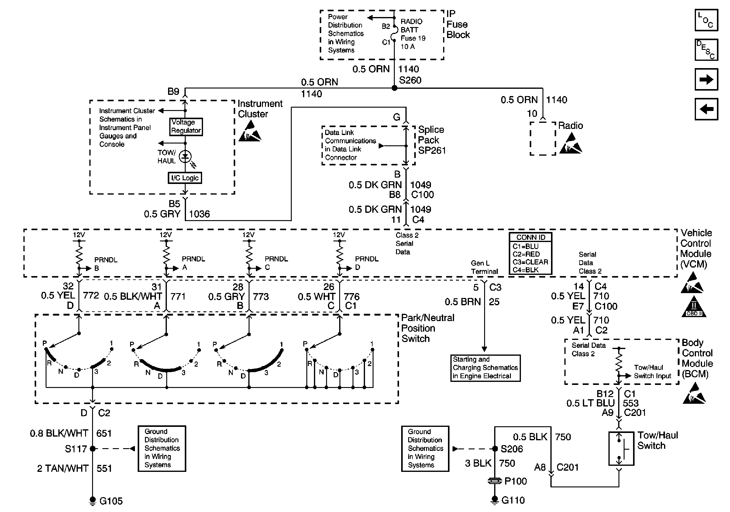
Figure 11:

Transmission Range, Tow/Haul Switch Input Controls


Object Number: 587888  Size: FS
Engine Controls Components
Transmission Component and System Description
A/C Compressor Controls
Transmission Switch Input Controls
Handling ESD Sensitive Parts Notice
Handling ESD Sensitive Parts Notice
Handling ESD Sensitive Parts Notice
OBD II Symbol Description Notice
Handling ESD Sensitive Parts Notice
G105 and G107
G110 (1 of 2)
Engine Electrical Charging
RADIO BATT Fuse, Data Link, and CRUISE Fuse
Data Link Schematics (1 of 2)
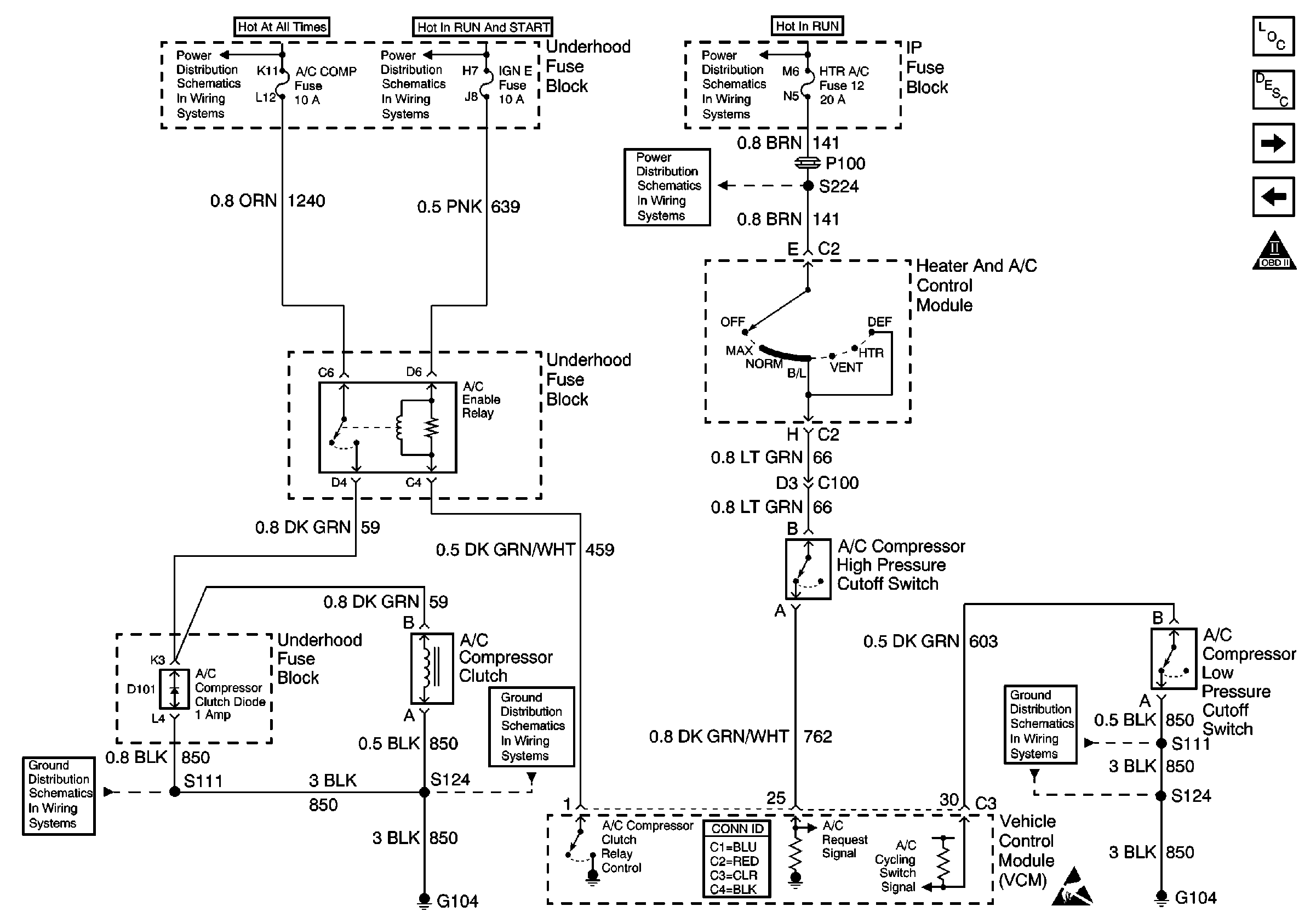
Figure 12:

A/C Compressor Controls


Object Number: 482437  Size: FS
Engine Controls Components
Information Sensors/Switches Description
Fuel Controls
Transmission Range, Tow/Haul Switch Input Controls
OBD II Symbol Description Notice
Handling ESD Sensitive Parts Notice
Battery, Generator, Starter Solenoid, and Underhood Fuse BLock
IGN-A Fuse and Ignition Switch
Battery, Generator, Starter Solenoid, and Underhood Fuse BLock
HTR-A/C Fuse 12, BRAKE Fuse 18 and CRUISE Fuse 6
G104
G104
G104
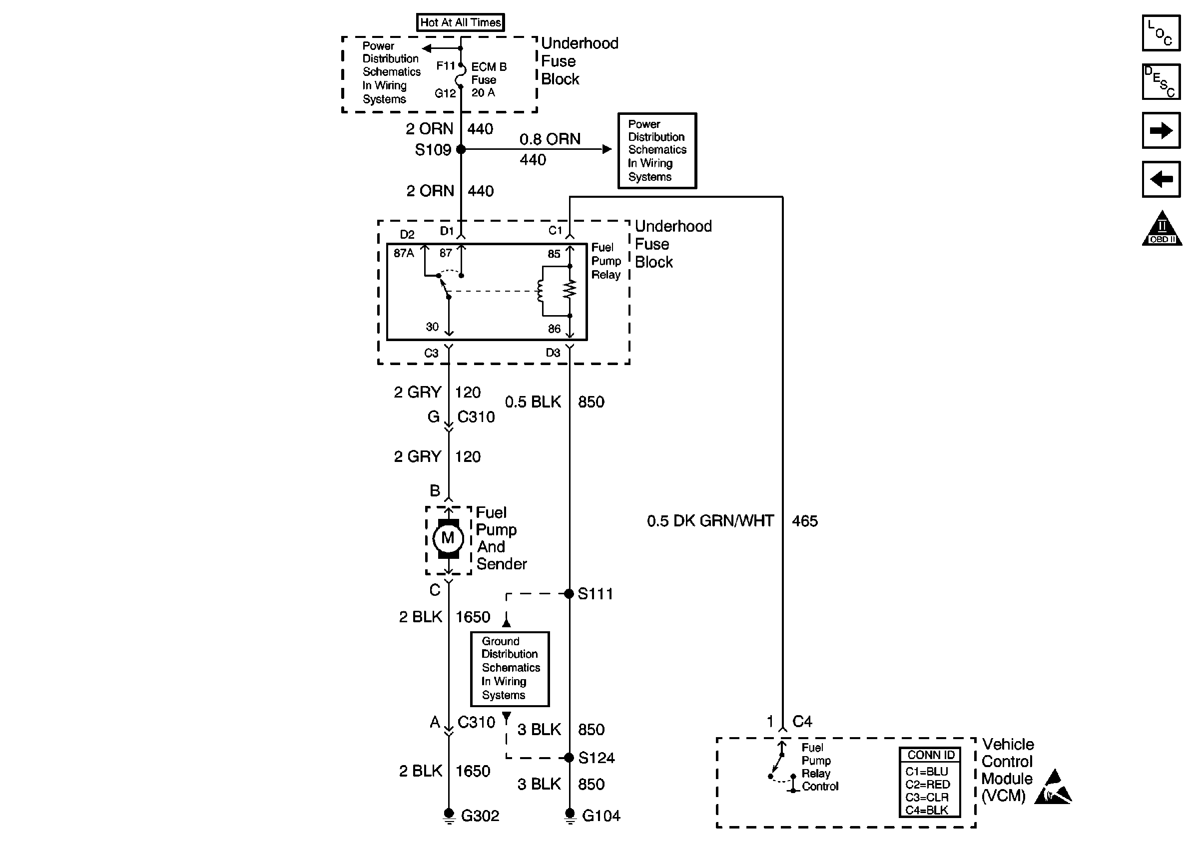
Figure 13:

Fuel Controls


Object Number: 482439  Size: FS
Engine Controls Components
Fuel Supply Component Description
A/C Compressor Controls
OBD II Symbol Description Notice
Handling ESD Sensitive Parts Notice
Fuel Mixture Input Controls
Fuel Mixture Input Controls