GM Service Manual Online
For 1990-2009 cars only
Makes
🢒
Chevrolet
🢒
2000
🢒
Blazer - 4WD - RHD
🢒 Fuel Injection Controls
Fuel Injection Controls
Fuel Injection Controls
Engine Controls Components
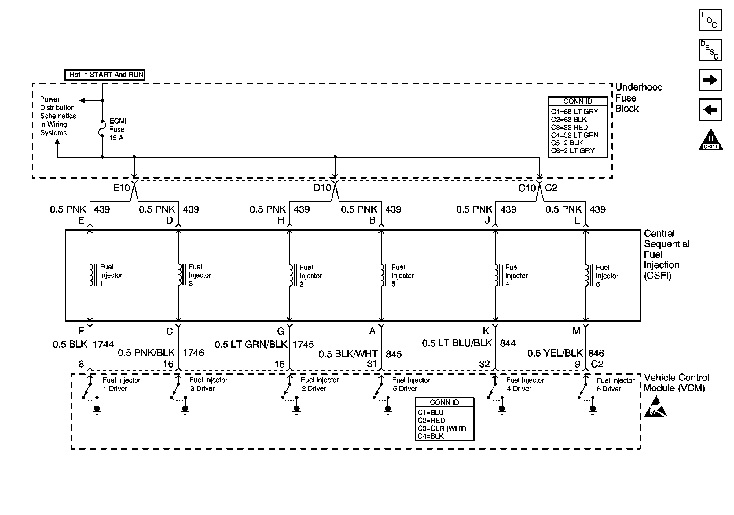
Central Sequential Duel Injection Fuel System Description
Engine Sensors
Fuel Level Sensor
OBD II Symbol Description Notice
ECM I Fuse
Power and Grounding Connector End Views
VCM Connector End Views
Handling ESD Sensitive Parts Notice