GM Service Manual Online
For 1990-2009 cars only
Figure 1:

Power and Ground


Object Number: 487998  Size: FS
Engine Controls Components
Powertrain Control Module Description
Ignition Relay
OBD II Symbol Description Notice
Handling ESD Sensitive Parts Notice
AIR PUMP, FUEL PUMP and PCM BAT Fuses
ABS IGN, PCM IGN, and STRTR Fuses
Powertrain Control Module Connector End Views
G110 V8 VIN G
Handling ESD Sensitive Parts Notice
Figure 2:

Ignition Relay


Object Number: 1869012  Size: FS
Engine Controls Components
Powertrain Control Module Description
Data Link Connector
Power and Ground
Fusible Links, CIG/ACCY, ENG CTRL, IGN, I/P-1, I/P-2, and PWR ACCY Fuses
Ignition Switch
Ignition Switch
Ignition Switch
G105
Figure 3:

Data Link Connector


Object Number: 487999  Size: FS
Engine Controls Components
Powertrain Control Module Description
Ignition Modules/Coils, Bank 1
Ignition Relay
OBD II Symbol Description Notice
Handling ESD Sensitive Parts Notice
Fusible Links, CIG/ACCY, ENG CTRL, IGN, I/P-1, I/P-2, and PWR ACCY Fuses
Fusible Links, CIG/ACCY, ENG CTRL, IGN, I/P-1, I/P-2, and PWR ACCY Fuses
Ground Distribution Schematics
Class 2 Serial Data Line
Powertrain Control Module Connector End Views
Figure 4:

Ignition Modules/Coils, Bank 1


Object Number: 488001  Size: FS
Engine Controls Components
Electronic Ignition (EI) System Description
Ignition Modules/Coils, Bank 2
Data Link Connector
Handling ESD Sensitive Parts Notice
OBD II Symbol Description Notice
Powertrain Control Module Connector End Views
INJ 1 Fuse
INJ 1 Fuse
G112 V8 VIN G
Figure 5:

Ignition Modules/Coils, Bank 2


Object Number: 488003  Size: FS
Engine Controls Components
Electronic Ignition (EI) System Description
Camshaft Position Sensor, Crankshaft Position Sensor, and Knock Sensors
Ignition Modules/Coils, Bank 1
OBD II Symbol Description Notice
Handling ESD Sensitive Parts Notice
Powertrain Control Module Connector End Views
INJ 2 Fuse
INJ 2 Fuse
G112 V8 VIN G
Figure 6:

Camshaft Position Sensor, Crankshaft Position Sensor, and Knock Sensors


Object Number: 488005  Size: FS
Engine Controls Components
Electronic Ignition (EI) System Description
BCM and Fuel Pump
Ignition Modules/Coils, Bank 2
OBD II Symbol Description Notice
Handling ESD Sensitive Parts Notice
Handling ESD Sensitive Parts Notice
Powertrain Control Module Connector End Views
Figure 7:

BCM and Fuel Pump


Object Number: 488006  Size: FS
Engine Controls Components
Fuel Metering System Component Description
Fuel Tank Unit
Camshaft Position Sensor, Crankshaft Position Sensor, and Knock Sensors
OBD II Symbol Description Notice
Handling ESD Sensitive Parts Notice
Handling ESD Sensitive Parts Notice
AIR PUMP, FUEL PUMP and PCM BAT Fuses
Fuel Tank Unit
Powertrain Control Module Connector End Views
G110 V8 VIN G
Figure 8:

Fuel Tank Unit


Object Number: 488008  Size: FS
Engine Controls Components
Fuel Metering System Component Description
Fuel Injectors
BCM and Fuel Pump
OBD II Symbol Description Notice
Handling ESD Sensitive Parts Notice
BCM and Fuel Pump
G305, G310, G320
Powertrain Control Module Connector End Views
Figure 9:

Fuel Injectors


Object Number: 488010  Size: FS
Engine Controls Components
Fuel Supply Component Description
Engine Sensors
Fuel Tank Unit
OBD II Symbol Description Notice
Handling ESD Sensitive Parts Notice
INJ 2 Fuse
INJ 2 Fuse
INJ 1 Fuse
Powertrain Control Module Connector End Views
Figure 10:

Engine Sensors


Object Number: 488011  Size: FS
Engine Controls Components
Information Sensors/Switches Description
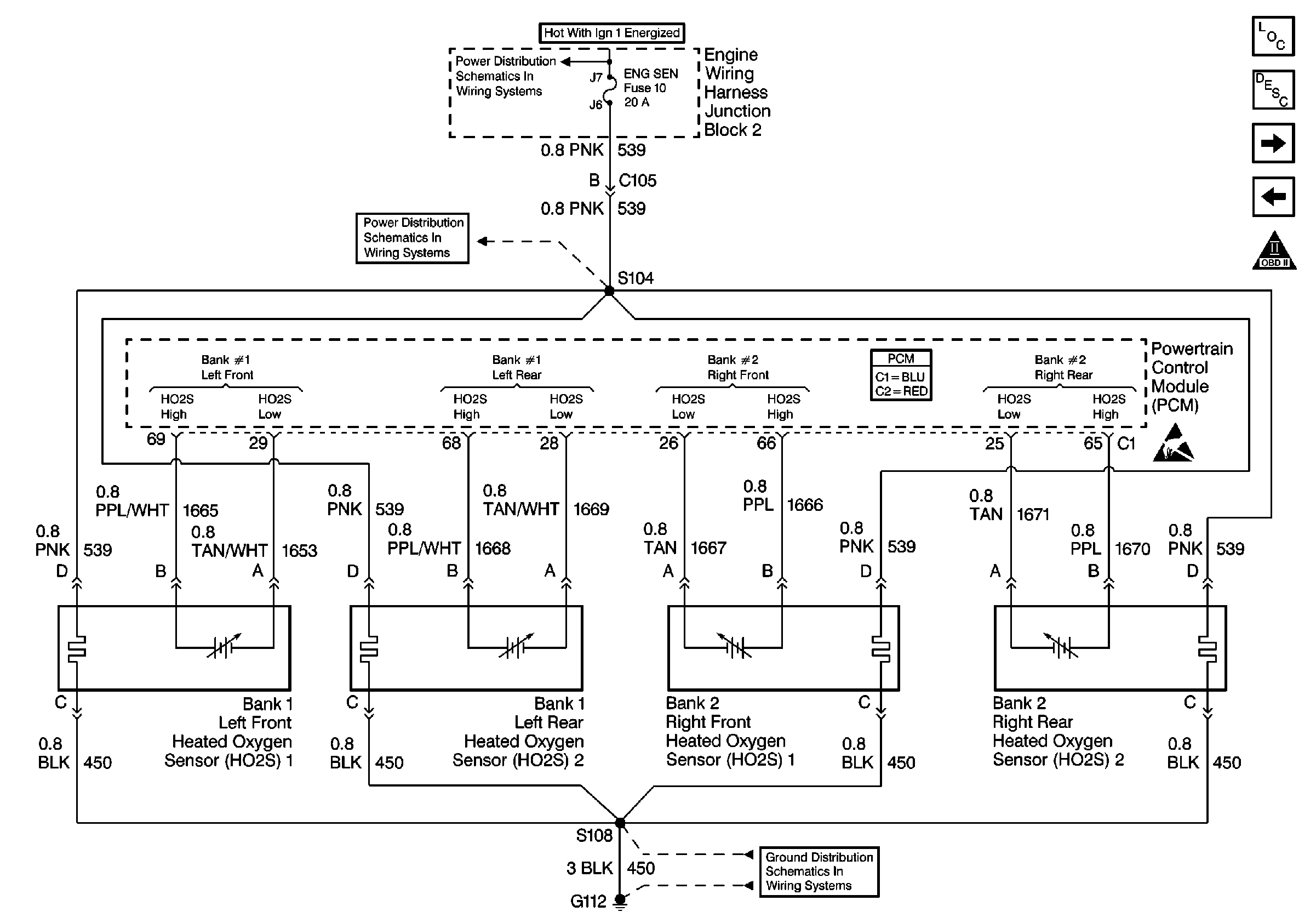
Oxygen Sensors
Fuel Injectors
OBD II Symbol Description Notice
Handling ESD Sensitive Parts Notice
Handling ESD Sensitive Parts Notice
Powertrain Control Module Connector End Views
ENG SEN Fuse
ENG SEN Fuse
Antilock Brake System Schematics
A/C Compressor Control
Antilock Brake System Schematics
G110 V8 VIN G
Figure 11:

Oxygen Sensors


Object Number: 488014  Size: FS
Engine Controls Components
Information Sensors/Switches Description
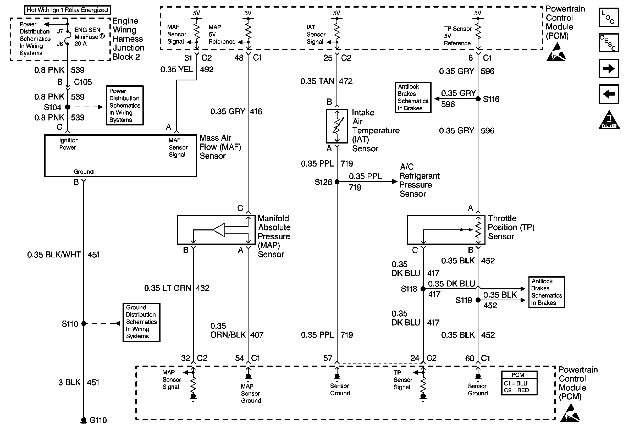
AIR Pump and IAC
Engine Sensors
OBD II Symbol Description Notice
Handling ESD Sensitive Parts Notice
ENG SEN Fuse
ENG SEN Fuse
Powertrain Control Module Connector End Views
G112 V8 VIN G
Figure 12:

AIR Pump and IAC


Object Number: 488016  Size: FS
Engine Controls Components
Information Sensors/Switches Description
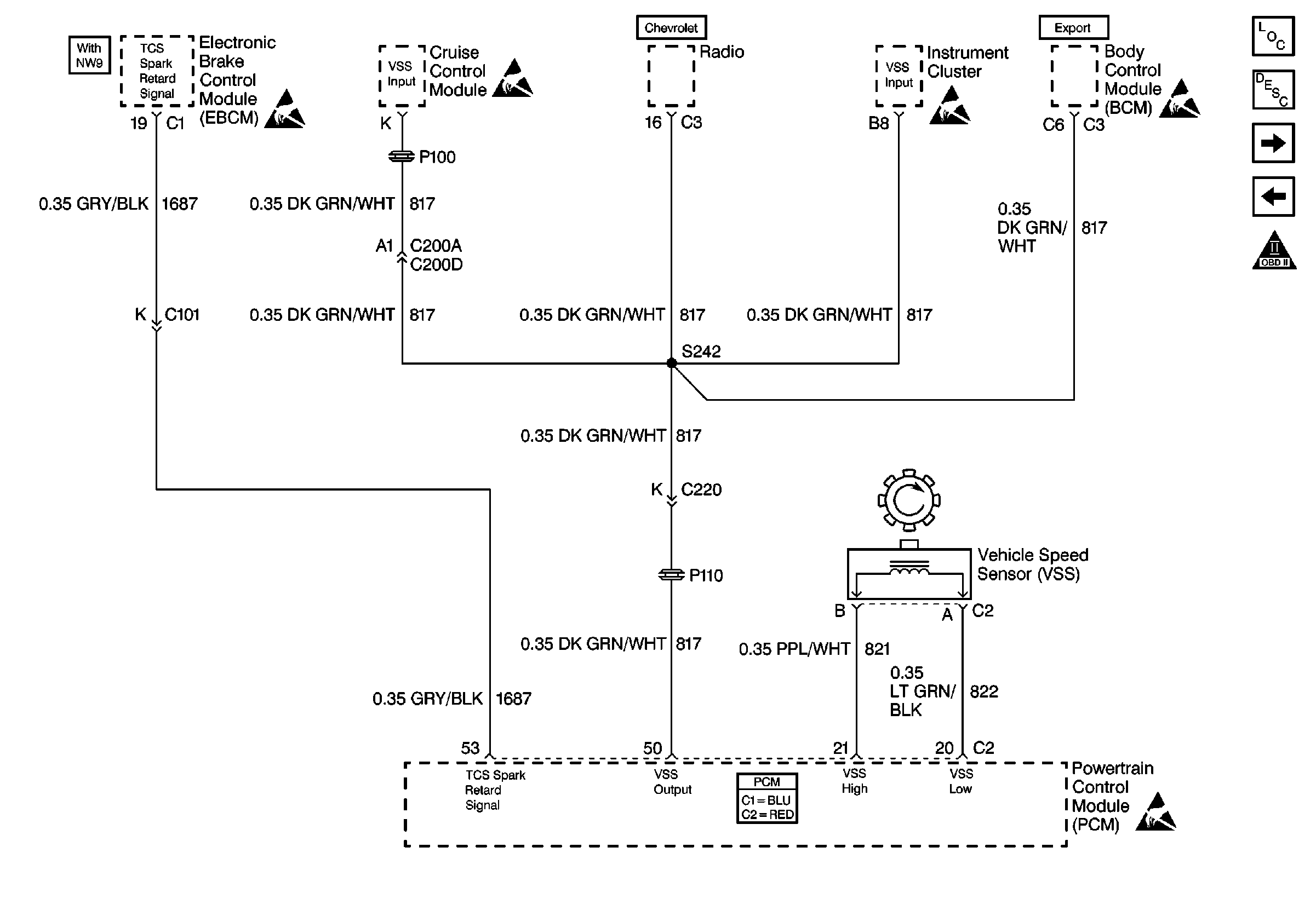
BCM, Cruise Control Module, EBCM, IPC, Radio, and VSS
Oxygen Sensors
OBD II Symbol Description Notice
AIR PUMP, FUEL PUMP and PCM BAT Fuses
Handling ESD Sensitive Parts Notice
Powertrain Control Module Connector End Views
G106
Figure 13:

BCM, Cruise Control Module, EBCM, IPC, Radio, and VSS


Object Number: 488019  Size: FS
Engine Controls Components
Information Sensors/Switches Description
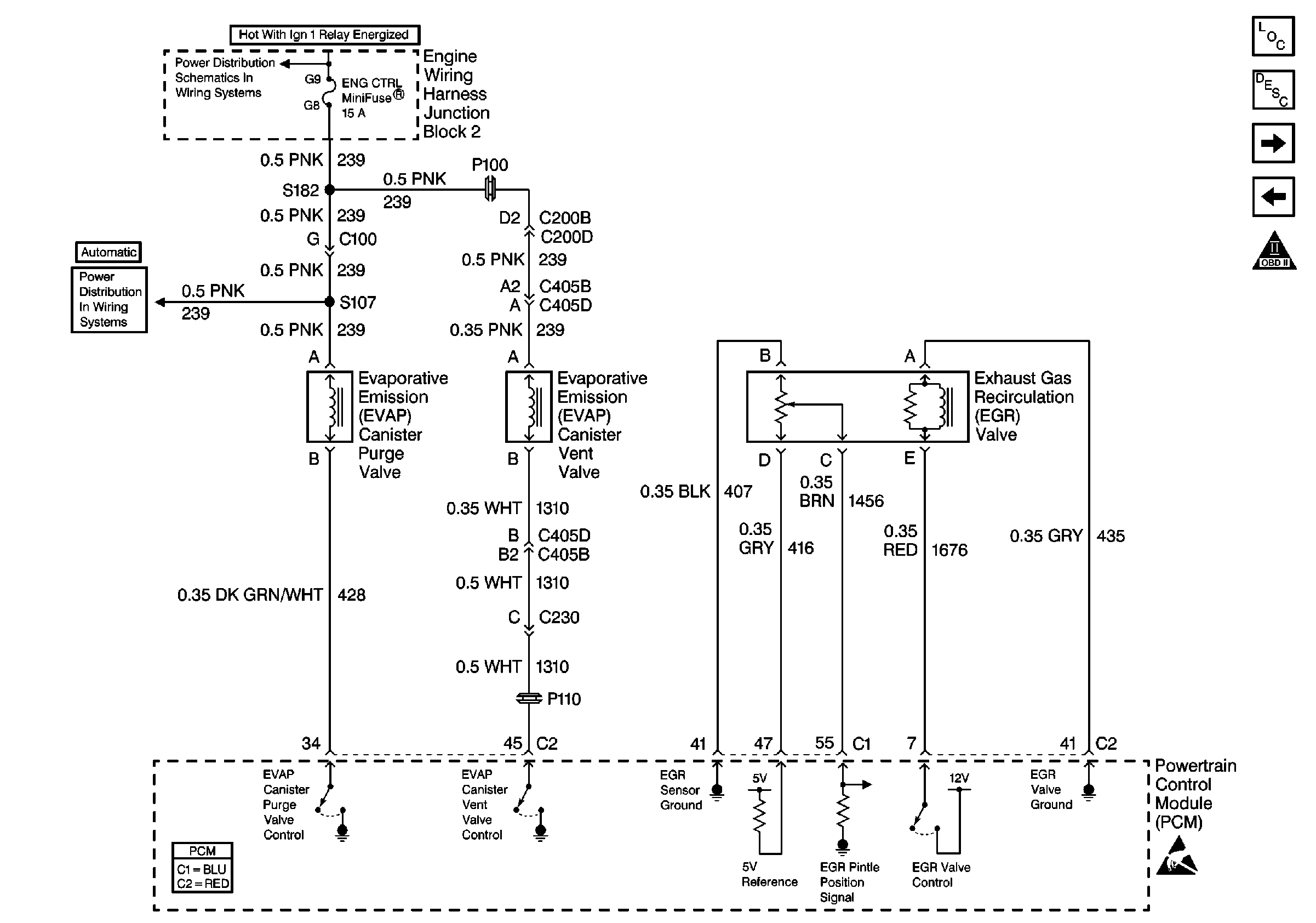
EGR and EVAP
AIR Pump and IAC
OBD II Symbol Description Notice
Handling ESD Sensitive Parts Notice
Handling ESD Sensitive Parts Notice
Handling ESD Sensitive Parts Notice
Handling ESD Sensitive Parts Notice
Handling ESD Sensitive Parts Notice
Powertrain Control Module Connector End Views
Figure 14:

EGR and EVAP


Object Number: 488020  Size: FS
Engine Controls Components
Evaporative Emission Control System Operation Description
Cruise Control Module, ECT Sensor, Engine Oil Level Switch and Generator
BCM, Cruise Control Module, EBCM, IPC, Radio, and VSS
OBD II Symbol Description Notice
Handling ESD Sensitive Parts Notice
Powertrain Control Module Connector End Views
ENG CTRL Fuse
ENG CTRL Fuse
Figure 15:

Cruise Control Module, ECT Sensor, Engine Oil Level Switch and Generator


Object Number: 488021  Size: FS
Engine Controls Components
Information Sensors/Switches Description
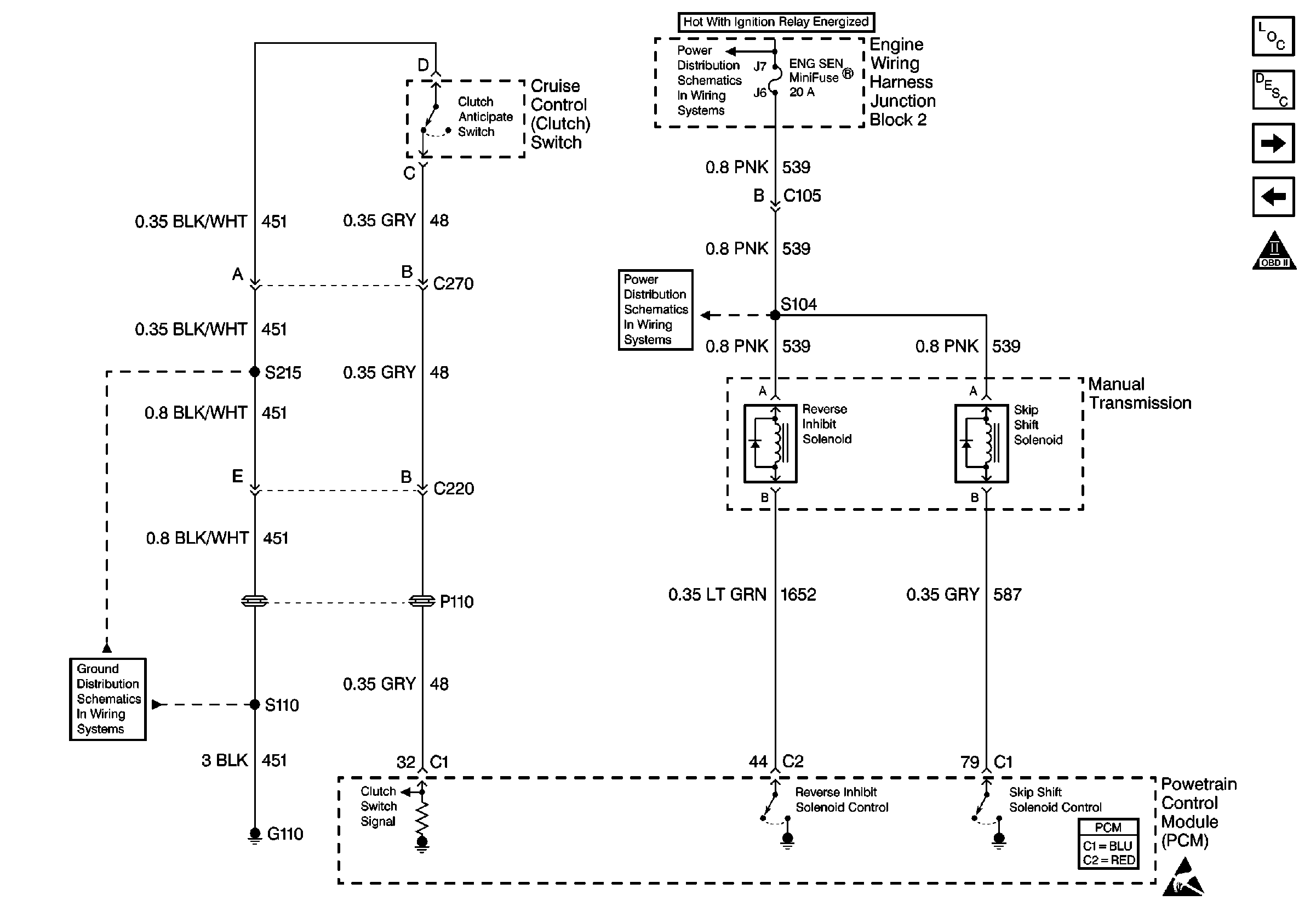
Cruise Control Clutch Switch and Manual Transmission
EGR and EVAP
OBD II Symbol Description Notice
Handling ESD Sensitive Parts Notice
Handling ESD Sensitive Parts Notice
G110 V8 VIN G
Powertrain Control Module Connector End Views
Figure 16:

Cruise Control Clutch Switch and Manual Transmission


Object Number: 488023  Size: FS
Engine Controls Components
Information Sensors/Switches Description
Automatic Transmission and Stop Lamp Switch
Cruise Control Module, ECT Sensor, Engine Oil Level Switch and Generator
OBD II Symbol Description Notice
ENG SEN Fuse
ENG SEN Fuse
G110 V8 VIN G
Powertrain Control Module Connector End Views
Handling ESD Sensitive Parts Notice
Figure 17:

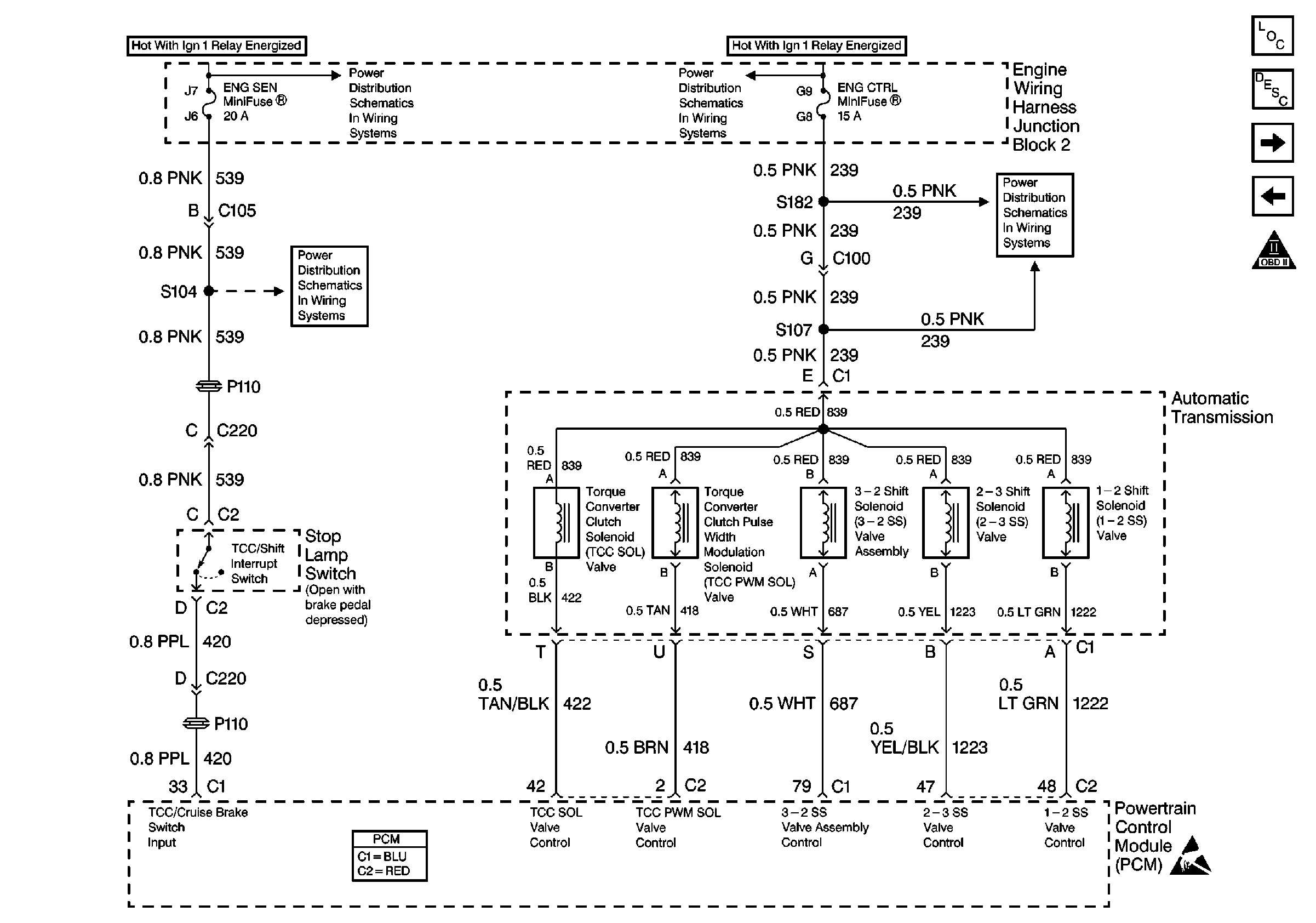
Automatic Transmission and Stop Lamp Switch


Object Number: 488026  Size: FS
Engine Controls Components
Information Sensors/Switches Description
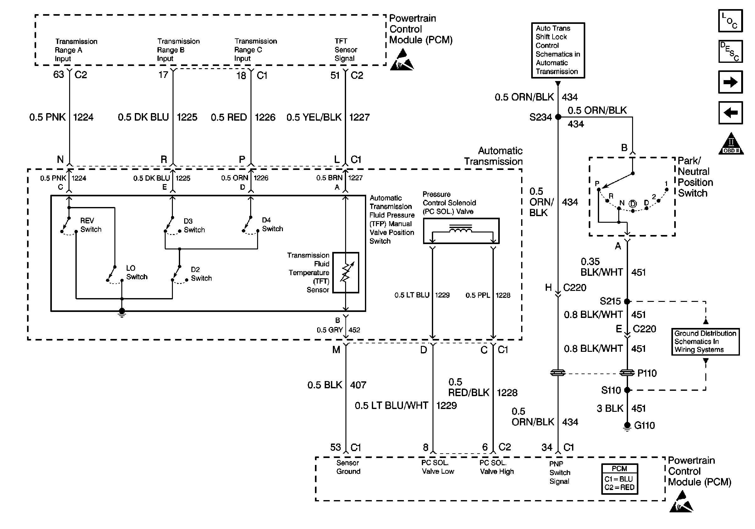
Automatic Transmission and Park/Neutral Position Switch
Cruise Control Clutch Switch and Manual Transmission
OBD II Symbol Description Notice
Handling ESD Sensitive Parts Notice
ENG SEN Fuse
ENG CTRL Fuse
ENG SEN Fuse
ENG CTRL Fuse
Powertrain Control Module Connector End Views
Figure 18:

Automatic Transmission and Park/Neutral Position Switch


Object Number: 488028  Size: FS
Engine Controls Components
Information Sensors/Switches Description
A/C Compressor Control
Automatic Transmission and Stop Lamp Switch
OBD II Symbol Description Notice
Handling ESD Sensitive Parts Notice
Handling ESD Sensitive Parts Notice
AT Shift Lock Control Actuator Solenoid, and Diode
Powertrain Control Module Connector End Views
Figure 19:

A/C Compressor Control


Object Number: 488031  Size: FS
Engine Controls Components
Powertrain Control Module Controlled Air Conditioning Description
Cooling Fans
Automatic Transmission and Park/Neutral Position Switch
OBD II Symbol Description Notice
Handling ESD Sensitive Parts Notice
A/C CRUISE and ETC Fuses
A/C CRUISE and ETC Fuses
Powertrain Control Module Connector End Views
Engine Sensors
G112 V8 VIN G
Figure 20:

Cooling Fans


Object Number: 488034  Size: FS
Engine Controls Components
Engine Cooling Fan Description - Electric
A/C Compressor Control
OBD II Symbol Description Notice
Handling ESD Sensitive Parts Notice
Battery, ABS BAT-1 and COOL FAN Fuses
Battery, ABS BAT-1 and COOL FAN Fuses
Powertrain Control Module Connector End Views
G106