GM Service Manual Online
For 1990-2009 cars only
Makes
🢒
Chevrolet
🢒
2000
🢒
Chevrolet C-Series Medium Duty Truck B7
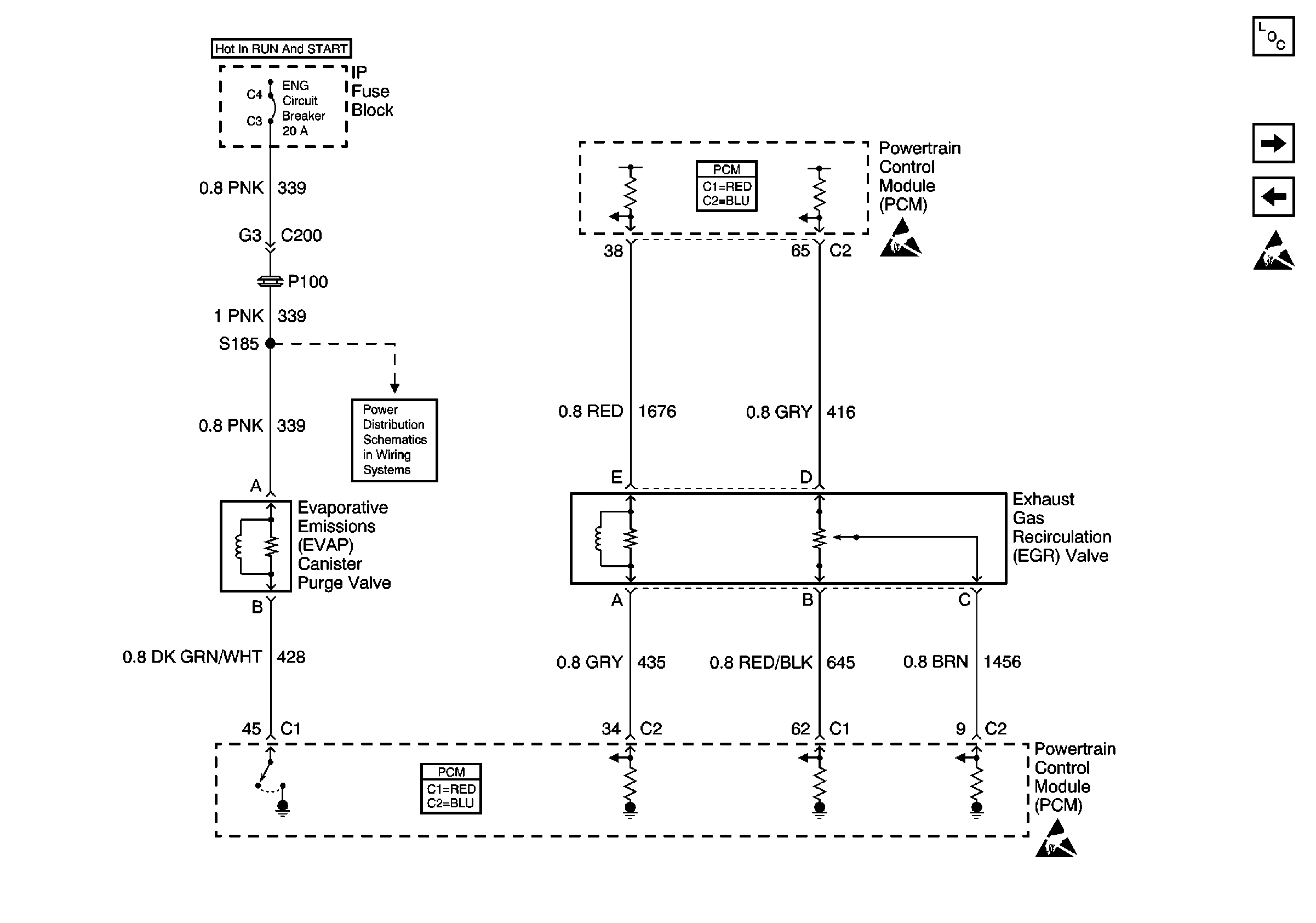
🢒 EGR and EVAP Valves
EGR and EVAP Valves
EGR and EVAP Valves
Engine Controls Components
TAC Module and Throttle Body
VSS
Handling ESD Sensitive Parts Notice
Powertrain Control Module Connector End Views
Handling ESD Sensitive Parts Notice
ENG, ECM, FUEL Circuit Breakers
Powertrain Control Module Connector End Views
Handling ESD Sensitive Parts Notice