GM Service Manual Online
For 1990-2009 cars only
Makes
🢒
Chevrolet
🢒
2002
🢒
Chevrolet C-Series Medium Duty Truck B7
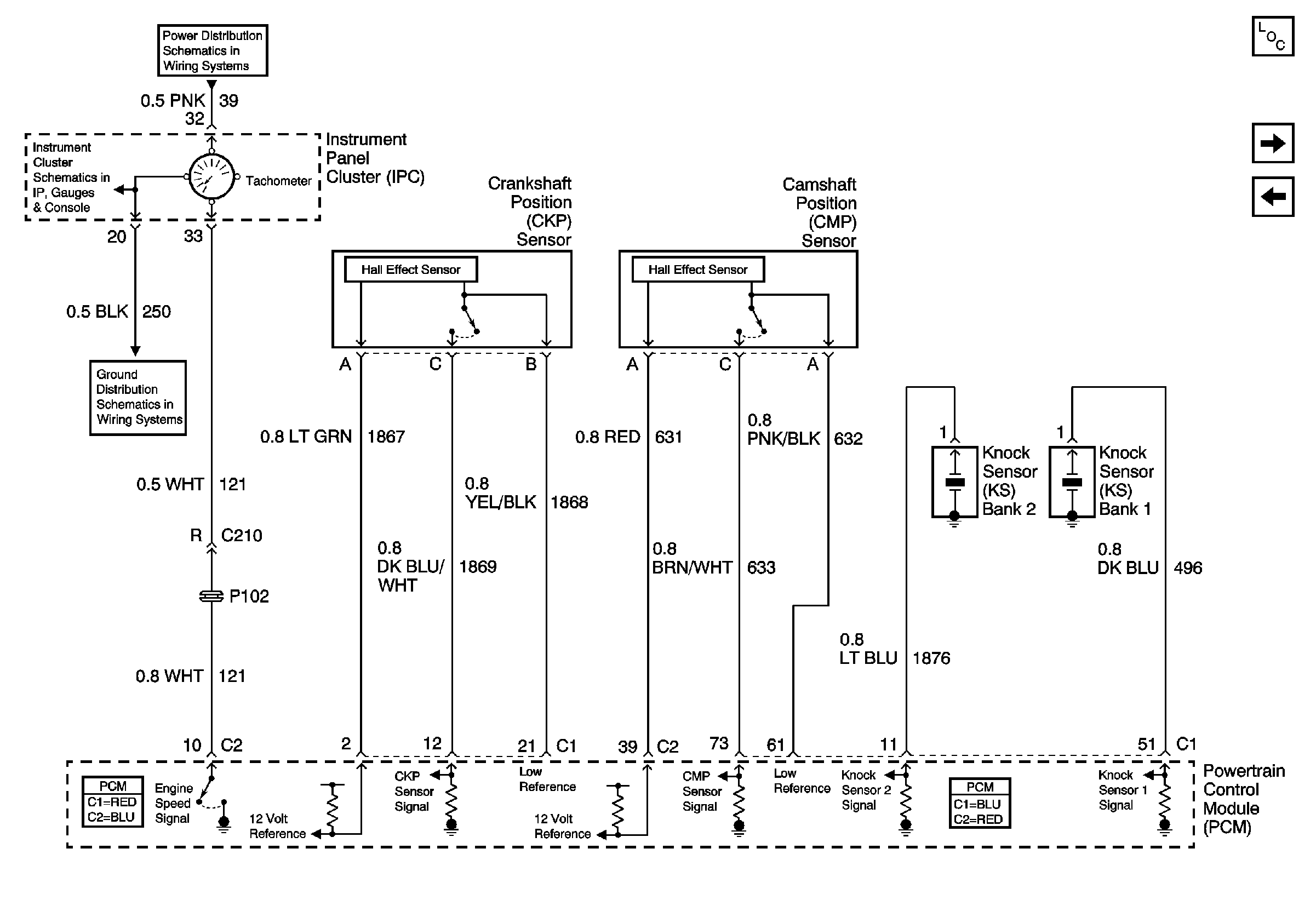
🢒 Camshaft Position (CMP) and Crankshaft Position (CKP) Sensors, Knock Sensors (KS) and Tachometer
Camshaft Position (CMP) and Crankshaft Position (CKP) Sensors, Knock Sensors (KS) and Tachometer
Camshaft Position (CMP) and Crankshaft Position (CKP) Sensors, Knock Sensors (KS) and Tachometer
Master Electrical Component List
Fuel Enable and Fuel Injectors
Ignition Coils
IGN 1 Circuit Breaker, S232, S243
Instrument Panel Cluster (IPC), Fuel Gauge, Generator Charge Indicator, Speedometer and Tachometer
S105, S261 and S231