GM Service Manual Online
For 1990-2009 cars only
Makes
🢒
Chevrolet
🢒
1999
🢒
Chevy P42 Commercial Chassis
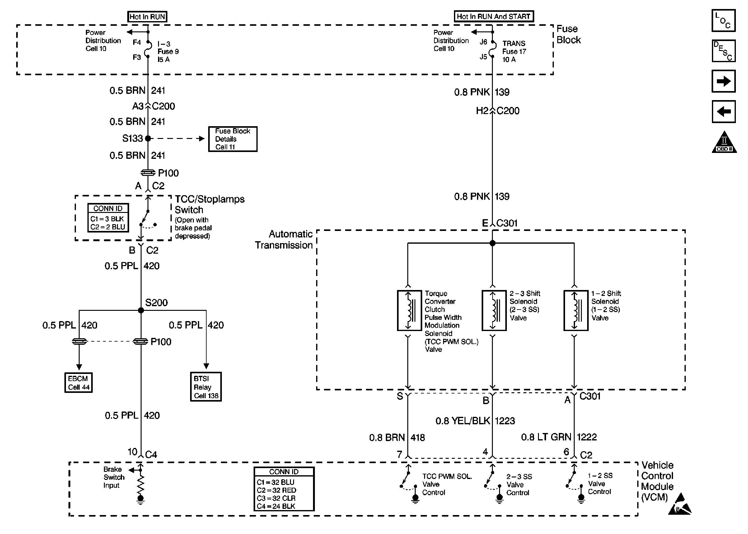
🢒 Cell 21: A/T Controls - Solenoids and TCC Stoplamp Switch
Cell 21: A/T Controls - Solenoids and TCC Stoplamp Switch
Cell 21: A/T Controls -- Solenoids and TCC Stoplamp Switch
Engine Controls Components
Electronic Component Description
Cell 21: A/T Controls - Internal Switches and TISS
Cell 21: Stoplamp and Clutch Pedal Position Switch Inputs
OBD II Symbol Description Notice
Cell 10: Ignition Switch and Fuse Block
Cell 21: Power and Grounding
Cell 10: Ignition Switch and Fuse Block
Handling ESD Sensitive Parts Notice
Cell 138: P42 BTSI Circuit
Cell 44: Gas, ABS Power and Grounding, DLC Output