GM Service Manual Online
For 1990-2009 cars only
Makes
🢒
Chevrolet
🢒
2005
🢒
Classic
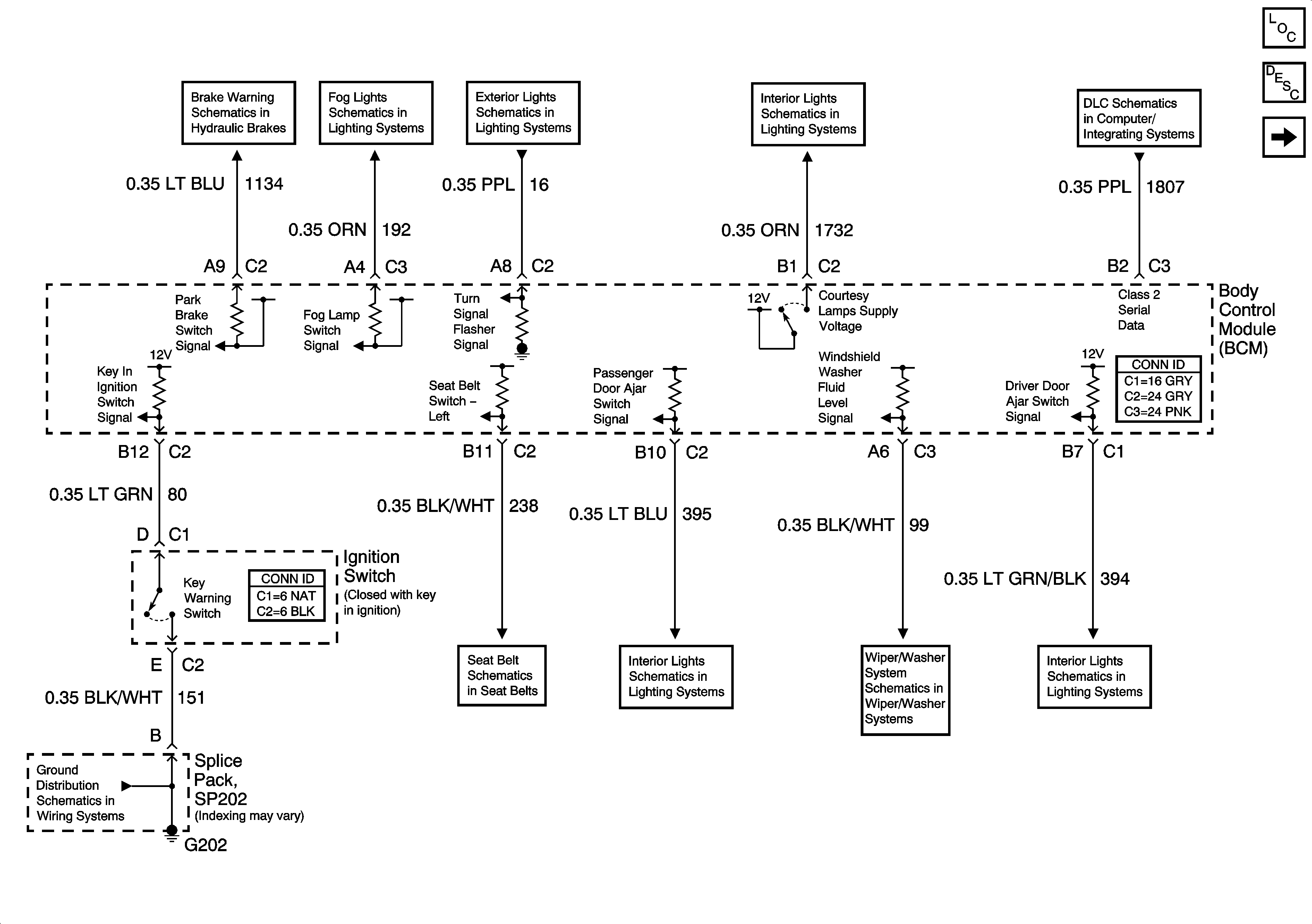
🢒 Ignition Switch, Seat Belt, and Door Ajar Inputs
Ignition Switch, Seat Belt, and Door Ajar Inputs
Ignition Switch, Seat Belt, and Door Ajar Inputs
Master Electrical Component List
Audible Warnings Description and Operation
Communications, Theft Deterrent, and Engine Cooling
Brake Warning System Schematics
Fog Lights Schematics
Turn Signal and Hazard Switch
Power and Dome Lamps
Data Link Connector (DLC) Schematics
SP202
Seat Belts Schematics
Door Ajar Lamps
Washer Level Sensor
Door Ajar Lamps