GM Service Manual Online
For 1990-2009 cars only

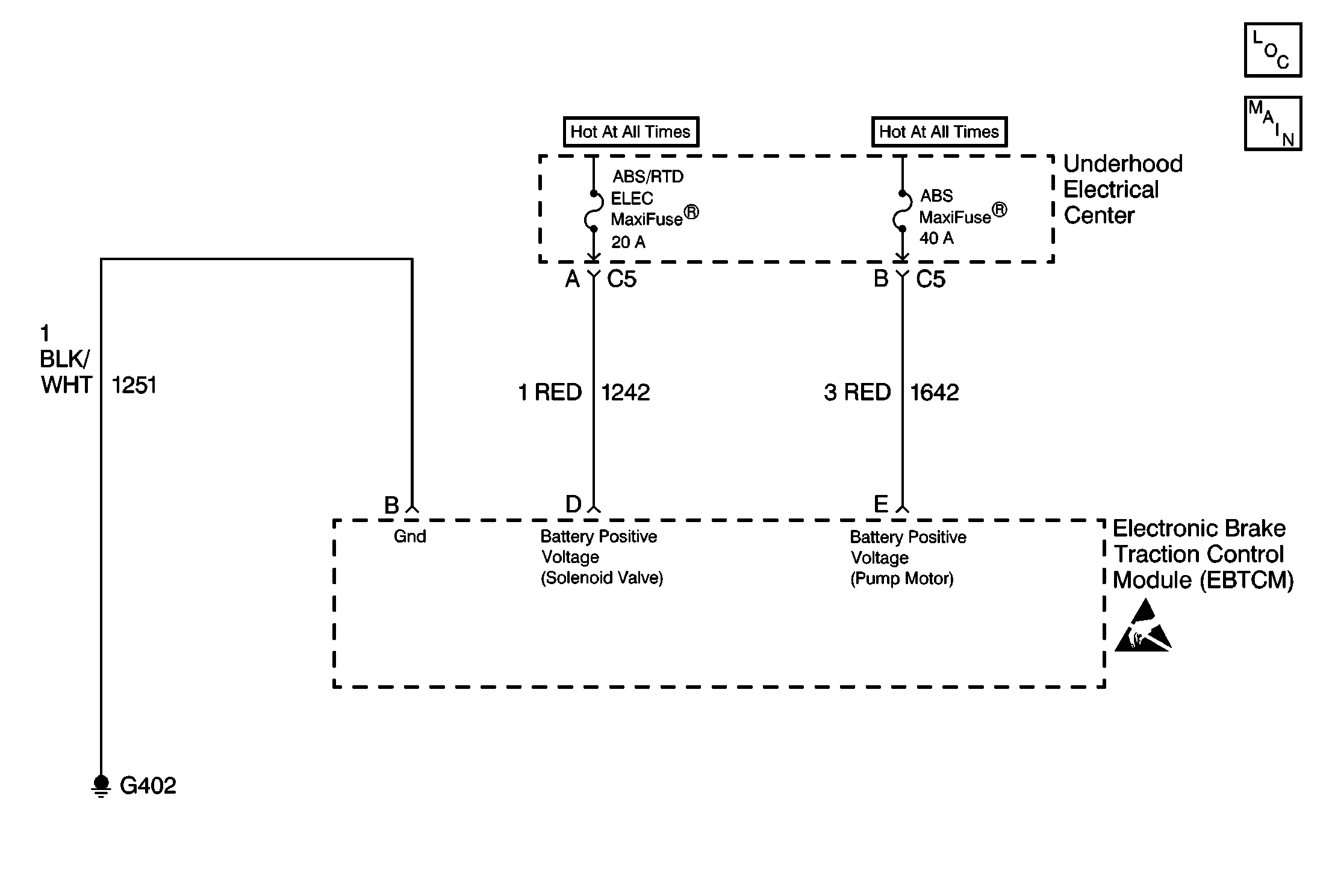
DTC C1217 Pump Motor Relay Contact Circuit Open Rear Mounted EBTCM/BPMV


Object Number: 278746  Size: MF

Circuit Description

The pump motor is an integral part of the BPMV, while the pump motor relay is integral to the EBTCM. The pump motor relay is not engaged during normal system operation. When an ABS/TCS operation is required, the EBTCM activates the pump motor relay and battery power is provided to the pump motor.

Conditions for Setting the DTC

DTC C1217 will set anytime the pump motor relay is commanded on and the pump relay voltage is less than 8 volts, and ignition voltage is greater than 10.5 volts.

Action Taken When the DTC Sets

ABS/TCS are disabled.

    • Indicators that turn on:
       - ABS indicator
       - Car Icon (TCS indicator)
    • Messages displayed on the DIC:
       - Service ABS
       - Service Traction System

Conditions for Clearing the DTC

    • Condition for DTC is no longer present and scan tool clear DTC function is used.
    • Fifty ignition cycles have passed with no DTCs detected.

Diagnostic Aids

    • It is very important that a thorough inspection of the wiring and connectors be performed. Failure to carefully and fully inspect wiring and connectors may result in misdiagnosis, causing part replacement with reappearance of the malfunction.
    • If an intermittent malfunction exists refer to Testing for Electrical Intermittents in Wiring Systems.

Test Description

The numbers below refer to step numbers on the diagnostic table.

  1. Checks for a short to ground in CKT 1642.

  2. Checks for an internal short in the BPMV.

  3. Checks for an open in CKT 1642.

DTC C1217 Pump Motor Relay Contact Circuit Open

Step

Action

Value(s)

Yes

No

1

Was the Diagnostic System Check performed?

--

Go to Step 2

Go to Diagnostic System Check

2

Inspect the 40A ABS Maxifuse®, in the Underhood Electrical Center.

Is the fuse OK?

--

Go to Step 7

Go to Step 3

3

  1. Install a new 40A ABS Maxifuse®.
  2. Cycle the ignition switch from the OFF to ON position, engine off.
  3. Using a scan tool in ABS/TCS Special Functions attempt to run the AUTOMATED test.
  4. Recheck the 40A ABS Maxifuse® fuse.

Is the fuse OK?

--

Go to Diagnostic System Check

Go to Step 4

4

  1. Turn the Ignition switch to the OFF position.
  2. Remove the 40A ABS Maxifuse®.
  3. Disconnect the EBTCM.
  4. Disconnect the pump motor ground.
  5. Connect the J 39700 Universal Pinout Box using the J 39700-25 cable adapter to the EBTCM harness connector only.
  6. Using J 39200 DMM, measure the resistance between terminals E and B of J 39700 .

Is the resistance within the range specified in the value(s) column?

OL (infinite)

Go to Step 5

Go to Step 10

5

  1. Remove the EBTCM from the BPMV.
  2. Connect the J 41247 Pinout Box to the BPMV.
  3. Measure the resistance between J 41247 terminal 8 and the BPMV case.

Is the resistance within the range specified in the value(s) column?

OL (infinite)

Go to Step 9

Go to Step 6

6

Replace the BPMV. Refer to Brake Pressure Modulator Valve Replacement .

Is the replacement complete?

--

Go to Diagnostic System Check

--

7

  1. Install the fuse if removed.
  2. Using J 39200 DMM, measure the voltage at the 40A ABS Maxifuse® by probing between the fuse test terminals and a good ground.

Is the voltage within the range specified in the value(s) column?

Battery volts

Go to Step 8

Go to Power Distribution Schematics in Wiring Systems

8

  1. Turn the Ignition switch to the OFF position.
  2. Disconnect the EBTCM.
  3. Connect J 39700 Universal Pinout Box using the J 39700-25 cable adaptor to the EBTCM harness connector only.
  4. Using J 39200 DMM, measure the voltage at terminal E of J 39700 .

Is the voltage within the range specified in the value(s) column?

Battery volts

Go to Step 9

Go to Step 11

9

Replace EBTCM. Refer to Electronic Brake Control Module Replacement .

Is the replacement complete?

--

Go to Diagnostic System Check

--

10

Repair short to ground in CKT 1642. Refer to Wiring Repairs in Wiring Systems.

Is the repair complete?

--

Go to Diagnostic System Check

--

11

Repair open in CKT 1642. Refer to Wiring Repairs in Wiring Systems.

Is the repair complete?

--

Go to Diagnostic System Check

--

DTC C1217 Pump Motor Relay Contact Circuit Open Front Mounted EBTCM/BPMV


Object Number: 479923  Size: MF
ABS/TCS Schematics Front Mounted EBTCM/BPMV
ABS Components

Circuit Description

The pump motor is an integral part of the BPMV, while the pump motor relay is integral to the EBTCM. The pump motor relay is not engaged during normal system operation. When an ABS/TCS/Active Handling (if equipped with RPO JL4) operation is required, the EBTCM activates the pump motor relay and battery power is provided to the pump motor.

Conditions for Setting the DTC

DTC C1217 will set anytime the pump motor relay is commanded on and the pump relay voltage is less than 8 volts, and ignition voltage is greater than 10.5 volts.

Action Taken When the DTC Sets

ABS/TCS/Active Handling (if equipped with RPO JL4) are disabled.

    • Indicators that turn on:
       - ABS indicator
       - Car Icon (TCS indicator)
    • Messages displayed on the DIC:
       - Service ABS
       - Service Traction System
       - Service Active HNDLG (if equipped with Active Handling RPO JL4)

Conditions for Clearing the DTC

    • Condition for DTC is no longer present and scan tool clear DTC function is used.
    • Fifty ignition cycles have passed with no DTCs detected.

Diagnostic Aids

    • It is very important that a thorough inspection of the wiring and connectors be performed. Failure to carefully and fully inspect wiring and connectors may result in misdiagnosis, causing part replacement with reappearance of the malfunction.
    • If an intermittent malfunction exists refer to Testing for Electrical Intermittents in Wiring Systems.

Test Description

The numbers below refer to step numbers on the diagnostic table.

  1. Checks for a short to ground in CKT 1642.

  2. Checks for an internal short in the BPMV.

  3. Checks for an open in CKT 1642.

DTC C1217 Pump Motor Relay Contact Circuit Open

Step

Action

Value(s)

Yes

No

1

Was the Diagnostic System Check performed?

--

Go to Step 2

Go to Diagnostic System Check

2

Inspect the 40A ABS Maxifuse®, in the Underhood Electrical Center.

Is the fuse OK?

--

Go to Step 7

Go to Step 3

3

  1. Install a new 40A ABS Maxifuse®.
  2. Cycle the ignition switch from the OFF to ON position, engine off.
  3. Using a scan tool in ABS/TCS or ABS/TCS/Active Handling Special Functions attempt to run the AUTOMATED test.
  4. Recheck the 40A ABS Maxifuse® fuse.

Is the fuse OK?

--

Go to Diagnostic System Check

Go to Step 4

4

  1. Turn the Ignition switch to the OFF position.
  2. Remove the 40A ABS Maxifuse®.
  3. Disconnect the EBTCM.
  4. Disconnect the pump motor ground.
  5. Connect the J 39700 Universal Pinout Box using the J 39700-25 cable adapter to the EBTCM harness connector only.
  6. Using J 39200 DMM, measure the resistance between terminals E and B of J 39700 .

Is the resistance within the range specified in the value(s) column?

OL (infinite)

Go to Step 5

Go to Step 10

5

  1. Remove the EBTCM from the BPMV.
  2. Connect the J 41247 Pinout Box to the BPMV.
  3. Measure the resistance between J 41247 terminal 8 and the BPMV case.

Is the resistance within the range specified in the value(s) column?

OL (infinite)

Go to Step 9

Go to Step 6

6

Replace the BPMV. Refer to Brake Pressure Modulator Valve Replacement .

Is the replacement complete?

--

Go to Diagnostic System Check

--

7

  1. Install the fuse if removed.
  2. Using J 39200 DMM, measure the voltage at the 40A ABS Maxifuse® fuse by probing between the fuse test terminals and a good ground.

Is the voltage within the range specified in the value(s) column?

Battery volts

Go to Step 8

Go to Power Distribution Wiring Systems

8

  1. Turn the Ignition switch to the OFF position.
  2. Disconnect the EBTCM.
  3. Connect J 39700 Universal Pinout Box using the J 39700-25 cable adaptor to the EBTCM harness connector only.
  4. Using J 39200 DMM, measure the voltage at terminal E of J 39700 .

Is the voltage within the range specified in the value(s) column?

Battery volts

Go to Step 9

Go to Step 11

9

Replace EBTCM. Refer to Electronic Brake Control Module Replacement .

Is the replacement complete?

--

Go to Diagnostic System Check

--

10

Repair short to ground in CKT 1642. Refer to Wiring Repairs in Wiring Systems.

Is the repair complete?

--

Go to Diagnostic System Check

--

11

Repair open in CKT 1642. Refer to Wiring Repairs in Wiring Systems.

Is the repair complete?

--

Go to Diagnostic System Check

--