GM Service Manual Online
For 1990-2009 cars only
Makes
🢒
Chevrolet
🢒
2000
🢒
Corvette
🢒
Transmission/Transaxle
🢒
Automatic Transmission - 4L60-E
🢒 Automatic Transmission Controls Schematics
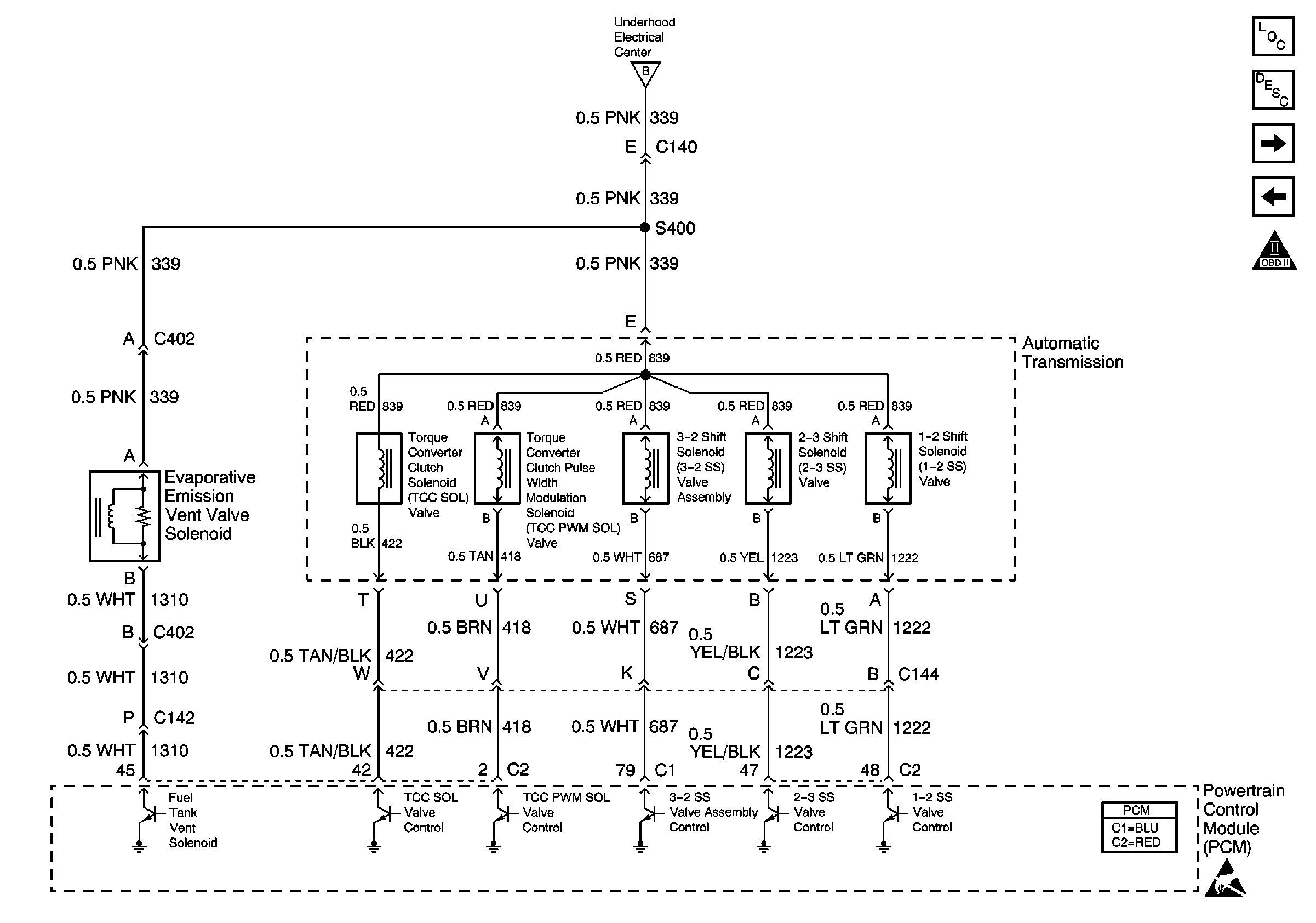
Figure
1:
Stoplamp Switch
Automatic Transmission Components
Automatic Transmission Controls
OBD II Symbol Description Notice
Handling ESD Sensitive Parts Notice
Power Distribution Schematics
Power Distribution Schematics
Automatic Transmission Controls
Ground Distribution Schematics
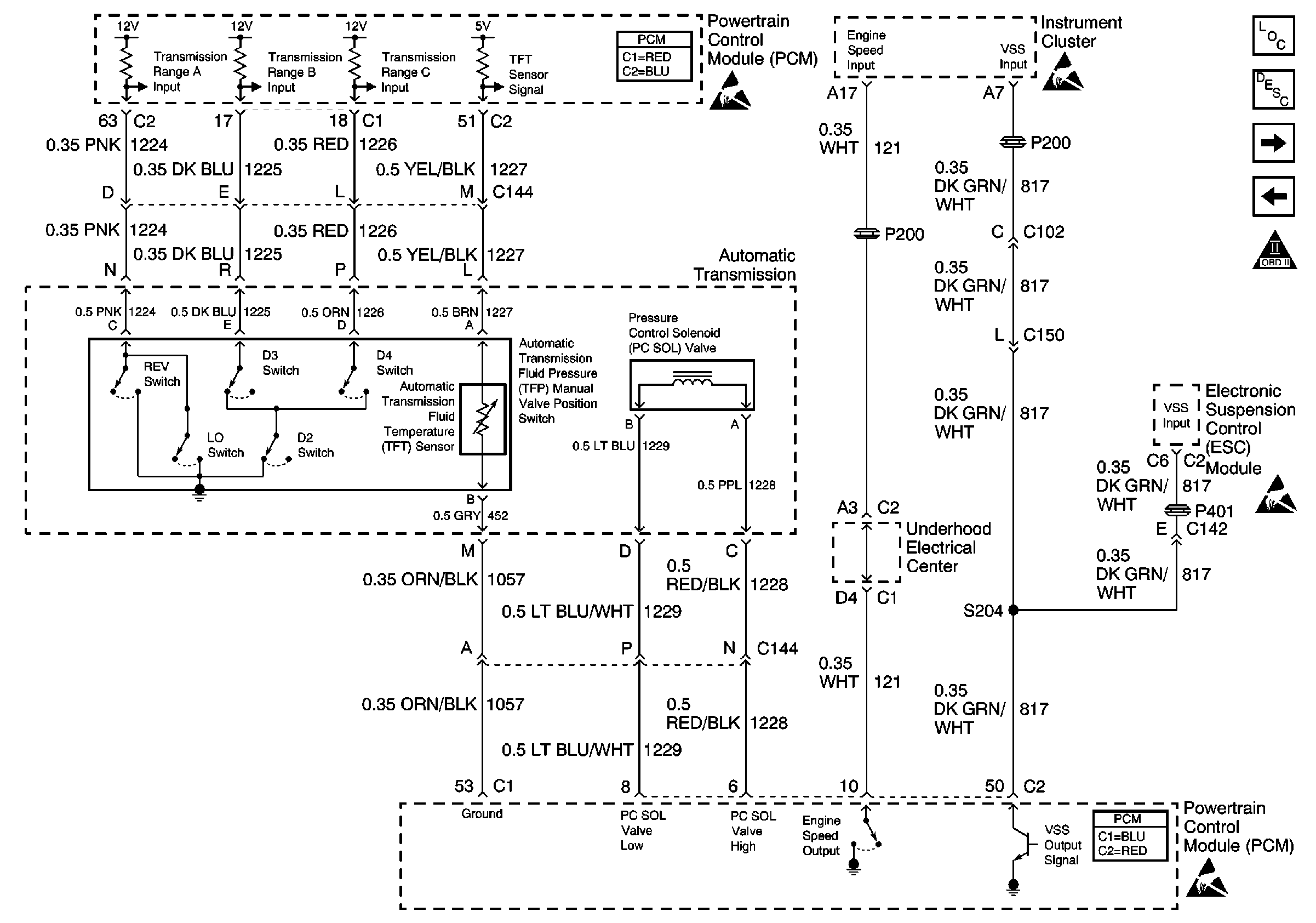
Figure
2:
Automatic Transmission Controls
Stoplamp Switch
Automatic Transmission Components
Automatic Transmission Controls and VSS Output
Stoplamp Switch
OBD II Symbol Description Notice
Handling ESD Sensitive Parts Notice
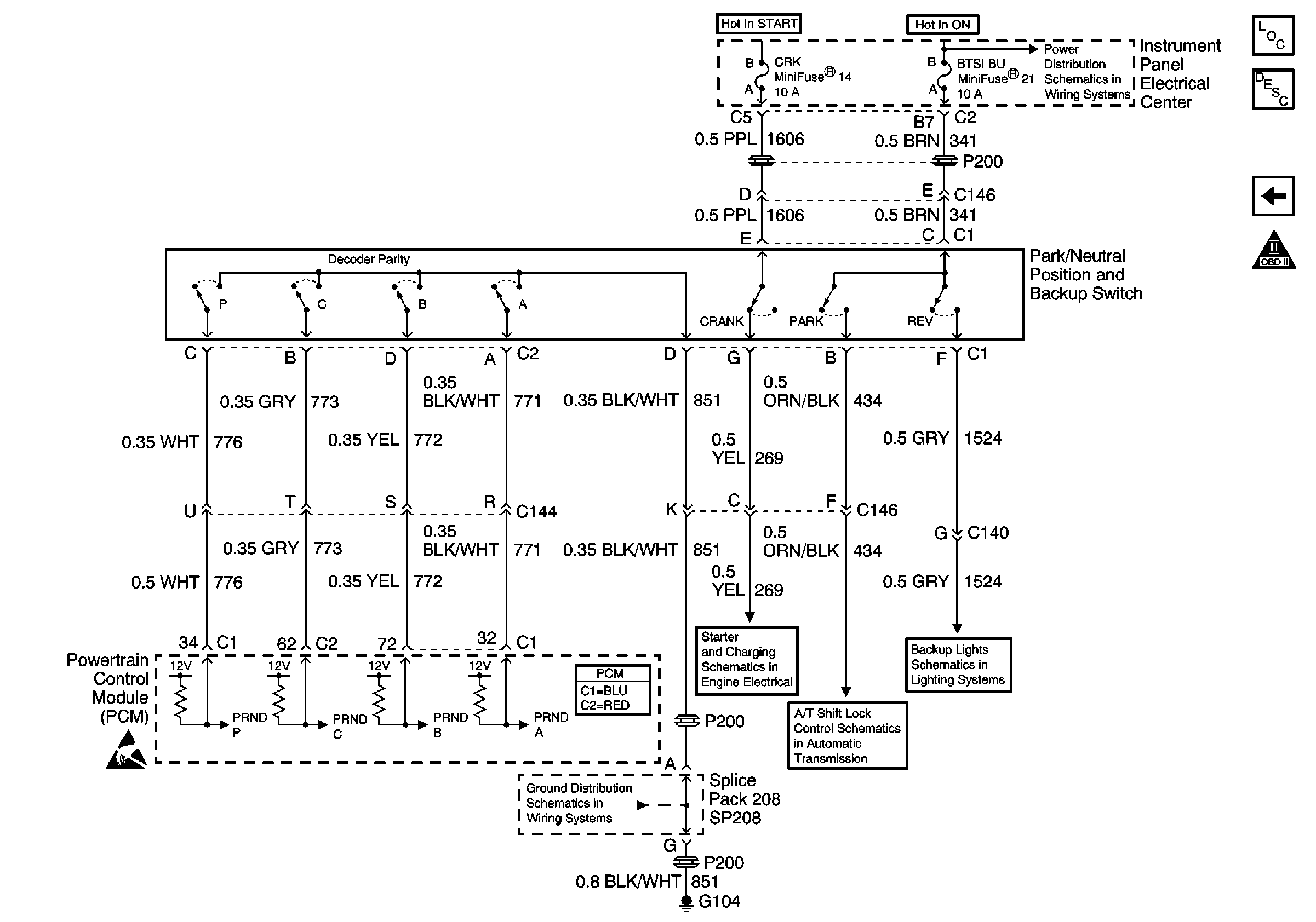
Figure
3:
Automatic Transmission Controls and VSS Output
Automatic Transmission Components
Park Neutral Position and Backup Switch
Automatic Transmission Controls
OBD II Symbol Description Notice
Handling ESD Sensitive Parts Notice
Handling ESD Sensitive Parts Notice
Handling ESD Sensitive Parts Notice
Handling ESD Sensitive Parts Notice
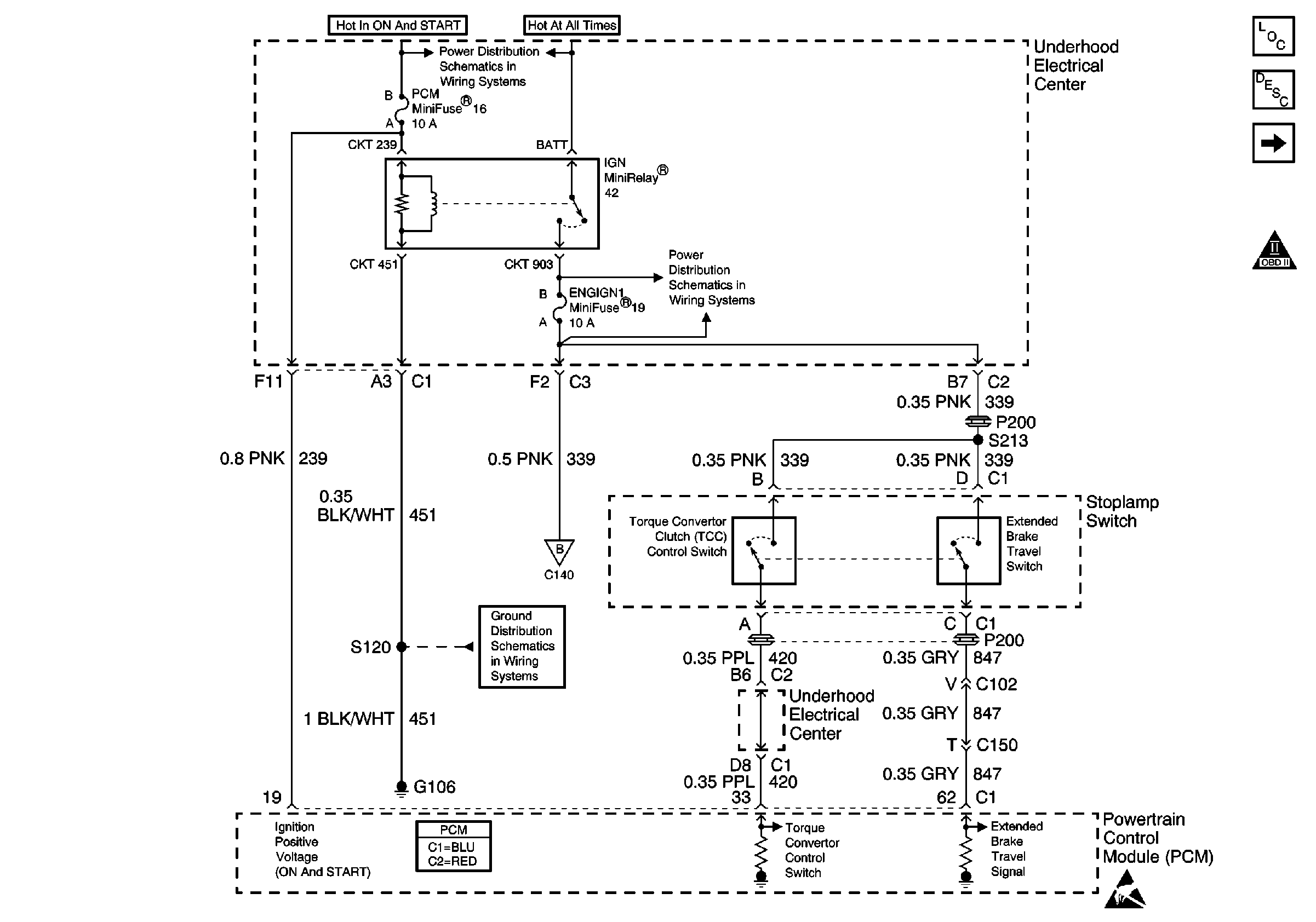
Figure
4:
Park Neutral Position and Backup Switch
Automatic Transmission Components
Automatic Transmission Controls and VSS Output
OBD II Symbol Description Notice
Power Distribution Schematics
Ground Distribution Schematics
Starting and Charging Schematics
Shift Lock Control Schematics
Backup Lamp Schematics
Handling ESD Sensitive Parts Notice