GM Service Manual Online
For 1990-2009 cars only
Makes
🢒
Chevrolet
🢒
2004
🢒
Corvette
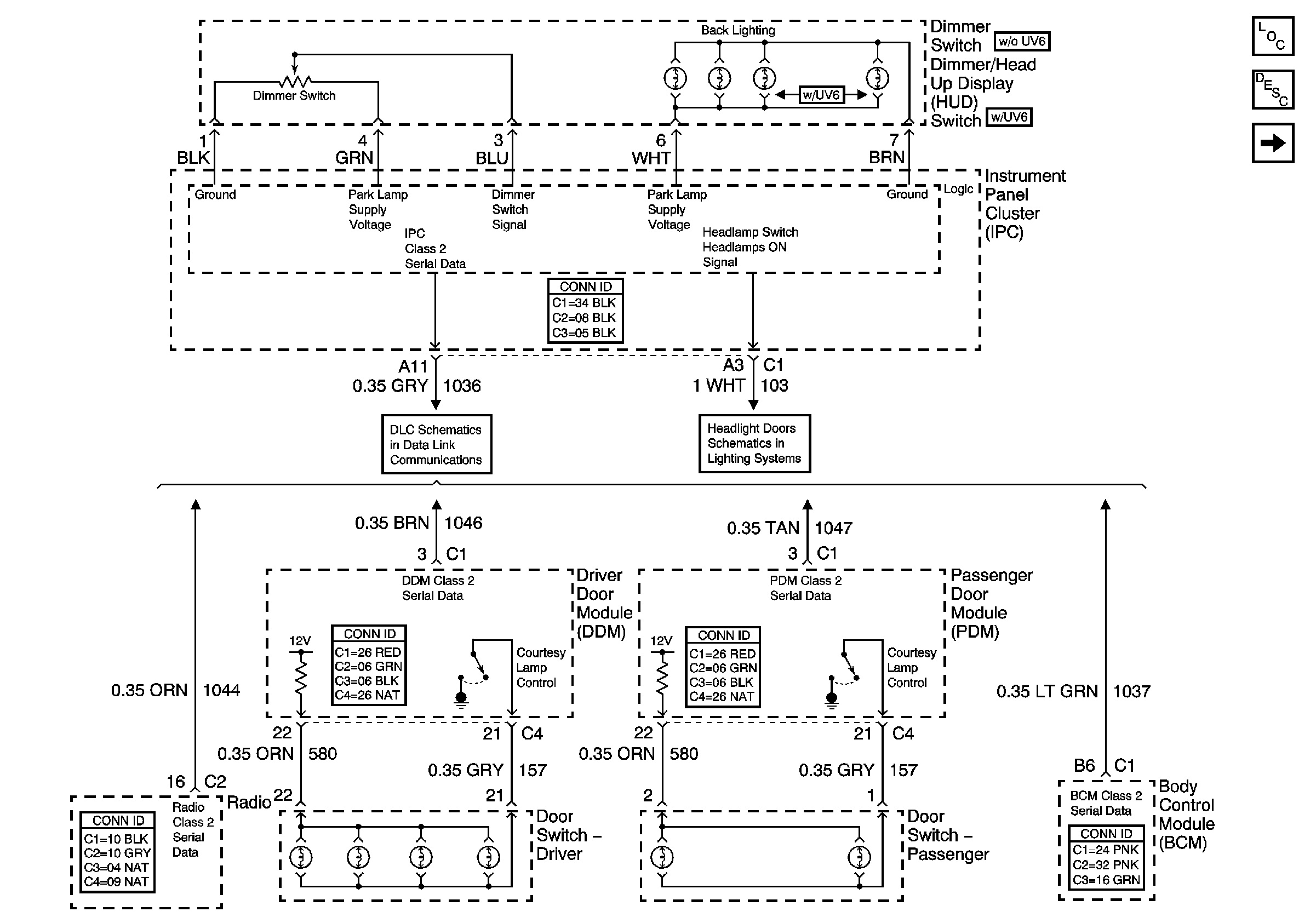
🢒 Door Switches and Radio
Door Switches and Radio
Door Switches and Radio
Master Electrical Component List
Interior Lighting Systems Description and Operation
Fog Lamp Switch
Star Connectors
Headlamp Door Control Module Signals