GM Service Manual Online
For 1990-2009 cars only
Makes
🢒
Chevrolet
🢒
2001
🢒
Malibu
🢒 Power and Grounds
Power and Grounds
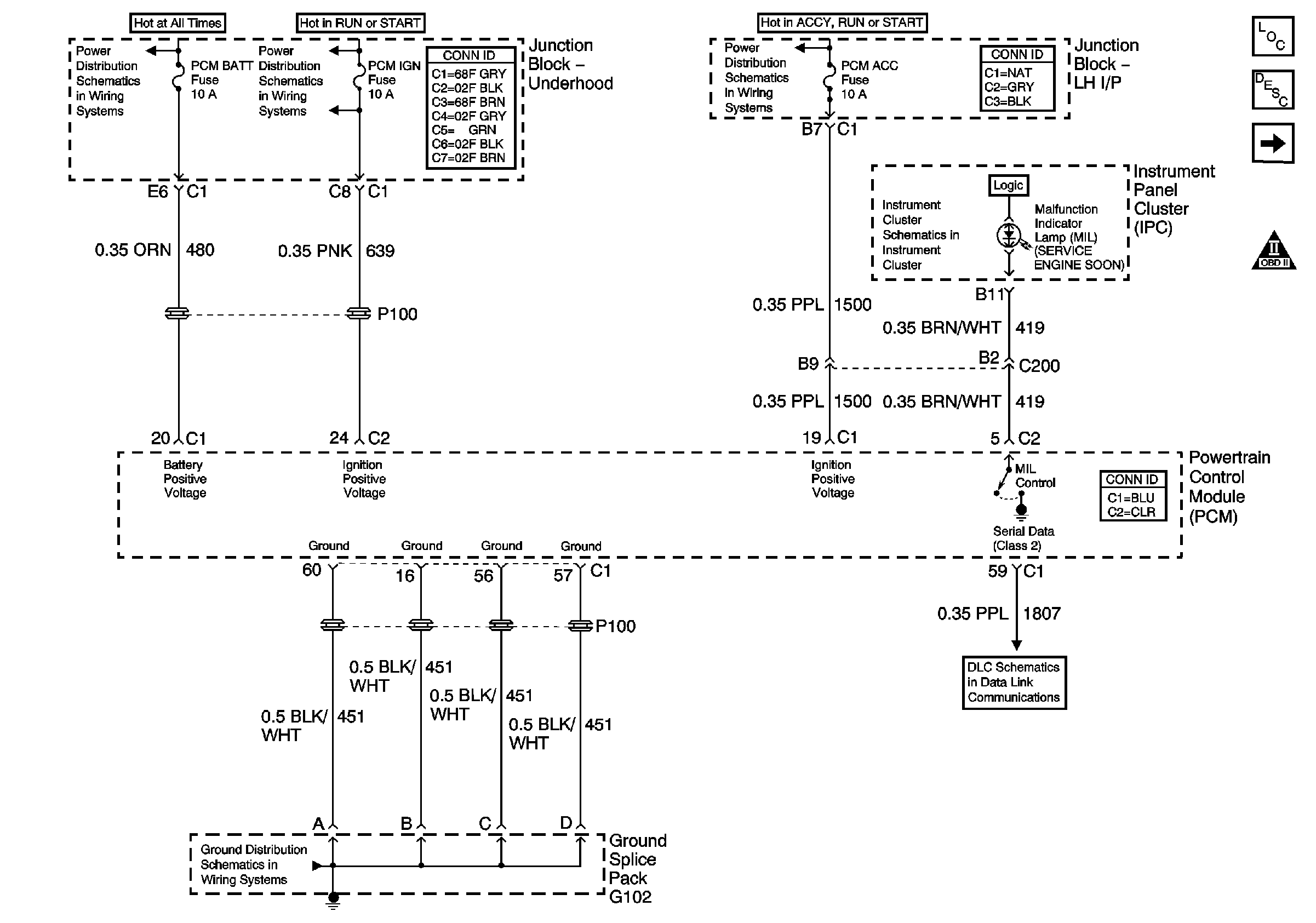
Power, Ground, MIL, and Serial Data
Master Electrical Component List
Powertrain Control Module Description
Power, Ground and Fuel Delivery
OBD II Symbol Description Notice
LH IP Junction Block BATT 2, STOP LPS, IPC/HVAC BATT, BFC BATT Fuses
Data Link Communications
Data Link Communications
G102 and G104
Indicators
LH IP Junction Block BATT 2, STOP LPS, IPC/HVAC BATT, BFC BATT Fuses
IGN BATT 1, IGN SW BATT 2, AIR BAG, TURN LPS, RDO ACC, WIPER, PCM ACC, and IPC/BFC ACC Fuses
IGN MOD, B/U LMP, PCM IGN, F/P INJR, A/C BFC, AUTO TRANS and ABS IGN Fuses
AUX POWER/CIGAR, PARK LPS, PCM BATT Fuses, PARK LAMP Relay