GM Service Manual Online
For 1990-2009 cars only
Makes
🢒
Chevrolet
🢒
2006
🢒
Malibu
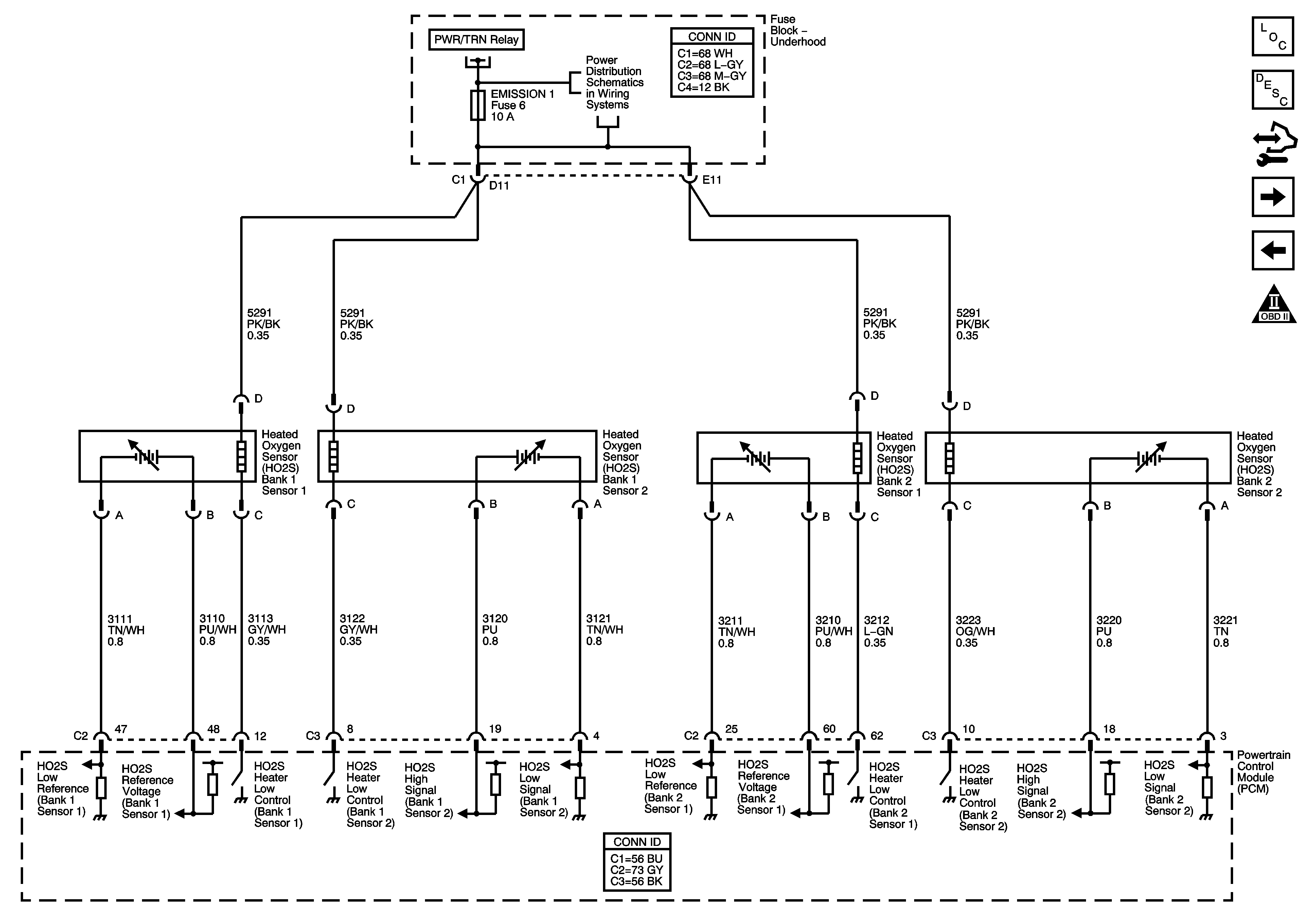
🢒 Heated Oxygen Sensors
Heated Oxygen Sensors
Engine Data Sensors - Heated Oxygen Sensors
Master Electrical Component List
Powertrain Control Module Description
Control Module References
Electronic Throttle Controls
Pressure and Temperature Sensors
Engine Controls Schematic Icons
Power, Ground, Serial Data and MIL
Underhood Fuse Block, A/C CLUTCH Relay, PWR/TRN Relay, A/C CLU, EMISSION 1, and ETC Fuses