GM Service Manual Online
For 1990-2009 cars only
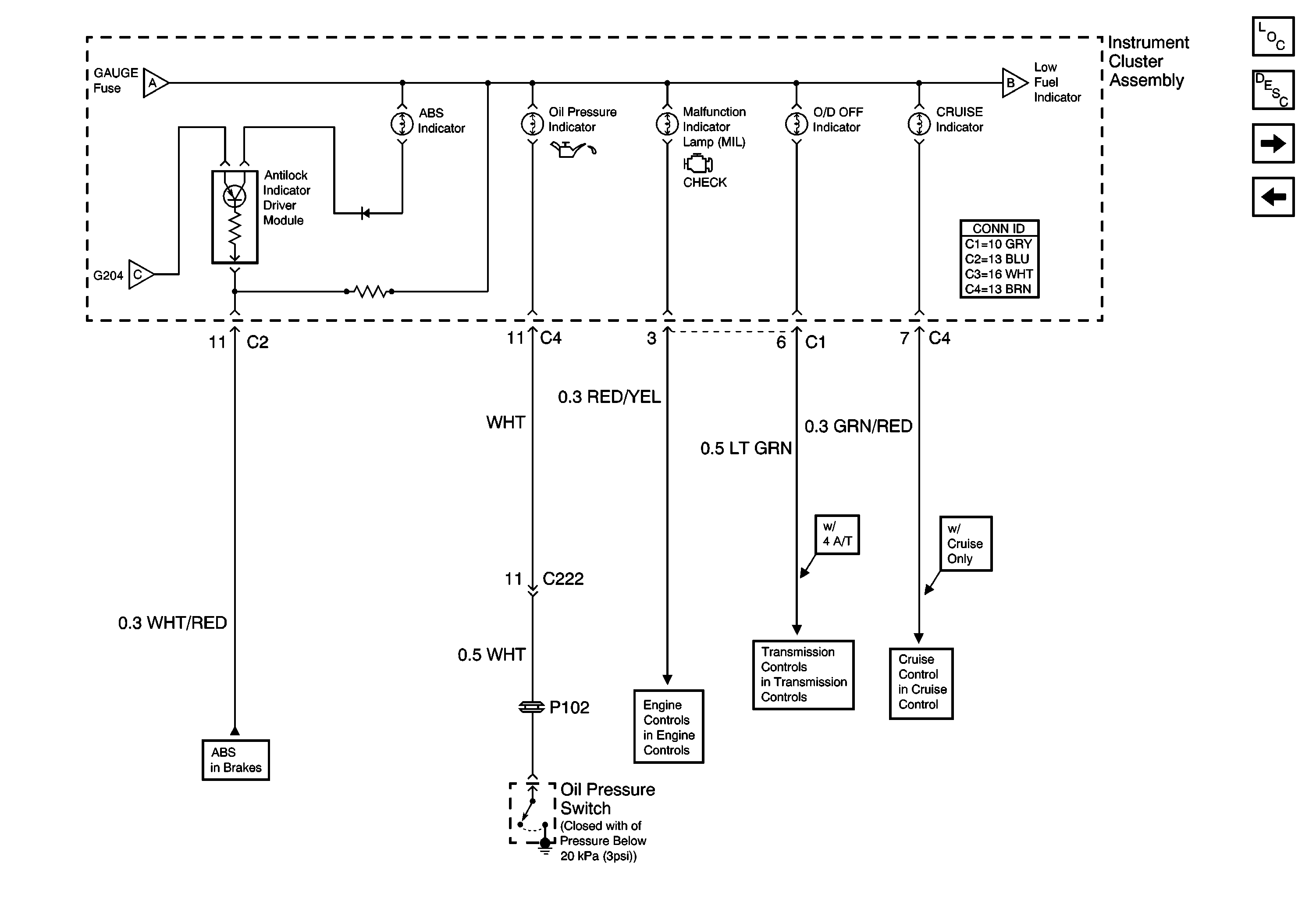
Figure 1:

Instrument Cluster Assembly


Object Number: 688243  Size: FS
Master Electrical Component List
Instrument Cluster Description and Operation
Oil Pressure Switch
Ignition Switch, Remote Control Door Lock Receiver
Oil Pressure Switch
CPP Switch, PNP Switch, and Park Brake Switch
Gauge Fuse
Gauge Fuse
Gauge Fuse
G204, Junction Block 1, and SP256
Oil Pressure Switch
CPP Switch, PNP Switch, and Park Brake Switch
Fuel Sender Assembly, Ambient Air Temperature Sensor, and ECT Sensor
Rear Defogger
Turn Signal/Headlamp Switch
Hazard Switch
Figure 2:

Oil Pressure Switch


Object Number: 688247  Size: FS
Master Electrical Component List
Instrument Cluster Description and Operation
Fuel Sender Assembly, Ambient Air Temperature Sensor, and ECT Sensor
Instrument Cluster Assembly
Cruise Control Servo and Stoplamp Switch
Cruise Control Module, PCM, Overdrive Switch, TCC Solenoid, Shift Solenoid No. 1 and Shift Solenoid No. 2
ABS Indicator Control, ABS Warning Indicator, and BPMV
Fuel Sender Assembly, Ambient Air Temperature Sensor, and ECT Sensor
Instrument Cluster Assembly
Instrument Cluster Assembly
Figure 3:

Fuel Sender Assembly, Ambient Air Temperature Sensor, and ECT Sensor


Object Number: 688252  Size: FS
Master Electrical Component List
Instrument Cluster Description and Operation
Junction Block 1 and Junction Block 3
Oil Pressure Switch
Junction Block 1 and Junction Block 3
Instrument Cluster Assembly
Gauge Fuse
G105, G106 and S207
Vehicle Speed Sensor
EFI Relay and PCM
Oil Pressure Switch
Figure 4:

Junction Block 1 and Junction Block 3


Object Number: 688255  Size: FS
Master Electrical Component List
Instrument Cluster Description and Operation
Fuel Sender Assembly, Ambient Air Temperature Sensor, and ECT Sensor
A/T Control Lever Illumination Lamp
A/T Control Lever Illumination Lamp
Charging System
Charging System
Air Bag Indicator and Inflatable Restraint Sensing and Diagnostic Module
Air Bag Indicator and Inflatable Restraint Sensing and Diagnostic Module
Fuel Sender Assembly, Ambient Air Temperature Sensor, and ECT Sensor
ALT-S, AM2, DOME, EFI, Hazard, Horn, and Main Fuses
ALT-S, AM2, DOME, EFI, Hazard, Horn, and Main Fuses
ALT-S, AM2, DOME, EFI, Hazard, Horn, and Main Fuses