| Figure 1: |
B+ Bus Bar
|
| Figure 2: |
Ign RUN and START Bus Bar
|
| Figure 3: |
Ign ACC, RUN and RAP Bus Bar
|
| Figure 4: |
Stop, Turn and Hazard Bus Bar
|
| Figure 5: |
STUD 2, ABS, TBC and RR W/W Fuses
|
| Figure 6: |
INT BATT Fuse
|
| Figure 7: |
Inadvertent Power Lamp Relay
|
| Figure 8: |
AUX PWR, RDO BATT and HDLP SW Fuses
|
| Figure 9: |
HTD SEAT, ATC, HVAC and A/C Fuses
|
| Figure 10: |
MIR/LKS, FOG LP Fuses and DRL, Headlamp Power Relays
|
| Figure 11: |
HI BEAM, LD LEV, DRL Fuses and Low Beam Relay (Envoy Only)
|
| Figure 12: |
ECM B Fuse and Horn, Rear Defogger Relays
|
| Figure 13: |
ILLUM and PARK LP Fuses
|
| Figure 14: |
ILLUM Power (Pickup)
|
| Figure 15: |
ILLUM Power (Utility)
|
| Figure 16: |
ILLUM Power (2-Door and 4-Door Utility)
|
| Figure 17: |
FR PRK, LR PRK, RR PRK Fuses and Fog Lamp Relay (Pickup)
|
| Figure 18: |
FR PRK, LR PRK, RR PRK, TRL PRK Fuses and Fog Lamp Relay (Utility)
|
| Figure 19: |
FR PRK, LR PRK, RR PRK, TRL PRK Fuses and Fog Lamp Relay (Export)
|
| Figure 20: |
CRANK and CLSTR Fuses
|
| Figure 21: |
TURN, SIR and GAUGES Fuses
|
| Figure 22: |
IGN E Fuse and A/C Compressor, Rear Defogger, DRL Relays
|
| Figure 23: |
B/U LP, TRL B/U and BTSI Fuses (Automatic Transmission)
|
| Figure 24: |
BTSI Fuse Power (Automatic Transmission)
|
| Figure 25: |
ENG I and OXYSEN Fuses
|
| Figure 26: |
ECM I Fuse
|
| Figure 27: |
Power Seats, Power Windows Circuit Breakers and RAP Relay
|
| Figure 28: |
RDO IGN and STR WHL RDO IGN Fuses
|
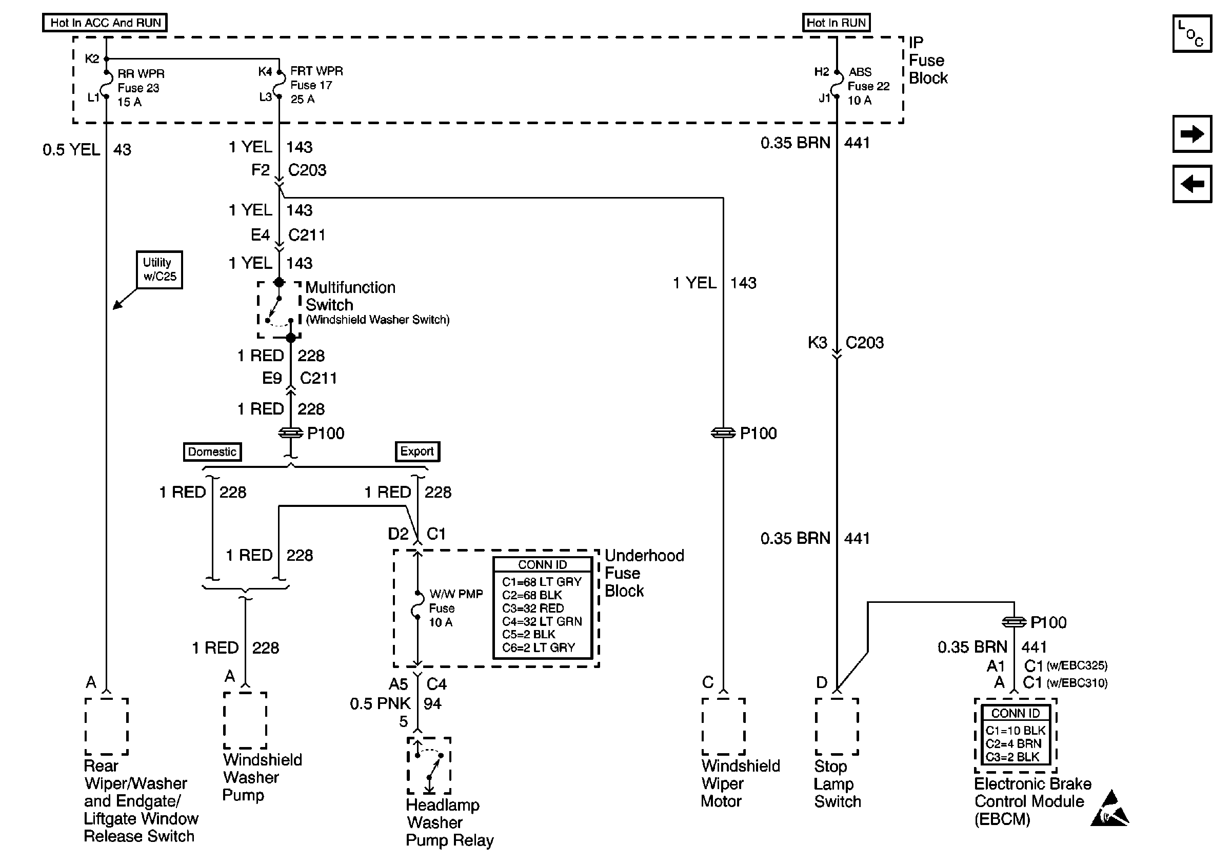
| Figure 29: |
RR WPR, FRT WPR and ABS Fuses
|
| Figure 30: |
HVAC I Fuse
|
| Figure 31: |
4WD Fuse (4.3L)
|
| Figure 32: |
HVAC and CRUISE Fuses
|
| Figure 33: |
VECHMSL, TRCHMSL Fuses and CHMSL Relay
|
| Figure 34: |
RT TURN, RT TRN and TRR TRN Fuses
|
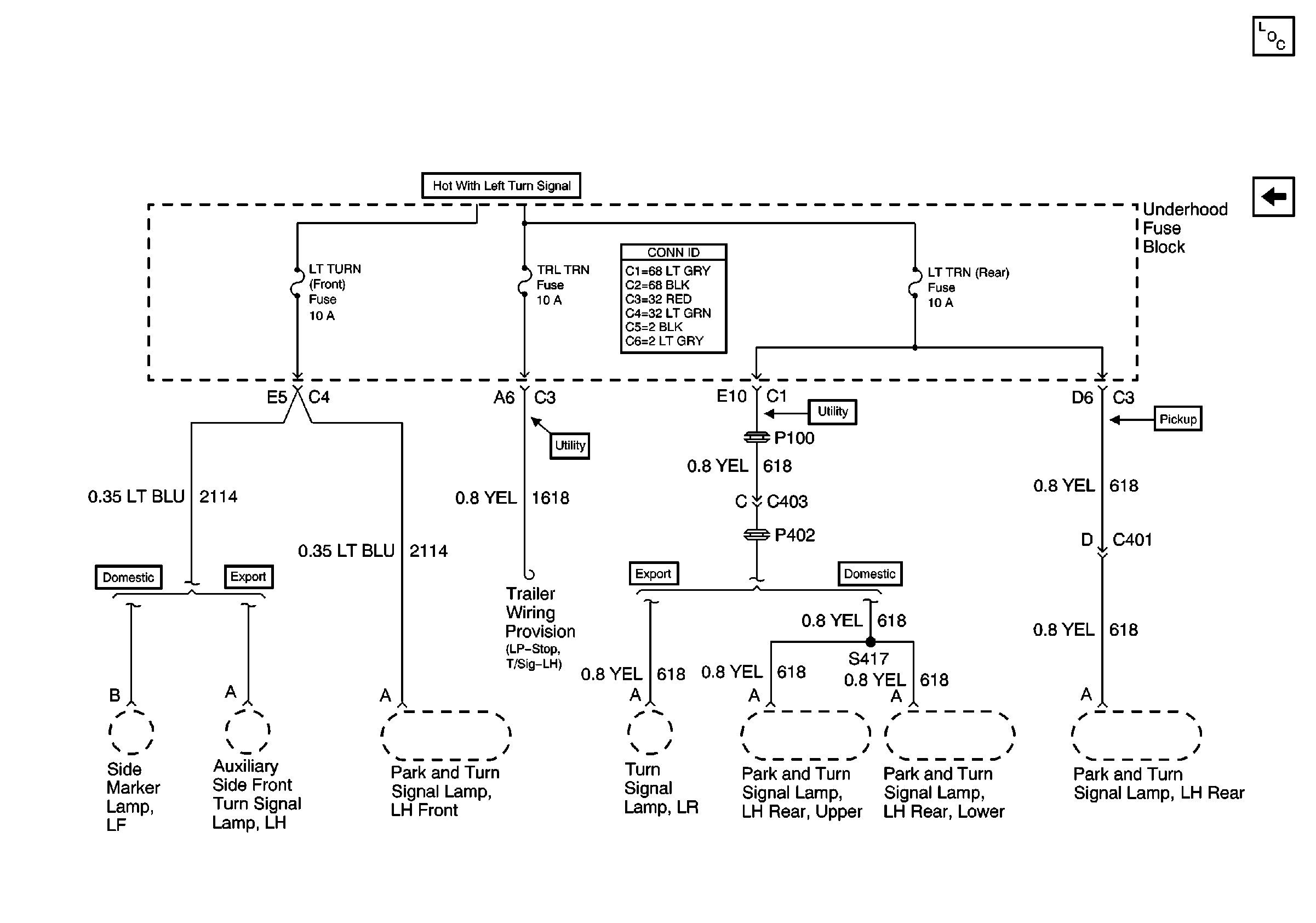
| Figure 35: |
LT TURN, LT TRN and TRL TRN Fuses
|