GM Service Manual Online
For 1990-2009 cars only
Figure 1:

Power, Ground, MIL


Object Number: 52254  Size: FS
Engine Controls Components
Powertrain Control Module (PCM) Control Modules
DLC
Fuel Controls
Handling Electrostatic Discharge Sensitive Parts Notice
OBD II Symbol Description Notice
Handling Electrostatic Discharge Sensitive Parts Notice
Figure 2:

DLC


Object Number: 52260  Size: FS
Engine Controls Components
Powertrain Control Module (PCM) Control Modules
Ignition Controls
Power, Ground, MIL
OBD II Symbol Description Notice
OBD II Symbol Description Notice
Handling Electrostatic Discharge Sensitive Parts Notice
Handling Electrostatic Discharge Sensitive Parts Notice
Figure 3:

Ignition Controls


Object Number: 52264  Size: FS
Engine Controls Components
Powertrain Control Module (PCM) Control Modules
Fuel Level Buffer
DLC
OBD II Symbol Description Notice
Handling Electrostatic Discharge Sensitive Parts Notice
Handling Electrostatic Discharge Sensitive Parts Notice
Figure 4:

Fuel Controls


Object Number: 52270  Size: FS
Engine Controls Components
Powertrain Control Module (PCM) Control Modules
Fuel Injectors
Fuel Level Buffer
Power, Ground, MIL
OBD II Symbol Description Notice
Handling Electrostatic Discharge Sensitive Parts Notice
OBD II Symbol Description Notice
Figure 5:

Fuel Level Buffer


Object Number: 52267  Size: FS
Engine Controls Components
Powertrain Control Module (PCM) Control Modules
Fuel Controls
Ignition Controls
Engine Data Sensors
Handling Electrostatic Discharge Sensitive Parts Notice
Handling Electrostatic Discharge Sensitive Parts Notice
OBD II Symbol Description Notice
Engine Data Sensors
Handling Electrostatic Discharge Sensitive Parts Notice
OBD II Symbol Description Notice
Figure 6:

Fuel Injectors


Object Number: 52281  Size: FS
Engine Controls Components
Powertrain Control Module (PCM) Control Modules
Engine Data Sensors
Fuel Controls
OBD II Symbol Description Notice
Handling Electrostatic Discharge Sensitive Parts Notice
Figure 7:

Engine Data Sensors


Object Number: 52284  Size: FS
Engine Controls Components
Powertrain Control Module (PCM) Control Modules
IAC Valve, EVAP and EGR Controls
Fuel Injectors
OBD II Symbol Description Notice
Fuel Level Buffer
Fuel Level Buffer
Handling Electrostatic Discharge Sensitive Parts Notice
Handling Electrostatic Discharge Sensitive Parts Notice
Figure 8:

Oxygen Sensors


Object Number: 52289  Size: FS
Engine Controls Components
Powertrain Control Module (PCM) Control Modules
Transmission Shift Light
IAC Valve, EVAP and EGR Controls
OBD II Symbol Description Notice
Handling Electrostatic Discharge Sensitive Parts Notice
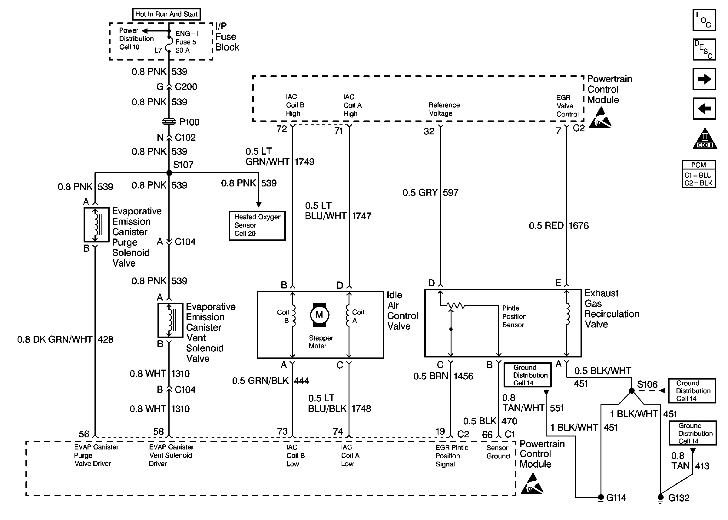
Figure 9:

IAC Valve, EVAP and EGR Controls


Object Number: 52286  Size: FS
Engine Controls Components
Powertrain Control Module (PCM) Control Modules
Oxygen Sensors
Engine Data Sensors
OBD II Symbol Description Notice
Oxygen Sensors
Handling Electrostatic Discharge Sensitive Parts Notice
Handling Electrostatic Discharge Sensitive Parts Notice
Figure 10:

Transmission Shift Light


Object Number: 52291  Size: FS
Engine Controls Components
Powertrain Control Module (PCM) Control Modules
Transaxle Controls (Solenoids)
Oxygen Sensors
Handling Electrostatic Discharge Sensitive Parts Notice
Handling Electrostatic Discharge Sensitive Parts Notice
OBD II Symbol Description Notice
Figure 11:

VSS and Cruise Control


Object Number: 52296  Size: FS
Engine Controls Components
Powertrain Control Module (PCM) Control Modules
A/C Controls
Transaxle Controls (Switches)
Handling Electrostatic Discharge Sensitive Parts Notice
Handling Electrostatic Discharge Sensitive Parts Notice
Handling Electrostatic Discharge Sensitive Parts Notice
OBD II Symbol Description Notice
OBD II Symbol Description Notice
Handling Electrostatic Discharge Sensitive Parts Notice
Figure 12:

Transaxle Controls (Solenoids)


Object Number: 52293  Size: FS
Engine Controls Components
Powertrain Control Module (PCM) Control Modules
Transaxle Controls (Switches)
Transmission Shift Light
OBD II Symbol Description Notice
Handling Electrostatic Discharge Sensitive Parts Notice
Figure 13:

Transaxle Controls (Switches)


Object Number: 52295  Size: FS
Engine Controls Components
Powertrain Control Module (PCM) Control Modules
VSS and Cruise Control
Transaxle Controls (Solenoids)
OBD II Symbol Description Notice
Handling Electrostatic Discharge Sensitive Parts Notice
Handling Electrostatic Discharge Sensitive Parts Notice
Figure 14:

A/C Controls


Object Number: 52298  Size: FS
Engine Controls Components
Powertrain Control Module (PCM) Control Modules
VSS and Cruise Control
OBD II Symbol Description Notice
Handling Electrostatic Discharge Sensitive Parts Notice