GM Service Manual Online
For 1990-2009 cars only
Figure 1:

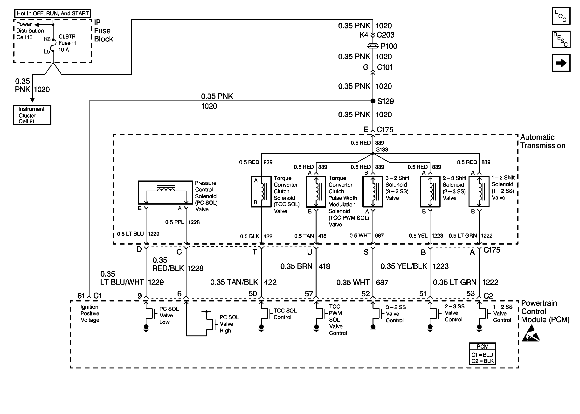
Cell 39: Valve Controls (2.2L)


Object Number: 368008  Size: FS
Cell 10: CRANK and CLSTR Fuses
Cell 81: ILLUM, CLSTR and GAUGES Fuses and Instrument Cluster
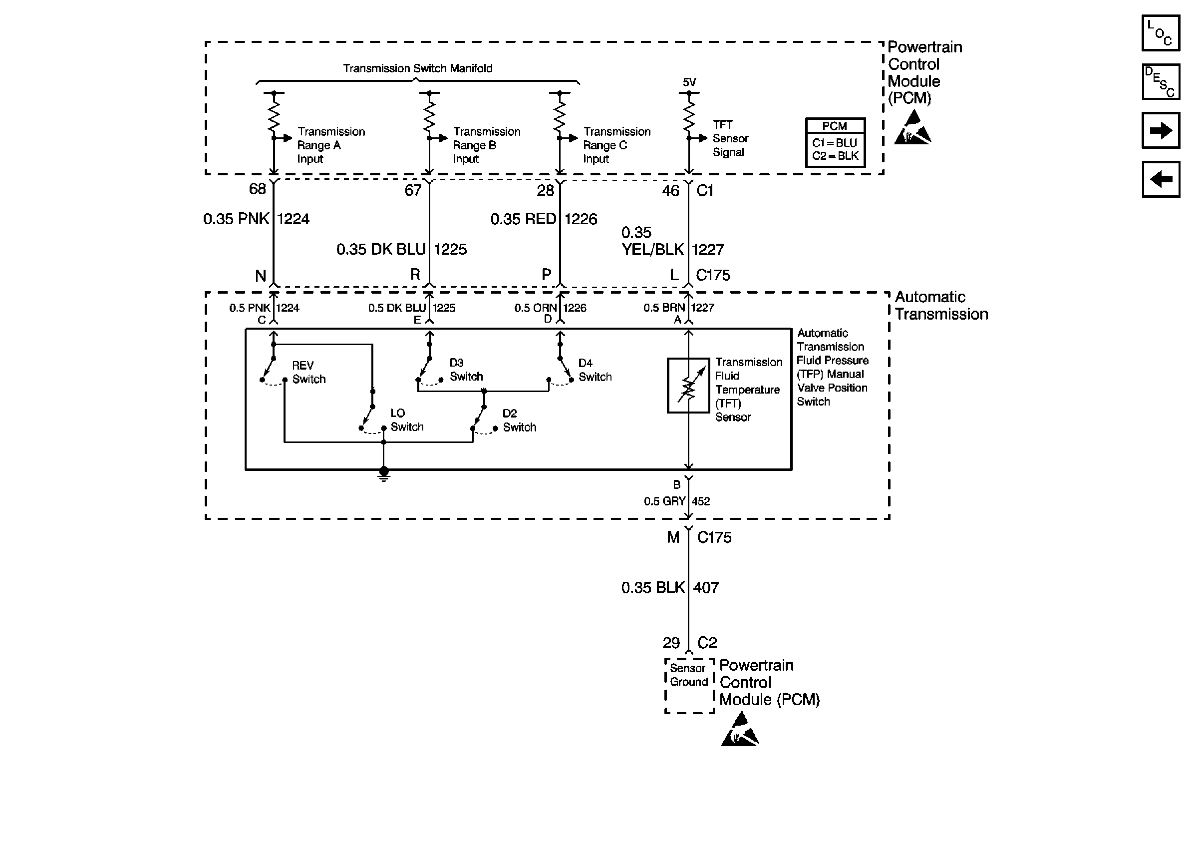
Automatic Transmission Components
Electronic Component Description
Cell 39: Switch Inputs (2.2L)
Powertrain Control Module Connector End Views
Handling ESD Sensitive Parts Notice
Figure 2:

Cell 39: Switch Inputs (2.2L)


Object Number: 368010  Size: FS
Powertrain Control Module Connector End Views
Handling ESD Sensitive Parts Notice
Handling ESD Sensitive Parts Notice
Automatic Transmission Components
Electronic Component Description
Cell 39: Brake Switch and VSS Inputs (2.2L)
Cell 39: Valve Controls (2.2L)
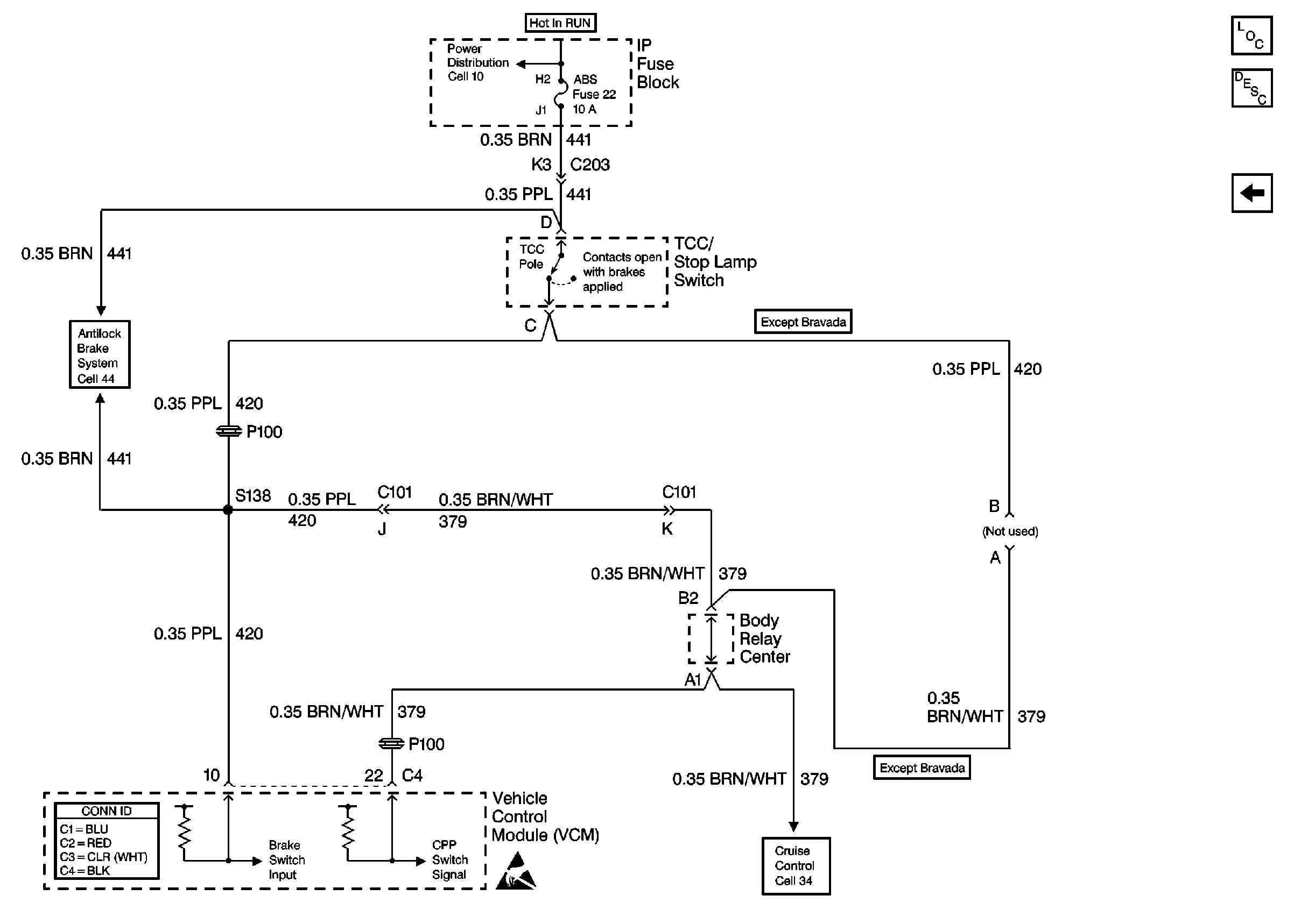
Figure 3:

Cell 39: Brake Switch and VSS Inputs (2.2L)


Object Number: 368027  Size: FS
Cell 10: STUD 2, ABS, TBC and RR W/W Fuses
Cell 44: Power and Ground
Cell 34: Clutch Pedal Position Switch and TCC/Stop Lamp Switch
Powertrain Control Module Connector End Views
Handling ESD Sensitive Parts Notice
Cell 14: G103 and G105 (2.2L)
Automatic Transmission Components
Electronic Component Description
Cell 39: Switch Inputs (2.2L)
Cell 39: Valve Controls (4.3L)
Figure 4:

Cell 39: Valve Controls (4.3L)


Object Number: 368028  Size: FS
Cell 10: CRANK and CLSTR Fuses
Cell 81: ILLUM, CLSTR and GAUGES Fuses and Instrument Cluster
Handling ESD Sensitive Parts Notice
Cell 138: Park/Neutral Position Switch and Automatic Transmission Controller (Utility w/ Floor Shift)
VCM Connector End Views
Handling ESD Sensitive Parts Notice
Automatic Transmission Components
Electronic Component Description
Cell 39: Switch Inputs and 2WD VSS Inputs (4.3L)
Cell 39: Brake Switch and VSS Inputs (2.2L)
Figure 5:

Cell 39: Switch Inputs and 2WD VSS Inputs (4.3L)


Object Number: 368029  Size: FS
VCM Connector End Views
Handling ESD Sensitive Parts Notice
Automatic Transmission Components
Electronic Component Description
Cell 39: 4WD VSS Inputs (4.3L)
Cell 39: Valve Controls (4.3L)
Cell 21: Automatic Transmission Switch Inputs
Handling ESD Sensitive Parts Notice
Cell 21: Heated Oxygen Sensors
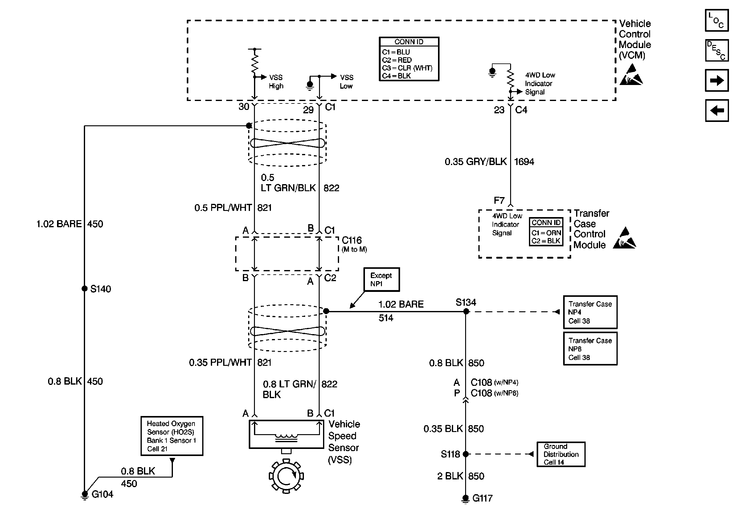
Figure 6:

Cell 39: 4WD VSS Inputs (4.3L)


Object Number: 368030  Size: FS
VCM Connector End Views
Handling ESD Sensitive Parts Notice
Transfer Case Control Connector End Views
Handling ESD Sensitive Parts Notice
Cell 21: Heated Oxygen Sensors
Cell 14: G104 and G117
Cell 38: Speed Sensors
Cell 38: Speed Sensors
Automatic Transmission Components
Electronic Component Description
Cell 39: Brake Switch Input (4.3L)
Cell 39: Switch Inputs and 2WD VSS Inputs (4.3L)
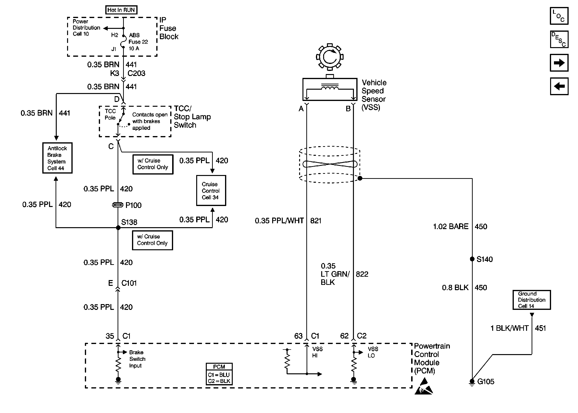
Figure 7:

Cell 39: Brake Switch Input (4.3L)


Object Number: 368032  Size: FS
Cell 10: STUD 2, ABS, TBC and RR W/W Fuses
Cell 44: Power and Ground
VCM Connector End Views
Handling ESD Sensitive Parts Notice
Cell 34: Clutch Pedal Position Switch and TCC/Stop Lamp Switch
Automatic Transmission Components
Electronic Component Description
Cell 39: 4WD VSS Inputs (4.3L)