GM Service Manual Online
For 1990-2009 cars only

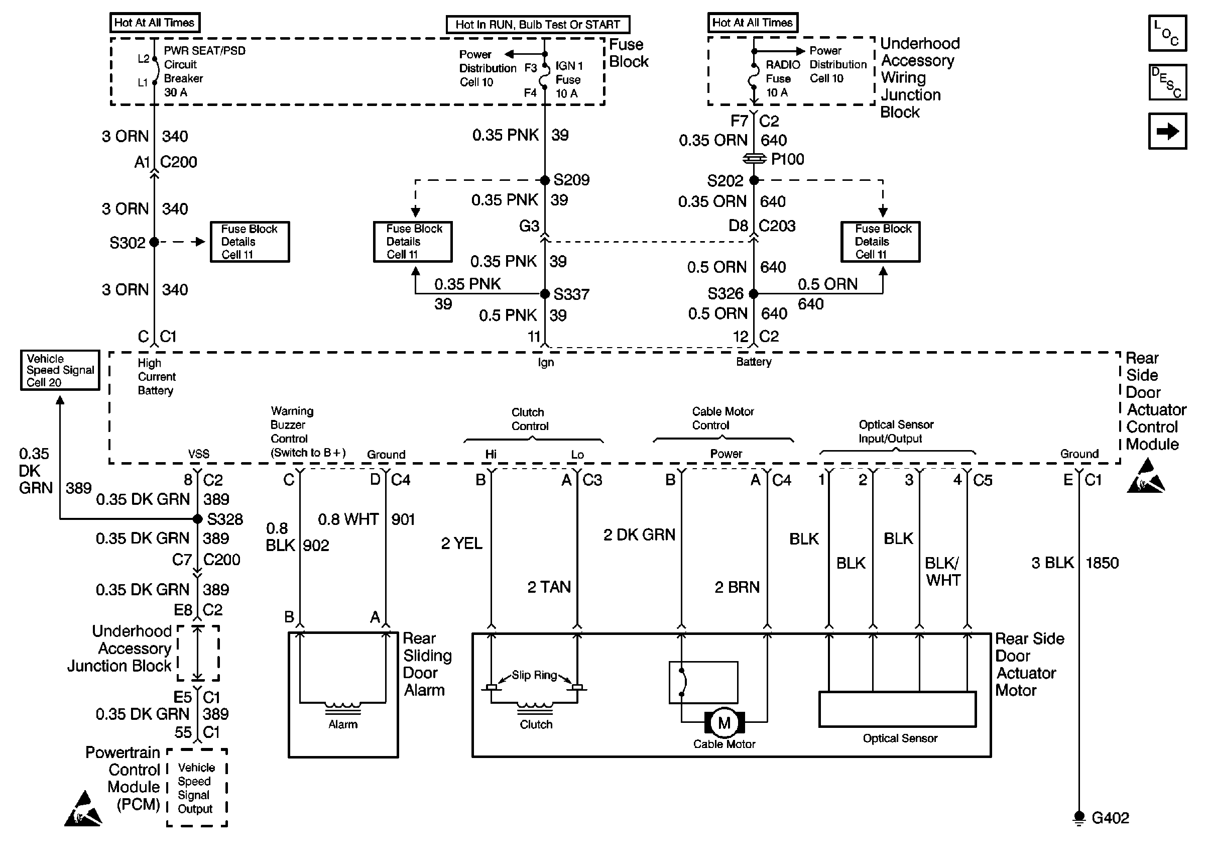
Sliding Door Schematics Extended Wheel Base

Figure 1:

GENI Schematic


Object Number: 447295  Size: FS
Power Distribution Schematics
Power Distribution Schematics
Fuse Block Schematics
Fuse Block Schematics
Fuse Block Schematics
Handling ESD Sensitive Parts Notice
Handling ESD Sensitive Parts Notice
Power Door Systems Components
Power Sliding Door (PSD) Circuit Description
Engine Controls Schematics
PSD GENI, GENII Schematic
Figure 2:

PSD GENI, GENII Schematic


Object Number: 447269  Size: FS
Ground Distribution Schematics
Ground Distribution Schematics
Ground Distribution Schematics
Power Distribution Schematics
Power Door Systems Components
Handling ESD Sensitive Parts Notice
Handling ESD Sensitive Parts Notice
Power Sliding Door (PSD) Circuit Description
Body Control System Schematics
Interior Lights Dimming Schematics
GENI Schematic

Sliding Door Schematics Regular Wheel Base

Figure 1:

GEN II: Regular Wheel Base


Object Number: 323694  Size: FS
Power Distribution Schematics
Power Distribution Schematics
Fuse Block Schematics
Fuse Block Schematics
Fuse Block Schematics
Handling ESD Sensitive Parts Notice
Handling ESD Sensitive Parts Notice
OBD II Symbol Description Notice
Power Door Systems Components
Power Sliding Door (PSD) Circuit Description
Engine Controls Schematics
PSD GENI, GENII Schematic
Figure 2:

PSD GENI, GENII Schematic


Object Number: 447269  Size: FS
Ground Distribution Schematics
Ground Distribution Schematics
Ground Distribution Schematics
Power Distribution Schematics
Power Door Systems Components
Handling ESD Sensitive Parts Notice
Handling ESD Sensitive Parts Notice
Power Sliding Door (PSD) Circuit Description
Body Control System Schematics
Interior Lights Dimming Schematics
GEN II: Regular Wheel Base