GM Service Manual Online
For 1990-2009 cars only

Object Number: 2027423  Size: LF

View Front

Number

Description

Material

Procedure

1

Front Compartment Side Rail (front)

Mild Steel

Front Compartment Front Rail Sectioning

2

Front Wheelhouse Front Panel

High Strength Low Alloy Steel

Front Wheelhouse Front Panel Replacement

3

Front Wheelhouse Panel

Mild Steel

Front Wheelhouse Replacement

4

Front Compartment Side Rail (rear)

High Strength Low Alloy Steel

Front Compartment Front Rail Sectioning

5

Roof Front Header Panel

High Strength Low Alloy Steel

Roof Front Header Panel Replacement

6

Roof Outer Panel

Mild Steel

Roof Outer Panel Replacement

7

Roof Rear Inner Panel

Mild Steel

Roof Rear Header Panel Replacement

8

Body Lock Pillar Inner Panel

Dual Phase Steel

Body Lock Pillar Inner Panel Replacement

9

Body Side Inner Panel

Mild Steel

Body Side Inner Panel Sectioning

10

Body Lock Pillar Outer Panel Reinforcement

    • Outer Panel Reinforcement Mild Steel
    • Center Pillar Stiffener Dual Phase Steel

Body Lock Pillar Outer Panel Reinforcement Replacement

11

Quarter Outer Panel

Mild Steel

Quarter Outer Panel Sectioning

12

Body Lock Pillar Outer Panel

Mild Steel

Body Lock Pillar Outer Panel Sectioning

13

Rocker Outer Panel

Mild Steel

Rocker Outer Panel Sectioning

14

Front Hinge Pillar Body

Mild Steel

LINK

15

Body Side Outer Panel Reinforcement

Dual Phase Steel

Body Side Outer Panel Reinforcement Replacement

16

Body Hinge Pillar Lower Reinforcement

Mild Steel

Body Hinge Pillar Lower Reinforcement Replacement

17

Rocker Inner Panel

Ultra High Strength Dual Phase Steel

Rocker Inner Panel Replacement

18

Front Compartment Upper Side Rail

High Strength Low Alloy Steel

19

Headlamp Mount Panel

Mild Steel

Headlamp Mount Panel Replacement

20

Drivetrain and Front Suspension Frame Front Support

High Strength Low Alloy Steel

Drivetrain and Front Suspension Frame Front Support Replacement

21

Front Wheelhouse Panel Rear Reinforcement

Mild Steel

Front Wheelhouse Panel Rear Reinforcement Replacement

22

Front End Upper Tie Bar Support

Mild Steel

Front End Upper Tie Bar Replacement

23

Front Bumper Impact Bar Steel Shoe Bracket

Mild Steel

Front Bumper Impact Bar Replacement


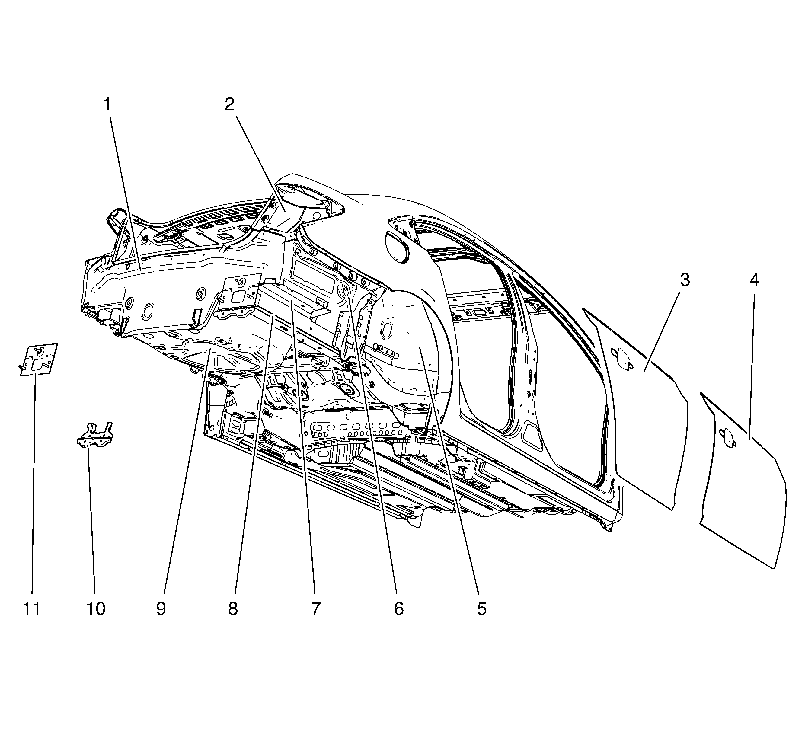
Object Number: 2027424  Size: LF

View Rear

Number

Description

Material

Procedure

1

Body Rear End Panel

Mild Steel

Body Rear End Panel Replacement

2

Tail Lamp Pocket

Mild Steel

Tail Lamp Pocket Replacement

3

Rear Side Door Outer Panel

Mild Steel

Rear Side Door Outer Panel Replacement

4

Front Side Door Outer Panel

Mild Steel

Front Side Door Outer Panel Replacement

5

Rear Wheelhouse Panel

Mild Steel

Rear Wheelhouse Panel Replacement

6

Body Side Outer Lower Panel

Mild Steel

Body Side Outer Panel Reinforcement Replacement

7

Rear Floor Panel Filler

Mild Steel

Rear Floor Panel Filler Replacement

8

Underbody Rear Side Rail

High Strength Low Alloy Steel

Rear Rail Sectioning

9

Rear Compartment Floor Panel

Mild Steel

Rear Compartment Floor Panel Sectioning

10

Underbody Rear Side Rail Reinforcement

Mild Steel

Underbody Rear Side Rail Reinforcement Replacement

11

Rear Bumper Impact Bar Stud Plate

Mild Steel

Rear Bumper Impact Bar Stud Plate Replacement