GM Service Manual Online
For 1990-2009 cars only
Makes
🢒
GMC_Truck
🢒
2003
🢒
GMC C Sierra - 2WD
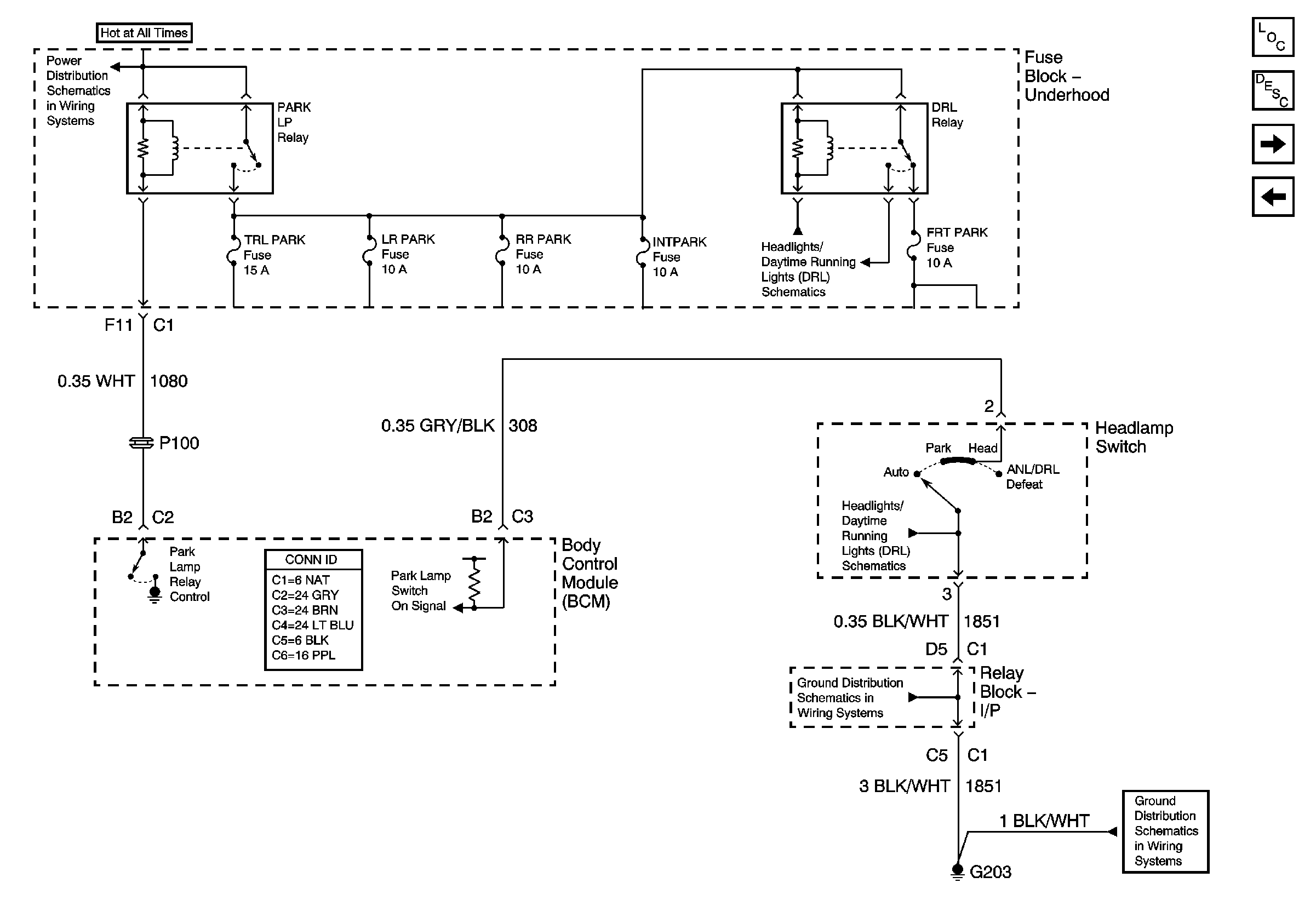
🢒 Park Lamp Relay - Export
Park Lamp Relay - Export
Park Lamp Relay - Export
Master Electrical Component List
Exterior Lighting Systems Description and Operation
Front Park Lamps - Domestic
Park Lamp Relay - Domestic
B+ Bus Bar (Gas) - 1 of 3
Daytime Running Lamps (DRL) - Export
Headlights/DRL Control
G203-1 of 3
G203-1 of 3