GM Service Manual Online
For 1990-2009 cars only
Makes
🢒
GMC_Truck
🢒
2003
🢒
GMC C Sierra - 2WD
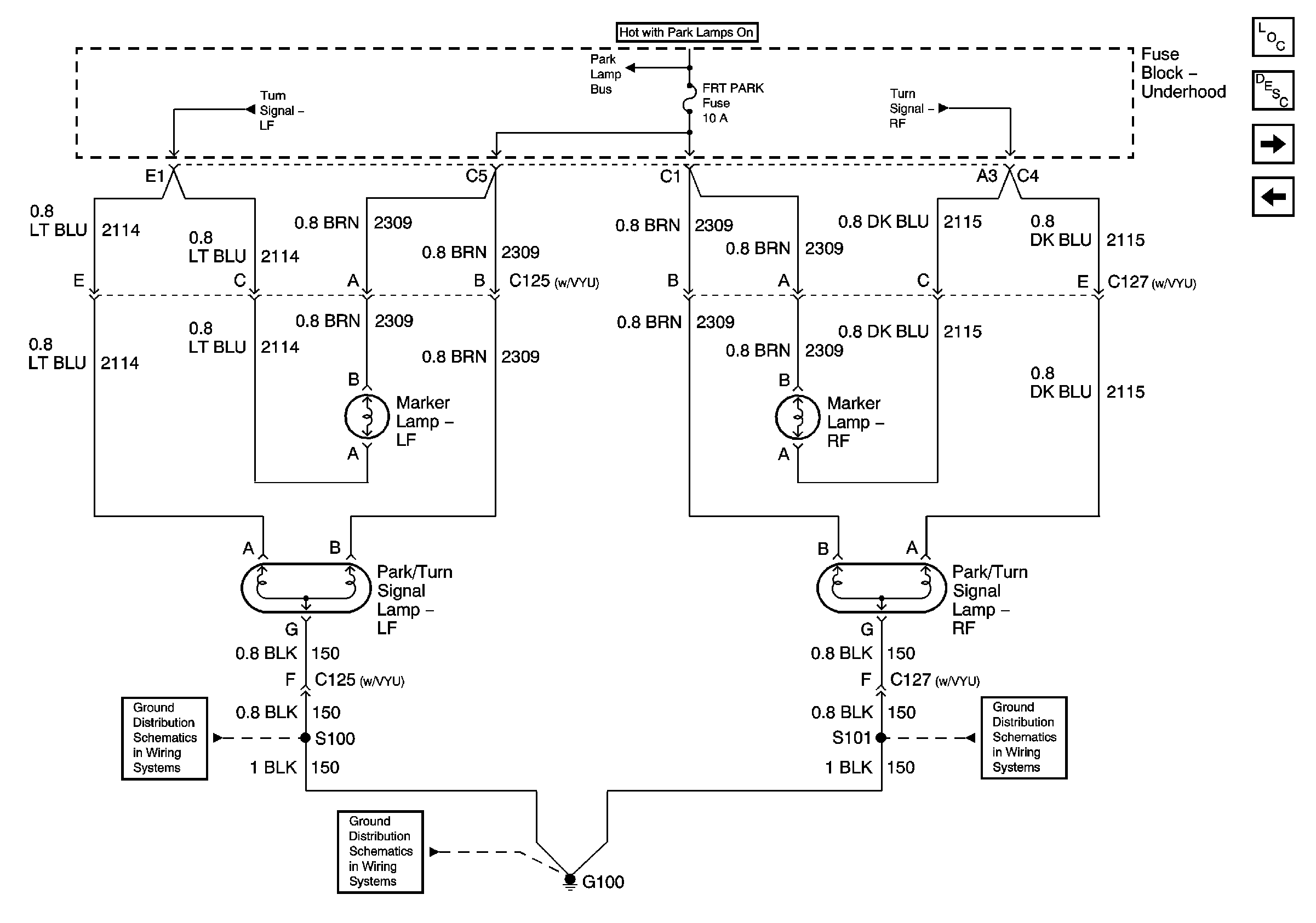
🢒 Front Park Lamps - Domestic
Front Park Lamps - Domestic
Front Park Lamps - Domestic
Master Electrical Component List
Exterior Lighting Systems Description and Operation
Front Park Lamps - Export
Park Lamp Relay - Export
left Turn Signals - Domestic - GMC
Park Lamp Relay - Domestic
Right Turn Signals - Domestic - GMC
G100, G101, G105
G100, G101, G105
G100, G101, G105