GM Service Manual Online
For 1990-2009 cars only
Makes
🢒
GMC_Truck
🢒
2003
🢒
GMC C Sierra - 2WD
🢒 Fuel Controls - Fuel Pump Controls
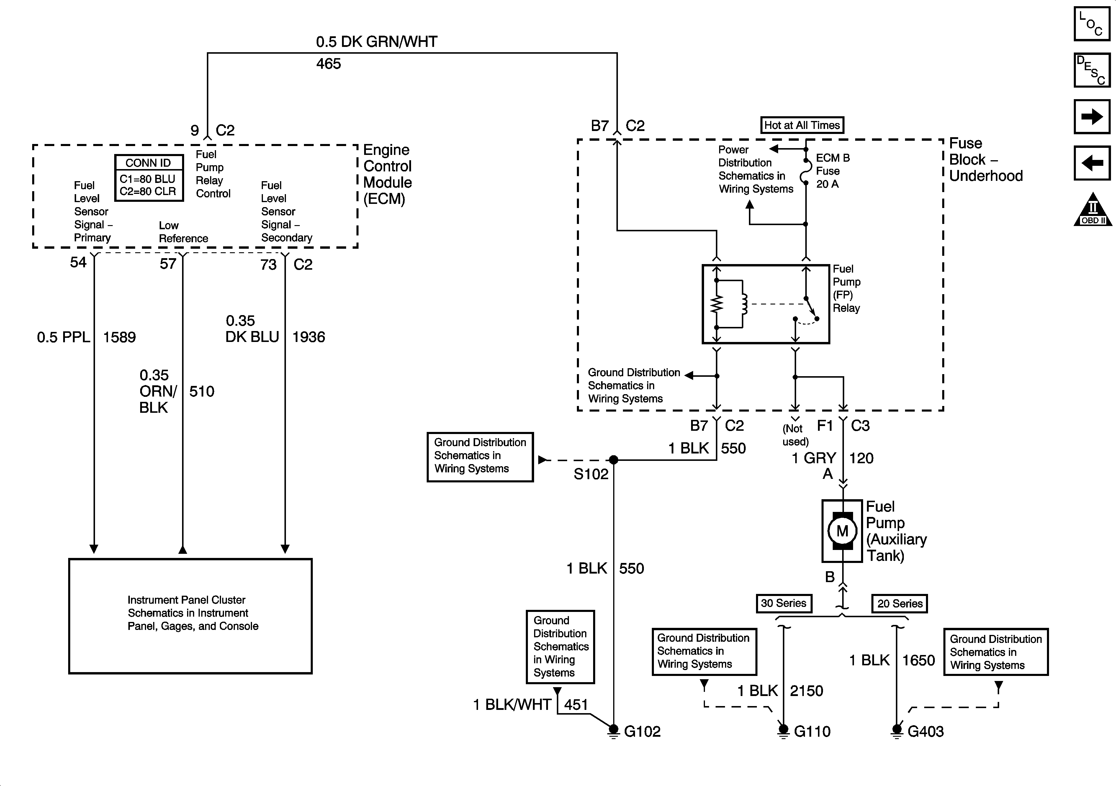
Fuel Controls - Fuel Pump Controls
Fuel Controls - Fuel Pump Controls
Master Electrical Component List
Engine Control Module Description
Fuel Controls - Water in Fuel, Fuel Temperature, and Fuel Pressure Sensors
Engine Data Sensors - Glow Plug Controls - California Emissions
OBD II Symbol Description Notice
B+ Bus Bar (Diesel) - 2 of 3
G102, G103, G108, and G109 - Diesel
G102, G103, G108, and G109 - Diesel
Fuel Gauge-Gas Only
G102, G103, G108, and G109 - Diesel
G110
ECM, ECMRPV, EDU, EDU Relay - Diesel Only
G403