GM Service Manual Online
For 1990-2009 cars only
Figure 1:

Power, Ground and Serial Data - 1 of 2


Object Number: 846624  Size: FS
Master Electrical Component List
Body Control System Description and Operation
Power, Ground and Serial Data - 2 of 2
ABS, VSES/ECAS, STUD #1, STUD #2, TBC BATT
O2A, O2B, TBC IGN 1, SEO IGN
ABS, VSES/ECAS, STUD #1, STUD #2, TBC BATT
G203 - 1 Of 2
G203 - 1 Of 2
Figure 2:

Power, Ground and Serial Data - 2 of 2


Object Number: 846627  Size: FS
Master Electrical Component List
Body Control System Description and Operation
Interior Lighting Systems References
Power, Ground and Serial Data - 1 of 2
TBC 2A, TBC 2B, TBC 2C, LT DOORS, RT DOORS, SEATS
IGN 0, TBC IGN 0, TBC ACCY, SEO ACCY, WS WIPER, RR WIPER
SP205 - 2 of 2
Figure 3:

Interior Lights Systems References


Object Number: 846629  Size: FS
Master Electrical Component List
Body Control System Description and Operation
Exterior Lighting Systems References
Power, Ground and Serial Data - 2 of 2
Interior Lights and LED Dimming Control
Door Jamb Switches - 1 of 2
Door Jamb Switches - 2 of 2
I/P Dimming Supply Voltage - 7 of 7
Inadvertent Power Supply Voltage - 1 of 3 and Courtesy Lamp Supply Voltage 1 of 4
Inadvertent Power Supply Voltage - 3 of 3
Figure 4:

Exterior Lighting Systems References


Object Number: 846635  Size: FS
Master Electrical Component List
Body Control System Description and Operation
Controlled/Monitored Subsystem References - 1 of 2
Interior Lighting Systems References
Headlights
Daytime Running Lamps (DRl) - Domestic
Daytime Running Lamps (DRL) - Export
Front
Park Lamp Relay - Domestic
Backup Lamps
Headlights/DRL Controls
Headlights/DRL Controls
Front
Rear - Export only
Backup Lamps
Headlights (w/Z75)
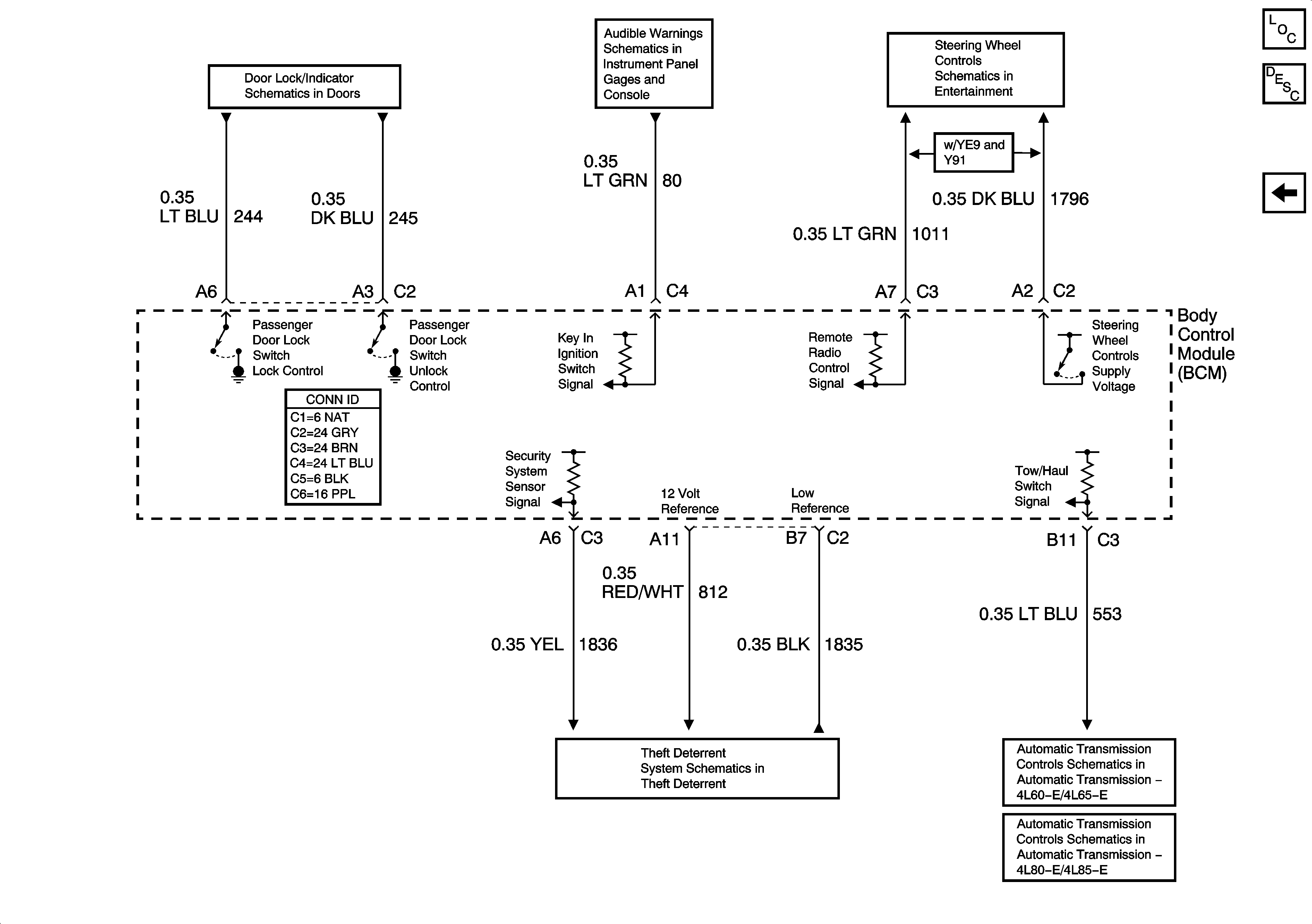
Figure 5:

Controlled/Monitored Subsystem References - 1 of 2


Object Number: 846639  Size: FS
Master Electrical Component List
Body Control System Description and Operation
Controlled/Monitored Subsystem References - 2 of 2
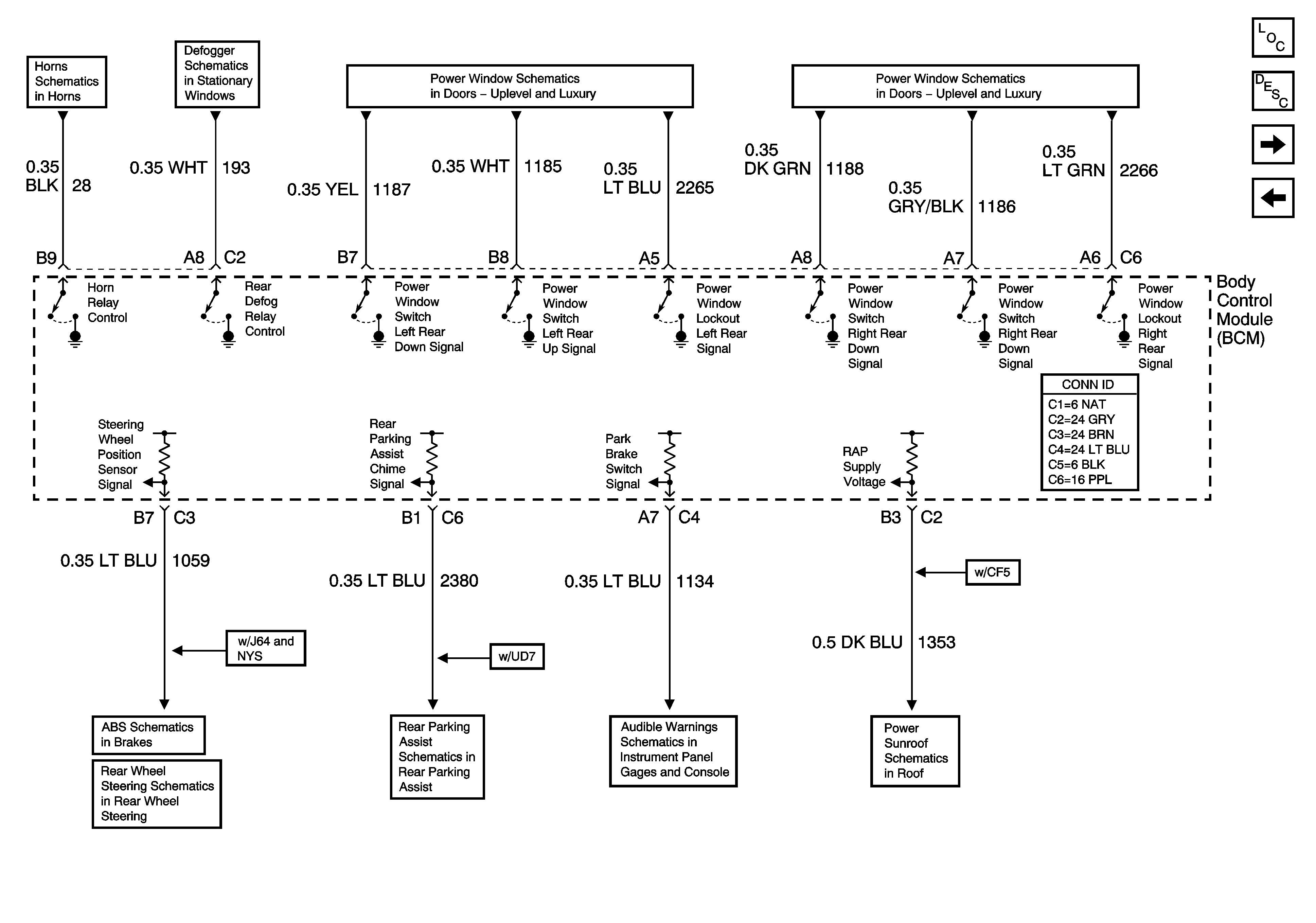
Exterior Lighting Systems References
03 GMT800 Horns Schematics
Rear Window Defogger Control
Left Doors
Right Doors
Yaw and Lateral Acceleration Sensor Inputs
Mode Select Inputs
Rear Object Sensor Control Module, RPA Display, RPA Disable Switch
Audible Warnings
RAP Schematics
Figure 6:

Controlled/Monitored Subsystem References - 2 of 2


Object Number: 846641  Size: FS
Master Electrical Component List
Body Control System Description and Operation
Controlled/Monitored Subsystem References - 1 of 2
Door Lock Relay Controls
Audible Warnings
Steering Wheel Controls
Passlock Sensor Inputs and Class 2
Tow/Haul Switch and PNP Switch Inputs
Tow/Haul Switch and PNP Switch Inputs