GM Service Manual Online
For 1990-2009 cars only
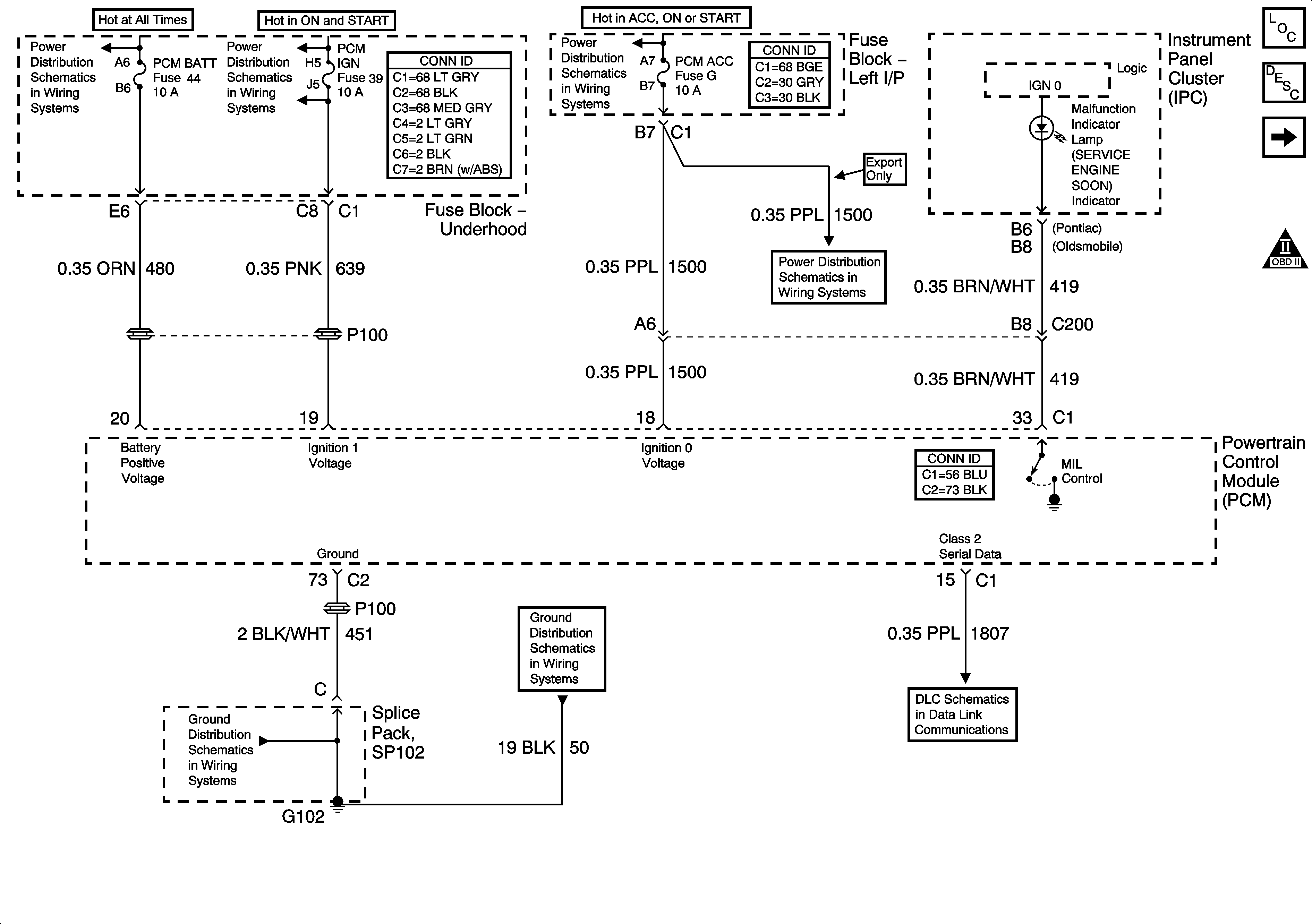
Figure 1:

Power, Ground, Serial Data and MIL


Object Number: 869454  Size: FS
Master Electrical Component List
Powertrain Control Module Description
5 Volt and Low Reference Bussing
OBD II Symbol Description Notice
L/H BEC BATT1, AUX PWR/CIGAR, PARK LPS, PCM BATT, PWR MIRROR, DR LOCK, TRUNK REL/Radio Amp Fuses, and RWR SEAT Circuit Breaker
IGN SW-BATT2, WIPER, AIR BAG, TURN LPS, IGN MOD, B/U LP/BTSI/ PCM IGN, F/P INJR, A/C BFC, AUTO TRANS, ABS/EVO/IGN Fuses
PCM ACC, IPC/BFC ACC Fuses
PCM ACC, IPC/BFC ACC Fuses
G102 and G104
G102 and G104
Data Link Connector (DLC) Schematics
Figure 2:

5 Volt and Low Reference Bussing


Object Number: 790296  Size: FS
Master Electrical Component List
Powertrain Control Module Description
Engine Data Sensors - Pressure and Temperature
Power, Ground, Serial Data and MIL
OBD II Symbol Description Notice
Figure 3:

Engine Data Sensors - Pressure and Temperature


Object Number: 777959  Size: FS
Master Electrical Component List
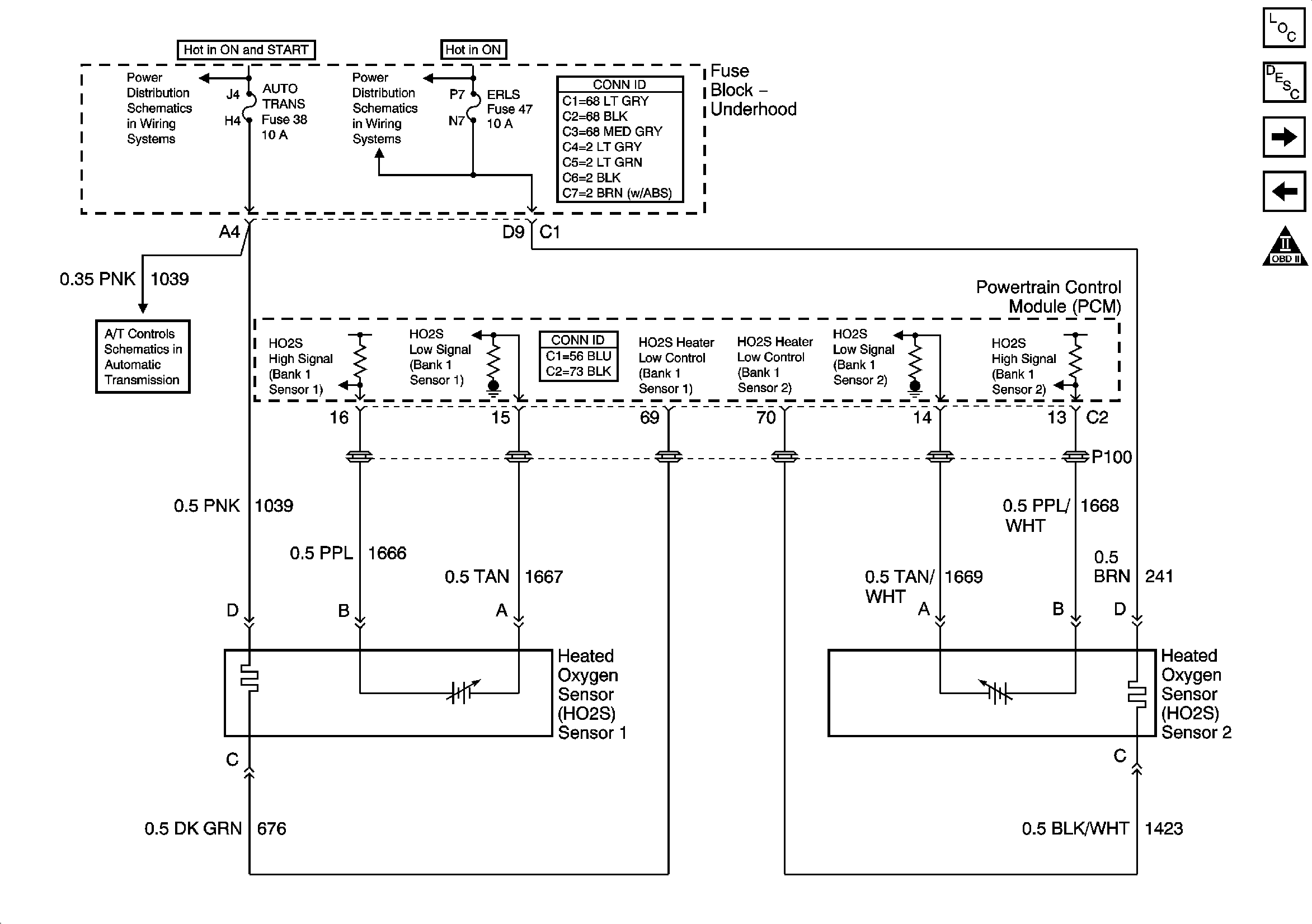
Powertrain Control Module Description
Heated Oxygen Sensors
5 Volt and Low Reference Bussing
OBD II Symbol Description Notice
Oil Pressure and Level Switch
Figure 4:

Heated Oxygen Sensors


Object Number: 869459  Size: FS
Master Electrical Component List
Powertrain Control Module Description
Ignition System
Engine Data Sensors - Pressure and Temperature
OBD II Symbol Description Notice
IGN SW-BATT2, WIPER, AIR BAG, TURN LPS, IGN MOD, B/U LP/BTSI/ PCM IGN, F/P INJR, A/C BFC, AUTO TRANS, ABS/EVO/IGN Fuses
IGN SW-BATT1, HTR-A/C, ERLS, CRANK Fuses
Transmission Solenoids
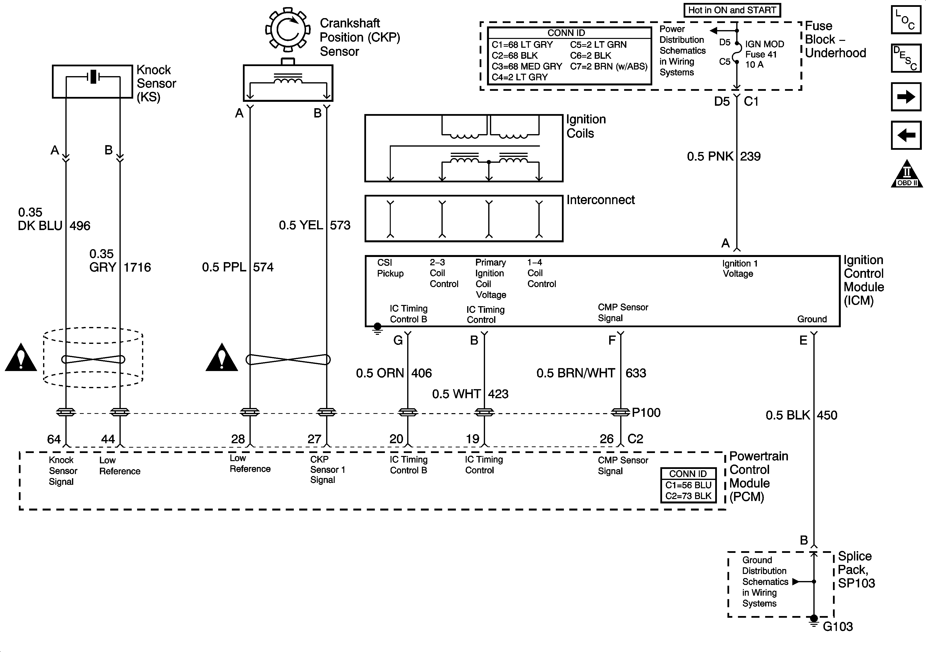
Figure 5:

Ignition System


Object Number: 869472  Size: FS
Master Electrical Component List
Powertrain Control Module Description
Fuel Pump Controls
Heated Oxygen Sensors
OBD II Symbol Description Notice
IGN SW-BATT2, WIPER, AIR BAG, TURN LPS, IGN MOD, B/U LP/BTSI/ PCM IGN, F/P INJR, A/C BFC, AUTO TRANS, ABS/EVO/IGN Fuses
Engine Controls Schematic Icons
Engine Controls Schematic Icons
G103 and G105
G103 and G105
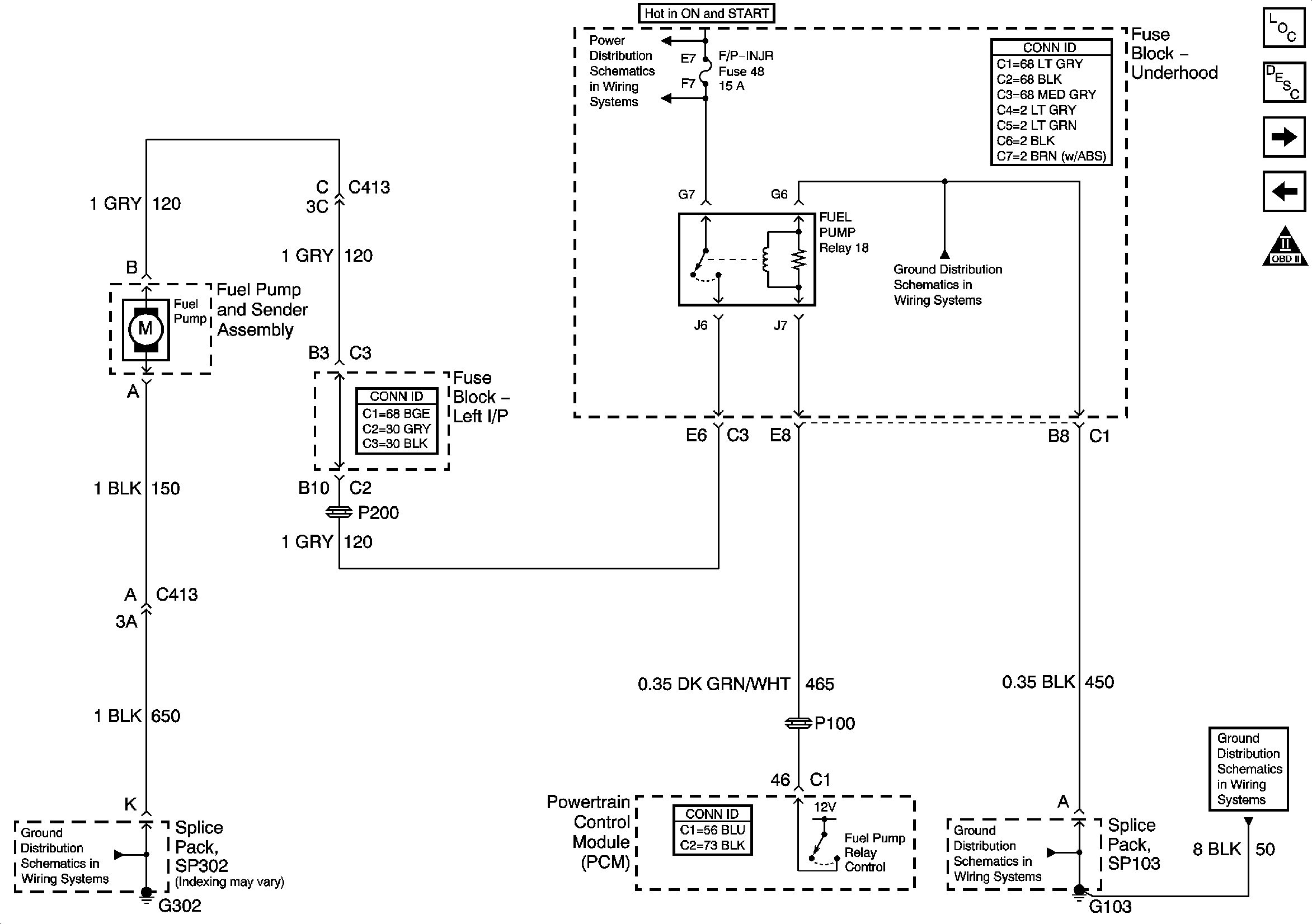
Figure 6:

Fuel Pump Controls


Object Number: 869474  Size: FS
Master Electrical Component List
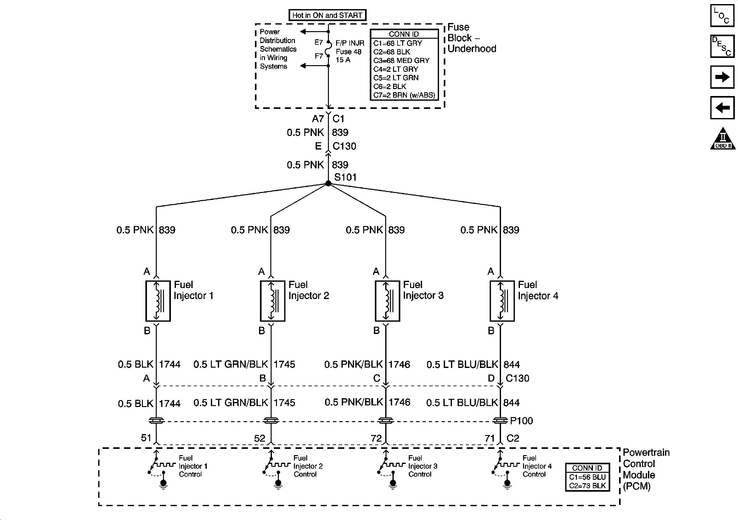
Fuel System Description
Fuel Injectors
Ignition System
OBD II Symbol Description Notice
IGN SW-BATT2, WIPER, AIR BAG, TURN LPS, IGN MOD, B/U LP/BTSI/ PCM IGN, F/P INJR, A/C BFC, AUTO TRANS, ABS/EVO/IGN Fuses
G103 and G105
G302
G103 and G105
G103 and G105
Figure 7:

Fuel Injectors


Object Number: 869476  Size: FS
Master Electrical Component List
Fuel System Description
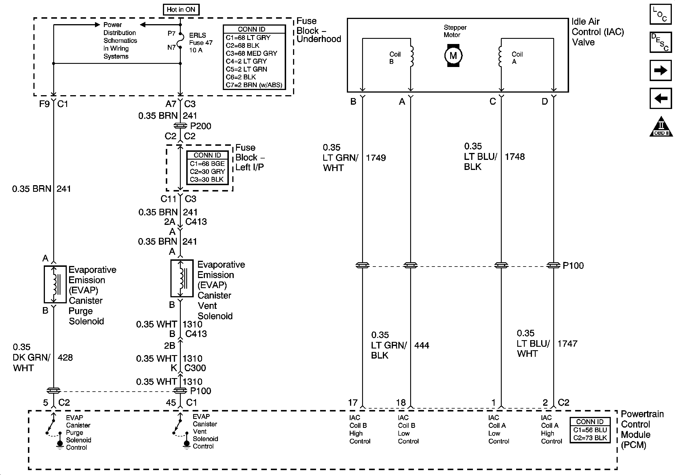
EVAP and IAC Controls
Fuel Pump Controls
OBD II Symbol Description Notice
IGN SW-BATT2, WIPER, AIR BAG, TURN LPS, IGN MOD, B/U LP/BTSI/ PCM IGN, F/P INJR, A/C BFC, AUTO TRANS, ABS/EVO/IGN Fuses
Figure 8:

EVAP and IAC Controls


Object Number: 869477  Size: FS
Master Electrical Component List
Evaporative Emission Control System Description
Controlled/Monitored Subsystem References
Fuel Injectors
OBD II Symbol Description Notice
IGN SW-BATT1, HTR-A/C, ERLS, CRANK Fuses
Figure 9:

Controlled/Monitored Subsystem References


Object Number: 777986  Size: FS
Master Electrical Component List
Powertrain Control Module Description
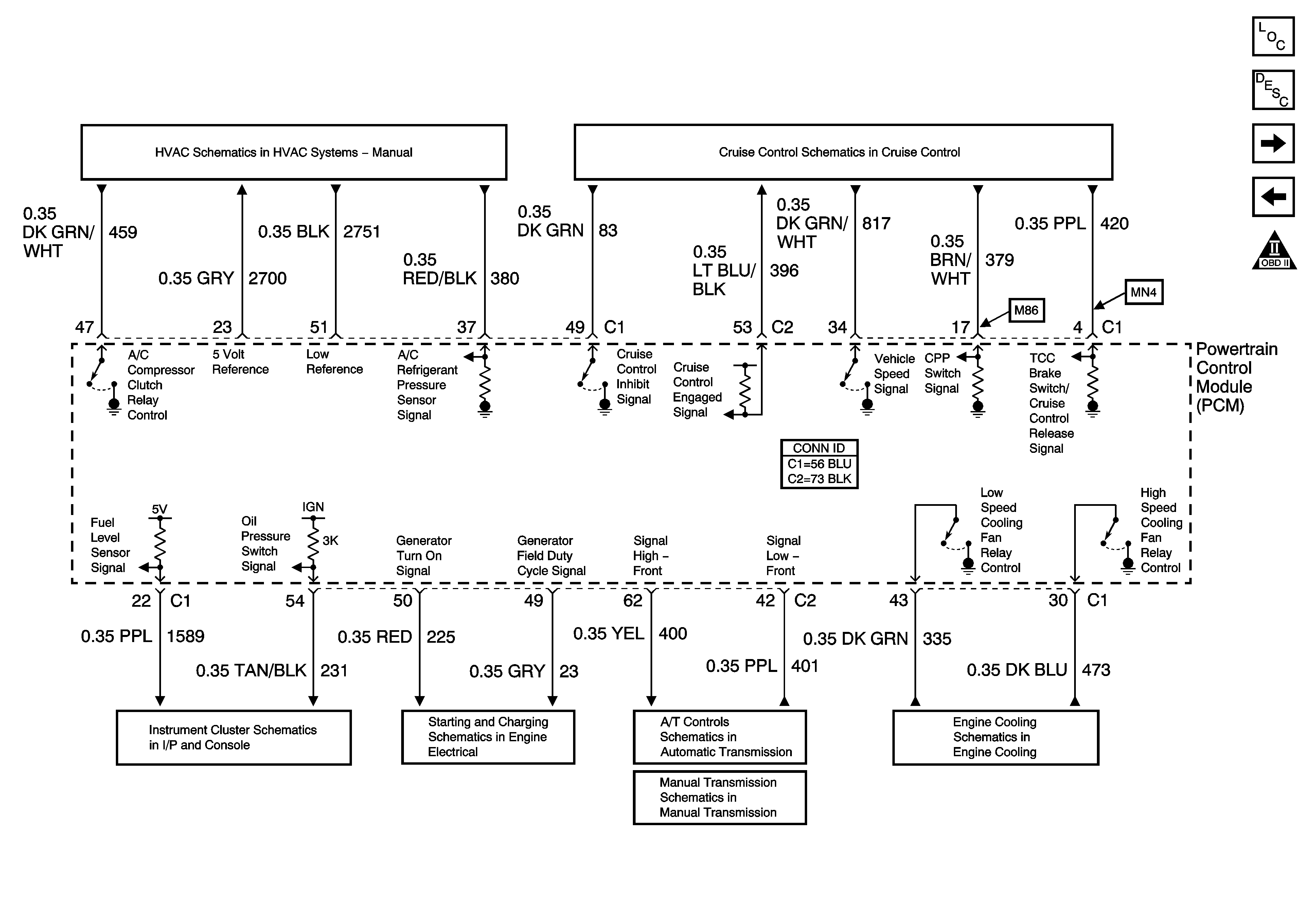
Transmission Controls - A/T
EVAP and IAC Controls
OBD II Symbol Description Notice
Compressor Controls
Power and Ground
Oil Pressure and Level Switch
Charging System
Transmission Solenoids
Manual Transmission Controls
Cooling Fans
Figure 10:

Transmission Controls - A/T


Object Number: 777994  Size: FS
Master Electrical Component List
Powertrain Control Module Description
Controlled/Monitored Subsystem References
OBD II Symbol Description Notice
Transmission Solenoids
Transmission Switches
Transmission Switches
PNP Switch