GM Service Manual Online
For 1990-2009 cars only

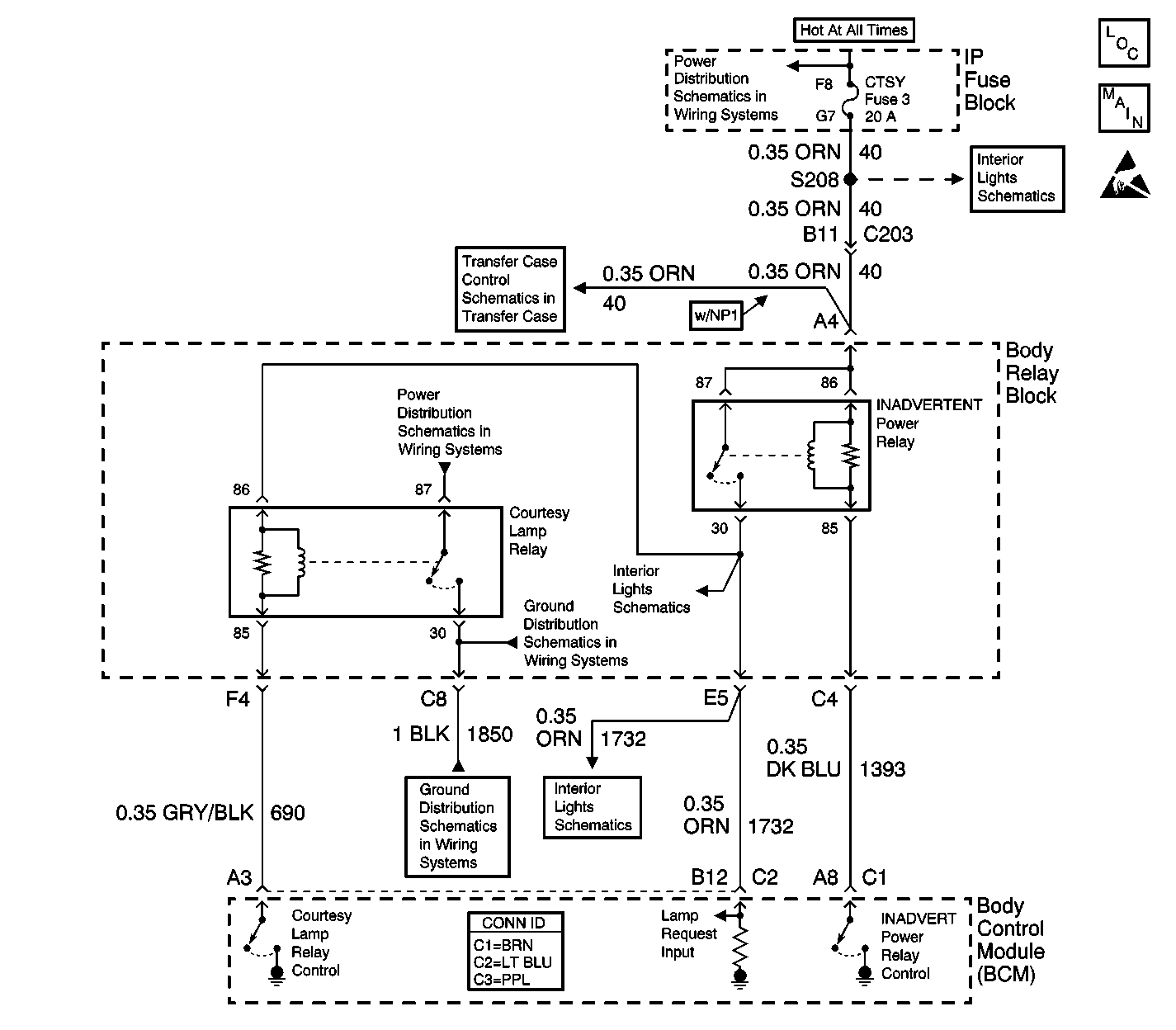
Object Number: 602989  Size: LF
Lighting Systems Components
Interior Lights Dimming Schematics
Handling ESD Sensitive Parts Notice
Interior Lights Schematics
Power Distribution Schematics
Transfer Case Control Schematics
Power Distribution Schematics
Interior Lights Schematics
Ground Distribution Schematics
Ground Distribution Schematics
Interior Lights Schematics

Circuit Description

The body control module (BCM) controls the ground of the courtesy lamp relay on CKT 690. When the BCM receives a signal from a door jamb switch, a signal to unlock the doors from the remote control door lock module receiver module or the dome lamp switch being turned ON, the BCM grounds the relay and turns ON the courtesy lamps.

Conditions for Running the DTC

    • The system voltage must be between 9.0-16.0 volts.
    • The ignition switch in the OFF position.
    • Unlock doors from the remote control door lock key fob, or open any door, or turn ON the dome lamp from the switch (thumbwheel).
    • The above conditions must be met for more than 0.5 seconds.

Conditions for Setting the DTC

To set B2618, the following conditions must be present:

    • Courtesy lamps ON.
    • CKT 690 is shorted to battery voltage.
    • The above conditions must be met for 0.5 seconds.

Action Taken When the DTC Sets

The courtesy lights will not function.

Conditions for Clearing the MIL/DTC

    • This DTC will clear after a fault free courtesy lamp operation.
    • A history DTC will clear after 100 consecutive ignition cycles without a fault present.
    • Use a scan tool in order to clear history and current DTCs.

Diagnostic Aids

       Important: Use the appropriate probe from the J 35616 connector test adapter kit for any probing of the electrical components in this table, in order to avoid damage to the terminals.

    • The scan tool must display DTC B2618 as a current code before performing these diagnostics.
    • Perform a visual inspection for loose or poor connections at all related components.
    • Refer to Testing for Intermittent Conditions and Poor Connections in Wiring Systems.

Test Description

The number(s) below refer to the step number(s) on the diagnostic table.

  1. Listen for an audible click when the courtesy lamp relay operates. Command both the ON and OFF states. Repeat the commands as necessary.

  2. Tests for voltage at the coil side of the courtesy lamp relay. The CTSY LP fuse supplies power to the coil side of the courtesy lamp relay.

  3. Verifies that the body control module is providing ground to the courtesy lamp relay.

  4. Tests if ground is constantly being applied to the courtesy lamp relay.

  5. After replacement of the BCM you must calibrate the new module for proper operation.

Step

Action

Value(s)

Yes

No

1

Did you perform the Lighting System Diagnostic System Check?

--

Go to Step 2

Go to Diagnostic System Check - Lighting Systems

2

  1. Install a scan tool.
  2. Turn ON the ignition, with the engine OFF.
  3. With a scan tool, command the courtesy lamp relay ON and OFF.

Does the courtesy lamp relay turn ON and OFF with each command?

--

Go to Diagnostic Aids

Go to Step 3

3

  1. Turn OFF the ignition.
  2. Disconnect the courtesy lamp relay.
  3. Turn ON the ignition, with the engine OFF.
  4. Probe the coil side feed circuit of the courtesy lamp relay with a test lamp that is connected to a good ground.

Does the test lamp illuminate?

--

Go to Step 4

Go to Step 10

4

  1. Connect a test lamp between the control circuit of the courtesy lamp relay and the coil side feed circuit of the courtesy lamp relay .
  2. With a scan tool, command the courtesy lamp relay ON and OFF .

Does the test lamp turn ON and OFF with each command?

--

Go to Step 8

Go to Step 5

5

Does the test lamp remain illuminated with each command?

--

Go to Step 7

Go to Step 6

6

Test the control circuit of the courtesy lamp relay for a short to voltage or an open. Refer to Circuit Testing and Wiring Repairs in Wiring Systems.

Did you find and correct the condition?

--

Go to Step 13

Go to Step 9

7

Test the control circuit of the courtesy lamp relay for a short to ground. Refer to Circuit Testing and Wiring Repairs in Wiring Systems.

Did you find and correct the condition?

--

Go to Step 13

Go to Step 9

8

Inspect for poor connections at the courtesy lamp relay. Refer to Testing for Intermittent Conditions and Poor Connections and Connector Repairs in Wiring Systems.

Did you find and correct the condition?

--

Go to Step 13

Go to Step 11

9

Inspect for poor connections at the harness connector of the body control module. Refer to Testing for Intermittent Conditions and Poor Connections and Connector Repairs in Wiring Systems.

Did you find and correct the condition?

--

Go to Step 13

Go to Step 12

10

Repair the coil side feed circuit of the courtesy lamp relay. Refer to Wiring Repairs in Wiring Systems.

Did you complete the repair?

--

Go to Step 13

--

11

Replace the courtesy lamp relay.

Did you complete the replacement?

--

Go to Step 13

--

12

  1. Replace the BCM. Refer to Body Control Module Replacement in Body Control System.
  2. Program the BCM with the proper calibrations. Refer to Body Control Module (BCM) Programming/RPO Configuration in Body Control System.
  3. Perform the learn procedure.

Did you complete the replacement?

--

Go to Step 13

--

13

  1. Use the scan tool in order to clear the DTCs .
  2. Operate the vehicle within the Conditions for Running the DTC as specified in the supporting text.

Does the DTC reset?

--

Go to Step 2

System OK