GM Service Manual Online
For 1990-2009 cars only
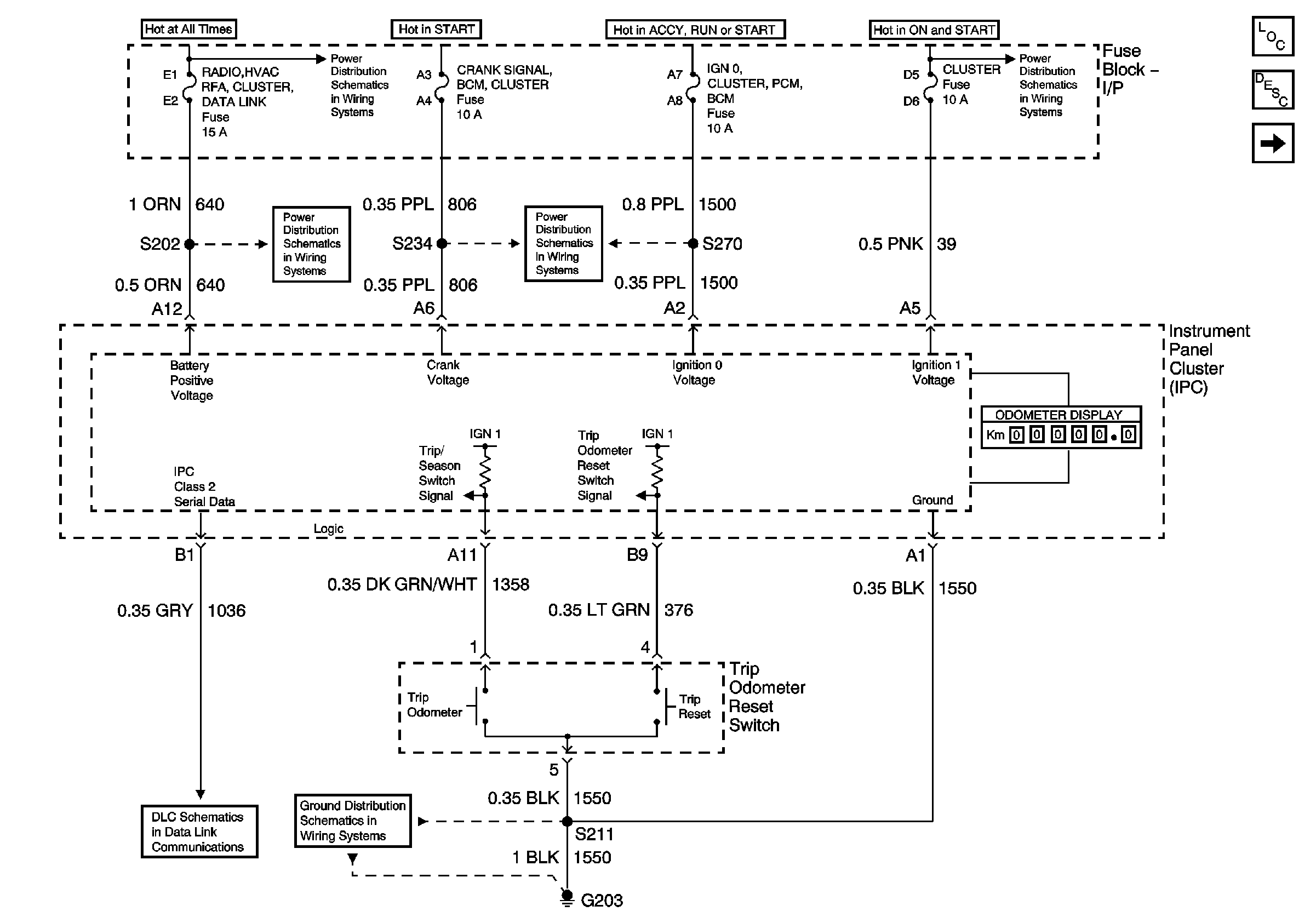
Figure 1:

Power, Ground, and Odometer


Object Number: 688529  Size: FS
Master Electrical Component List
Instrument Cluster Description and Operation
Gages
INADV POWER BUS/RAP, BCM, RADIO/HVAC/RFA CLUSTER/DATA LINK, RADIO AMP, and CIGAR LTR/AUX POWER/POWER DROP Fuses
BTSI, TURN SIGNALS/CORN LPS, AIR BAG, CLUSTER, and PCM/BCM/U H RELAY Fuses
INADV POWER BUS/RAP, BCM, RADIO/HVAC/RFA CLUSTER/DATA LINK, RADIO AMP, and CIGAR LTR/AUX POWER/POWER DROP Fuses
IGN 0 CLUSTER/PCM/BCM, and CRANK SIGNAL/BCM/CLUSTER Fuses
DLC, and Splice Pack
G203
Figure 2:

Gages


Object Number: 688531  Size: FS
Master Electrical Component List
Instrument Cluster Description and Operation
Engine and Security Indicators
Power, Ground, and Odometer
DLC, and Splice Pack
5 Volt, and Low Reference Bussing
5 Volt, and Low Reference Bussing
Figure 3:

Engine and Security Indicators


Object Number: 716833  Size: FS
Master Electrical Component List
Indicator/Warning Message Description and Operation
Warning Indicators, and Illumination
Gages
DLC, and Splice Pack
Power, Ground, Cooling Fans, Relays, and Level Switch
Pwr, Ground, Wiper Motor, Washer, Pump and Sensor
Power, Ground, MIL, and Serial Data
Park Brake On, and Brake Fulid Level Signals
G113
G113
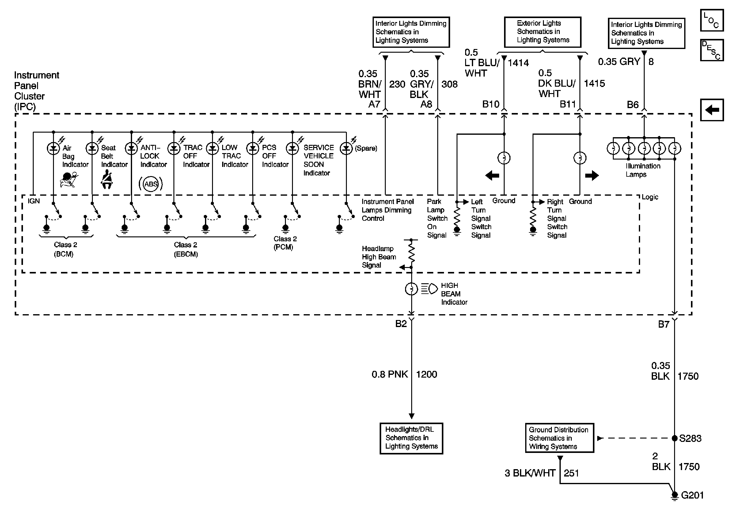
Figure 4:

Warning Indicators, and Illumination


Object Number: 688534  Size: FS
Master Electrical Component List
Indicator/Warning Message Description and Operation
Engine and Security Indicators
Dimming Control, IPC, HVAC, and Radio
Turn Signal Lamps-Rear
Instrument Panel
HDLP-LH, HDLP-RH, Multifunction Turn Signal Lever
G201