GM Service Manual Online
For 1990-2009 cars only
Makes
🢒
Pontiac
🢒
2004
🢒
Bonneville
🢒
Accessories
🢒
Cellular Communication
🢒 OnStar Schematics
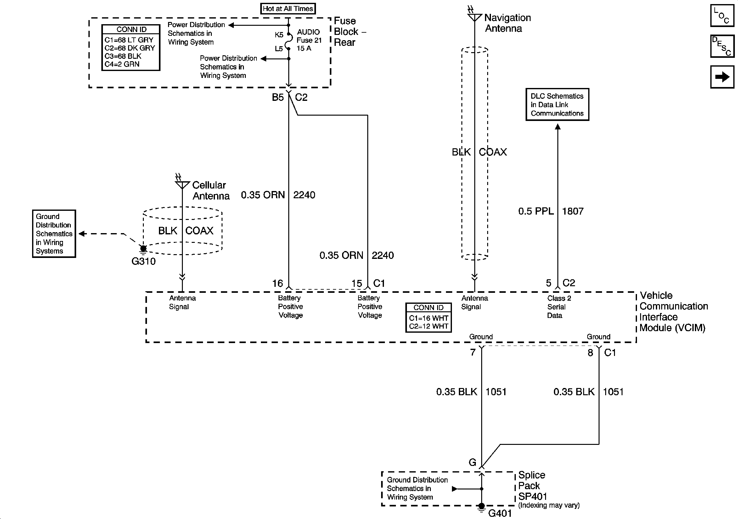
Figure
1:
Power Ground and Class 2
Master Electrical Component List
OnStar Description and Operation
Rear Fuse Block - B+ Bus
TSIG/HAZ, STOP LP, AUDIO, and CD Fuses
G401 (1 of 2)
G303, G305, G310, and G404
Serial Data Class 2
Keypad Controls
Figure
2:
Keypad Controls
Master Electrical Component List
OnStar Description and Operation
Cellular Communication Schematic Icons
Cellular Communication Schematic Icons
G402
G402
Module Signals
Power Ground and Class 2