GM Service Manual Online
For 1990-2009 cars only
Figure 1:

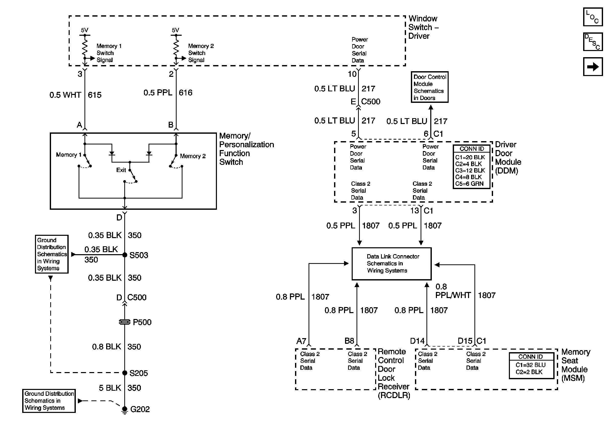
Memory Function Switch


Object Number: 661158  Size: FS
Master Electrical Component List
Memory Seats Description and Operation
LH Seat Switch
Driver Door Module Inputs and Outputs
Class 2 Serial Data Line
G202 (4 of 4)
G202 (1 of 4)
Figure 2:

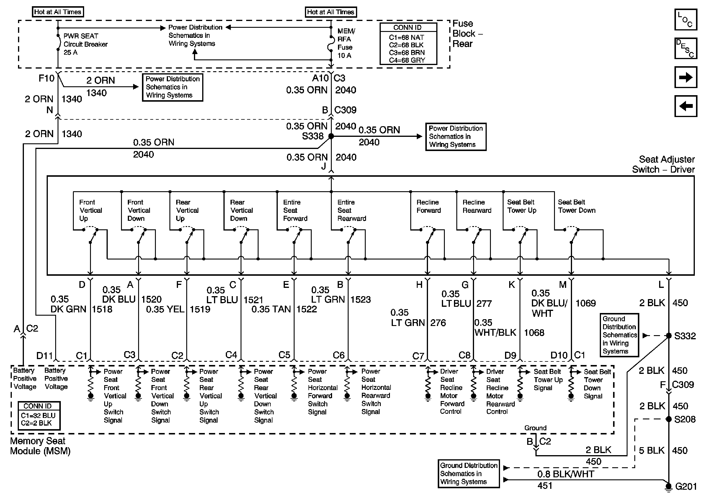
LH Seat Switch


Object Number: 661160  Size: FS
Master Electrical Component List
Memory Seats Description and Operation
LH Seat Motors
Memory Function Switch
Underhood Fuse Block- BAT 2 Fuse/ Rear Fuse Block- PWR SEAT and MEM/RFA FUSEs
Underhood Fuse Block- BAT 2 Fuse/ Rear Fuse Block- PWR SEAT and MEM/RFA FUSEs
Underhood Fuse Block- BAT 2 Fuse/ Rear Fuse Block- PWR SEAT and MEM/RFA FUSEs
G201 (1 of 2)
G201 (1 of 2)
Figure 3:

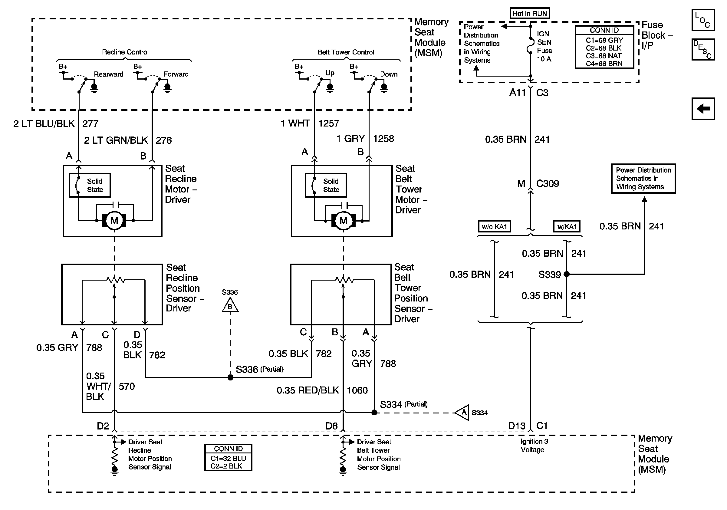
LH Seat Motors


Object Number: 661163  Size: FS
Master Electrical Component List
Memory Seats Description and Operation
LH Seat Recline and Belt Tower Motors
LH Seat Switch
LH Seat Recline and Belt Tower Motors
LH Seat Recline and Belt Tower Motors
Memory Power Lumbar
Figure 4:

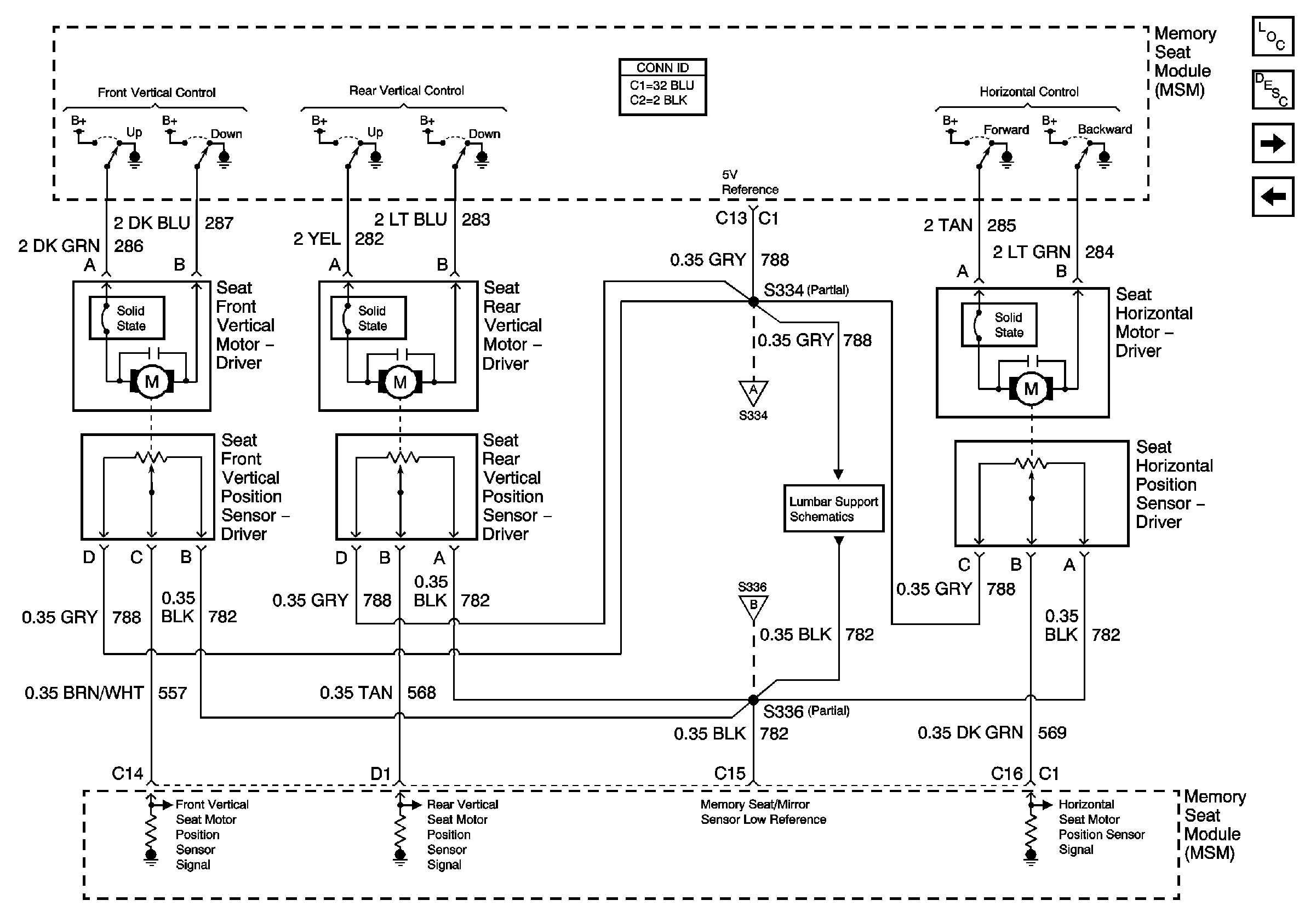
LH Seat Recline and Belt Tower Motors


Object Number: 661165  Size: FS
Master Electrical Component List
Memory Seats Description and Operation
LH Seat Motors
IP Fuse Block- IGN SEN Fuse/ Rear Fuse Block- HTD BK LITE Relay
IP Fuse Block- IGN SEN Fuse/ Rear Fuse Block- HTD BK LITE Relay
LH Seat Motors
LH Seat Motors