GM Service Manual Online
For 1990-2009 cars only
Makes
🢒
Buick
🢒
2005
🢒
Park Avenue
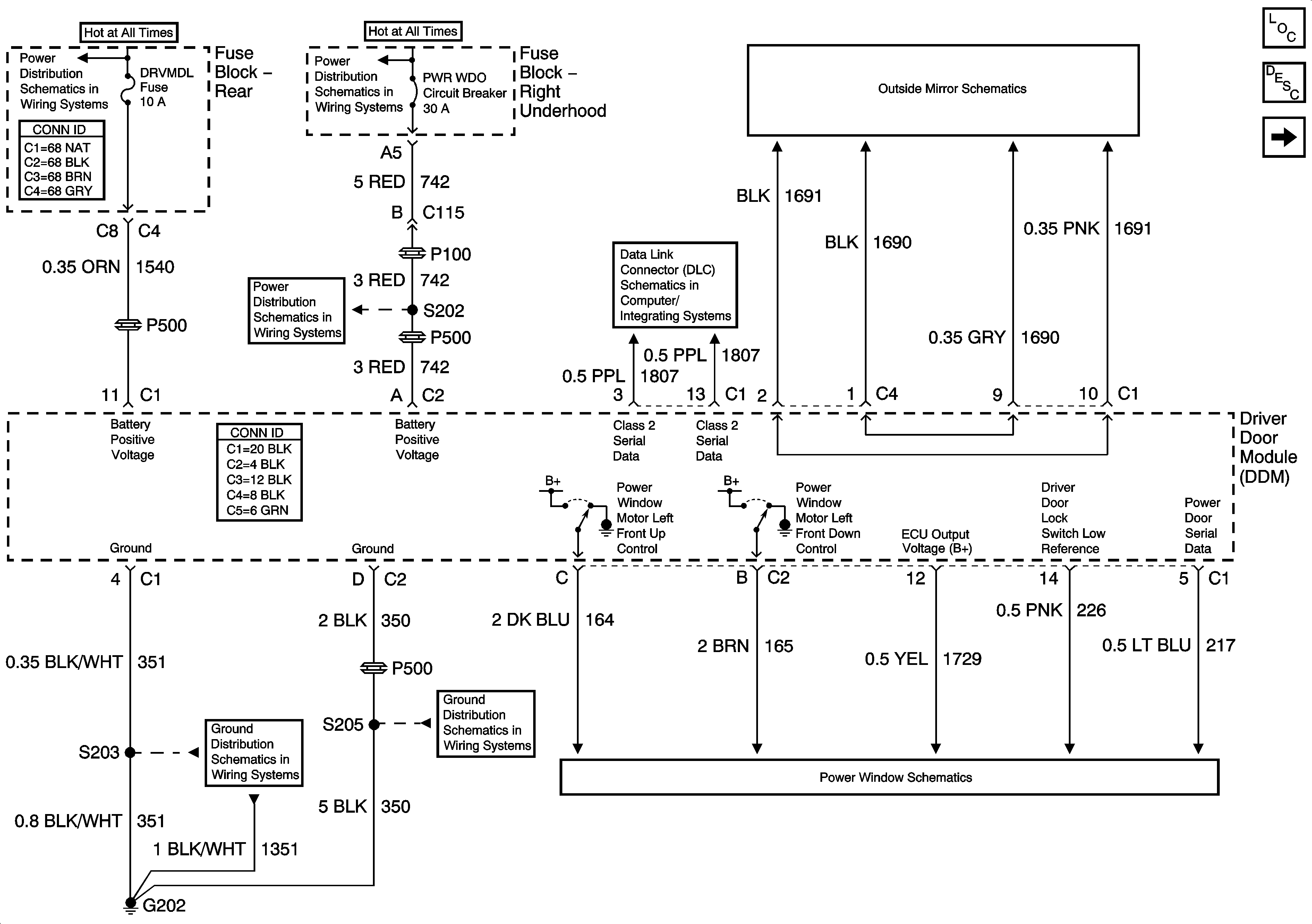
🢒 Driver Door Module
Driver Door Module
Driver Door Module
Master Electrical Component List
Power Windows Description and Operation
Driver Door Module Inputs and Outputs
BAT 1, RRINMDL, C/LTR, DRVMDL, HTDST L, TRK REL, PDM, SBM and CSTR/SBM Fuses
Battery Feed to Left and Right Underhood Fuse Blocks
Driver Outside Rearview Mirror
Class 2 Serial Data Lines
PWR WDO Circuit Breaker, RDO/PH and SUNRF Fuses
Inside Rearview Mirror Schematics
G202 - 1 of 4
G202 - 4 of 4
Front Windows