GM Service Manual Online
For 1990-2009 cars only
Makes
🢒
Buick
🢒
1999
🢒
Riviera
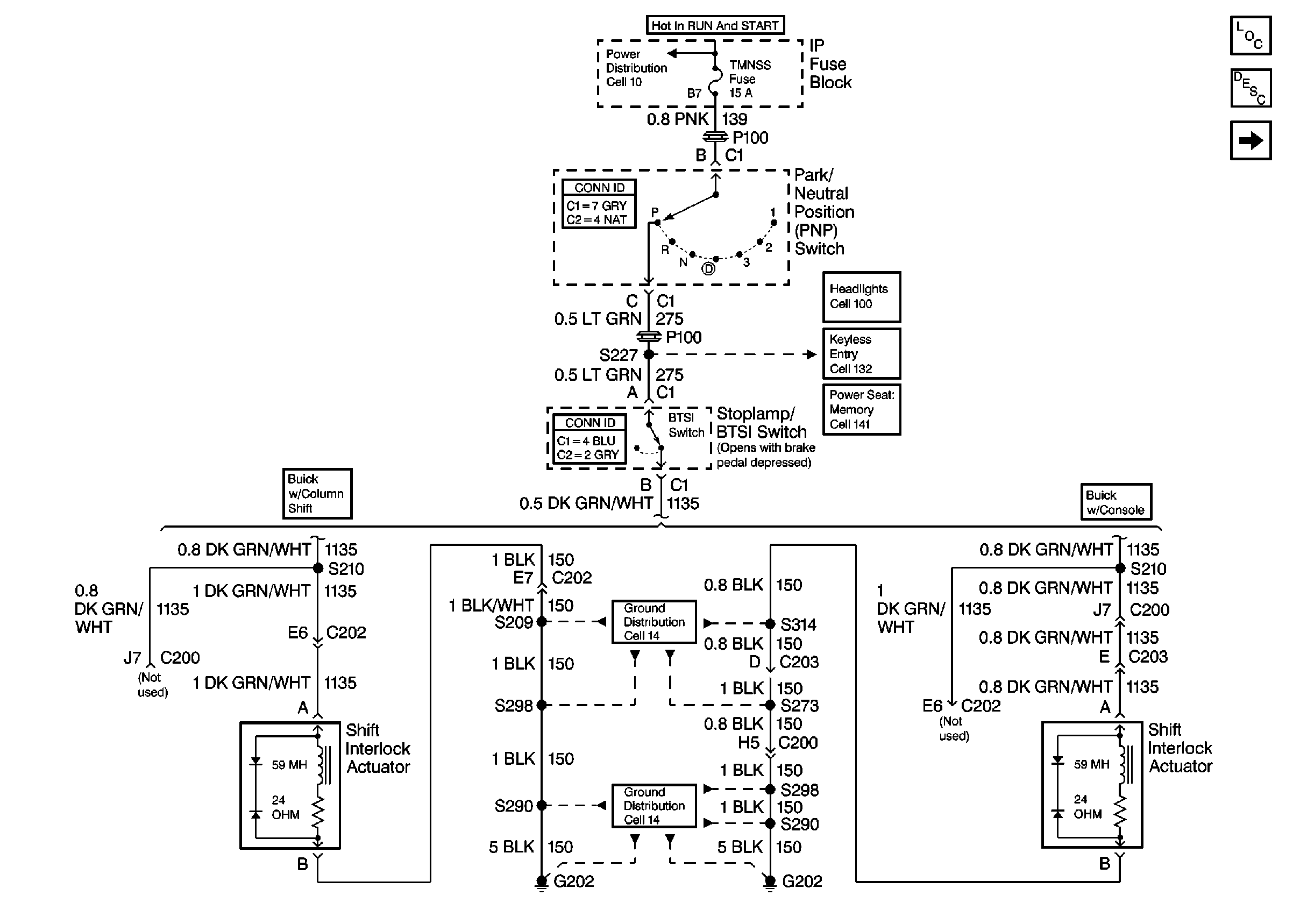
🢒 Cell 138: Buick
Cell 138: Buick
Cell 138: Buick
Lighting Systems Components
Lighting System Description
Cell 138: Oldsmobile
Power Distribution Schematics
Ground Distribution Schematics
Ground Distribution Schematics
Headlights Schematics Buick
Keyless Entry Schematics
Memory Seats Schematics Buick