| Figure 1: |
Power, Ground, Class 2 and 54V, VF Display Supply
|
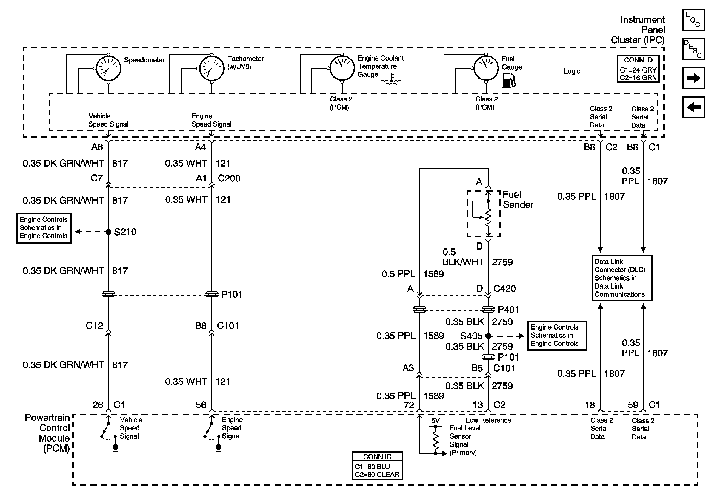
| Figure 2: |
Gauges
|
| Figure 3: |
Brakes and Engine Indicators
|
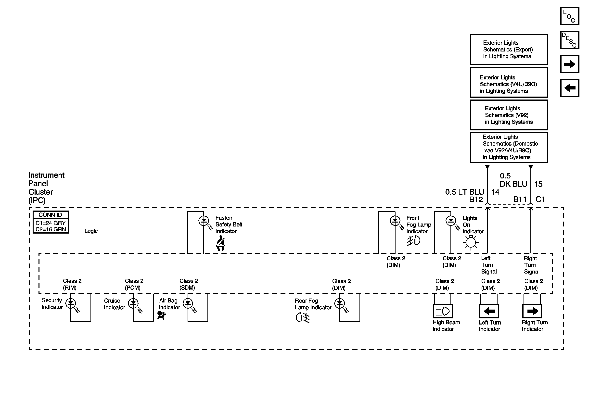
| Figure 4: |
Lighting, Restraints, Security, and Cruise Indicators
|
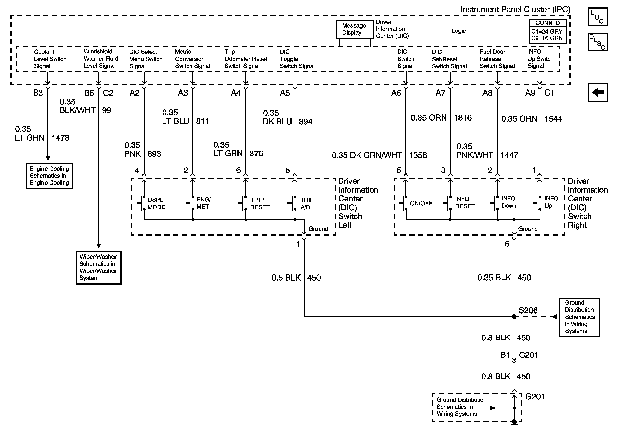
| Figure 5: |
Driver Information Center
|