GM Service Manual Online
For 1990-2009 cars only
Figure 1:

Rear Fuse Block Battery Voltage


Object Number: 782121  Size: FS
Master Electrical Component List
Underhood Fuse Block Battery Voltage
G300, G303, G304, G306
Underhood Fuse Block Battery Voltage
Figure 2:

Underhood Fuse Block Battery Voltage


Object Number: 1274807  Size: FS
Master Electrical Component List
Driver and Passenger Defog Circuit Breakers (w/WC2/WC8)
Rear Fuse Block Battery Voltage
Rear Fuse Block Battery Voltage
Driver and Passenger Defog Circuit Breakers (w/WC2/WC8)
Figure 3:

Driver and Passenger Defog Cicruit Breakers (w/WC2/WC8)


Object Number: 1392780  Size: FS
Master Electrical Component List
Underhood Fuse Block- OXY SEN, CR CONT, MDL COIL, TRANS Fuses
Underhood Fuse Block Battery Voltage
Underhood Fuse Block Battery Voltage
Figure 4:

Oxy Sen, CR Cont, Trans Fuses


Object Number: 782124  Size: FS
Master Electrical Component List
Underhood Fuse Block- COIL/MDL Fuse
Underhood Fuse Block Battery Voltage
Underhood Fuse Block- INJR 1 and INJR 2 Fuses
Underhood Fuse Block- PCM IGN and IGN1 Fuses
Figure 5:

Underhood Fuse Block- COIL/MDL Fuse


Object Number: 1370883  Size: FS
Master Electrical Component List
Underhood Fuse Block- INJR 1 and INJR 2 Fuses
Underhood Fuse Block- OXY SEN, CR CONT, MDL COIL, TRANS Fuses
Underhood Fuse Block- OXY SEN, CR CONT, MDL COIL, TRANS Fuses
Figure 6:

INJ 2 and INJ 1 Fuses


Object Number: 1251729  Size: FS
Master Electrical Component List
Underhood Fuse Block- PCM IGN and IGN1 Fuses
Underhood Fuse Block- COIL/MDL Fuse
Underhood Fuse Block- OXY SEN, CR CONT, MDL COIL, TRANS Fuses
Figure 7:

PCM IGN and IGN 1 Fuses


Object Number: 1232601  Size: FS
Master Electrical Component List
Underhood Fuse Block- ACCY and HDLP Relays
Underhood Fuse Block- INJR 1 and INJR 2 Fuses
Underhood Fuse Block- OXY SEN, CR CONT, MDL COIL, TRANS Fuses
Figure 8:

DRL, FOG, AC CLU, ACCY, Wiper, Headlamps


Object Number: 782130  Size: FS
Master Electrical Component List
Underhood Fuse Block- ALDL, PCM BATT, and I/P Fuse
Underhood Fuse Block- PCM IGN and IGN1 Fuses
Figure 9:

ALDL, PCM BATT, I/P Fuses


Object Number: 1232649  Size: FS
Master Electrical Component List
Underhood Fuse Block- ABS, AIR PUMP, C/LTR 1, and C/LTR 2 Fuse
Underhood Fuse Block- ACCY and HDLP Relays
Figure 10:

ABS Sol, Air Pump B, C/LTR 1, C/LTR 2, Fuses


Object Number: 782138  Size: FS
Master Electrical Component List
Rear Fuse Block- SIR, VENT SOL, IGN 1Fuse
Underhood Fuse Block- ALDL, PCM BATT, and I/P Fuse
Rear Fuse Block- CVRTD, CIGAR, and RAP Fuses and Relays
Figure 11:

SIR, Vent Sol, and IGN 1 Fuses


Object Number: 782139  Size: FS
Master Electrical Component List
Rear Fuse Block- LP PK R and LP PK L Fuses, PRK LP Relay
Underhood Fuse Block- ABS, AIR PUMP, C/LTR 1, and C/LTR 2 Fuse
Power and Grounding Schematic Icons
Power and Grounding Schematic Icons
Figure 12:

Right PRK LP and Left PRK LP Fuses


Object Number: 782140  Size: FS
Master Electrical Component List
Rear Fuse Block- DIMR, S-DAR, and AUDIO Fuses
Rear Fuse Block- SIR, VENT SOL, IGN 1Fuse
Rear Fuse Block- DIMR, S-DAR, and AUDIO Fuses
Figure 13:

S-DAR and Audio Fuses


Object Number: 1286345  Size: FS
Master Electrical Component List
Rear Fuse Block- HVAC BLO, DRV MDL, PASS MDL, PWR TT, HTDST LR, HTDST RR, HTDST RF, DIM Fuses
Rear Fuse Block- LP PK R and LP PK L Fuses, PRK LP Relay
Rear Fuse Block- LP PK R and LP PK L Fuses, PRK LP Relay
Figure 14:

HVAC BLO, DRV MDL, PASS MDL, PWR TT, HTDST LR, HTDST RR, HTDST RF, and DIM Fuses


Object Number: 1318445  Size: FS
Master Electrical Component List
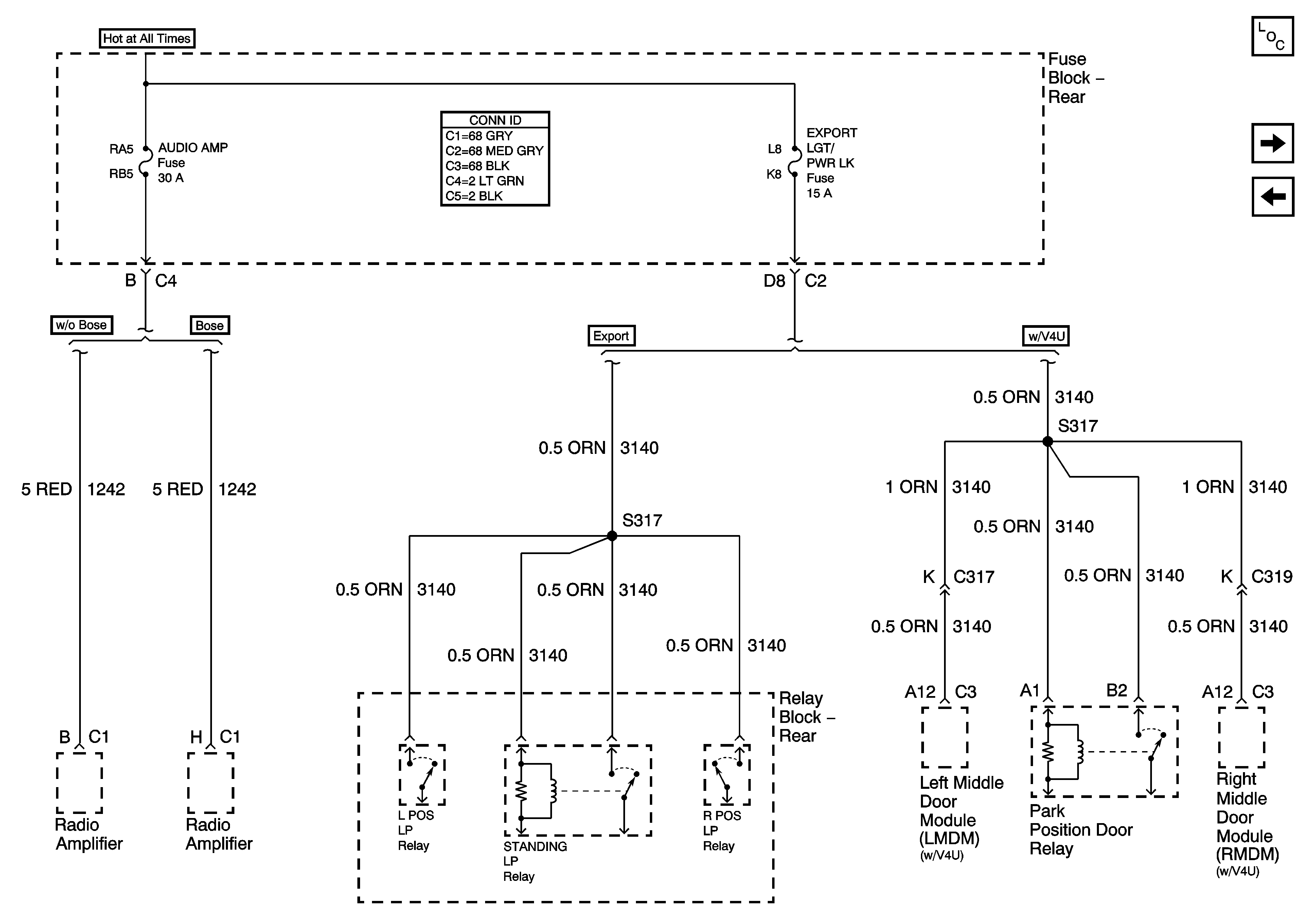
Rear Fuse Block- AUDIO AMP, EXPORT LTG/PWR LK Fuses
Rear Fuse Block- DIMR, S-DAR, and AUDIO Fuses
Figure 15:

Audio Amp and Export LTG/LK Fuses


Object Number: 782144  Size: FS
Master Electrical Component List
Rear Fuse Block- PWR WDO Circuit Breaker
Rear Fuse Block- HVAC BLO, DRV MDL, PASS MDL, PWR TT, HTDST LR, HTDST RR, HTDST RF, DIM Fuses
Figure 16:

PWR Window Circuit Breaker


Object Number: 782148  Size: FS
Master Electrical Component List
Rear Fuse Block- NAV Fuse and PWR SEAT Circuit Breaker
Rear Fuse Block- AUDIO AMP, EXPORT LTG/PWR LK Fuses
Figure 17:

NAV Fuse and PWR Seat Circuit Breaker


Object Number: 782149  Size: FS
Master Electrical Component List
Rear Fuse Block- RR BLO, RRDR MDL, HVAC BAT, STOP LP, IGN SW, TSIG/HAZ Fuse
Rear Fuse Block- PWR WDO Circuit Breaker
Figure 18:

RR BLO, RR DR MDL, HVAC, Stop LP, IGN SW, and TSIG/HAZ Fuses


Object Number: 782152  Size: FS
Master Electrical Component List
Ignition Switch
Rear Fuse Block- NAV Fuse and PWR SEAT Circuit Breaker
Ignition Switch
Figure 19:

Ignition Switch


Object Number: 1232651  Size: FS
Master Electrical Component List
Ignition Feeds to Underhood and Rear Fuse Blocks
Rear Fuse Block- RR BLO, RRDR MDL, HVAC BAT, STOP LP, IGN SW, TSIG/HAZ Fuse
Rear Fuse Block- RR BLO, RRDR MDL, HVAC BAT, STOP LP, IGN SW, TSIG/HAZ Fuse
Figure 20:

Ignition Feeds to Underhood and Rear Fuse Blocks


Object Number: 1274806  Size: FS
Master Electrical Component List
Rear Fuse Block- MEM TT, RRLUM/PWR ANT, HTDST LF Fuses
Ignition Switch
Ignition Switch
Ignition Switch
Figure 21:

MEM TT, RRLUM/ANT, and HTDST LF Fuses


Object Number: 1318449  Size: FS
Master Electrical Component List
Rear Fuse Block- IGN 3 Relay, IGN 3 RR Fuse
Ignition Feeds to Underhood and Rear Fuse Blocks
Figure 22:

IGN 3 Fuses


Object Number: 1318452  Size: FS
Master Electrical Component List
Rear Fuse Block- ELC, NIGHT VISION, HVAC, ABS Fuses
Rear Fuse Block- MEM TT, RRLUM/PWR ANT, HTDST LF Fuses
Rear Fuse Block- ELC, NIGHT VISION, HVAC, ABS Fuses
Figure 23:

ELC, Night Vision, HVAC, ABS Fuses


Object Number: 782164  Size: FS
Master Electrical Component List
Rear Fuse Block- CVRTD, CIGAR, and RAP Fuses and Relays
Rear Fuse Block- IGN 3 Relay, IGN 3 RR Fuse
Rear Fuse Block- IGN 3 Relay, IGN 3 RR Fuse
Figure 24:

CVRTD, Cigar, RAP, Sunshade Fuses


Object Number: 782167  Size: FS
Master Electrical Component List
Rear Fuse Block- ELC, NIGHT VISION, HVAC, ABS Fuses
Underhood Fuse Block- ABS, AIR PUMP, C/LTR 1, and C/LTR 2 Fuse