GM Service Manual Online
For 1990-2009 cars only

Power, Ground, and Warning Switches


Object Number: 586334  Size: FS
WIPERS, ACC, and CLUSTER Fuses
RLY IGN 1 Fuse
STOP, HAZARD, CNR LP, CRANK, and IGN 0 (ENG) Fuses
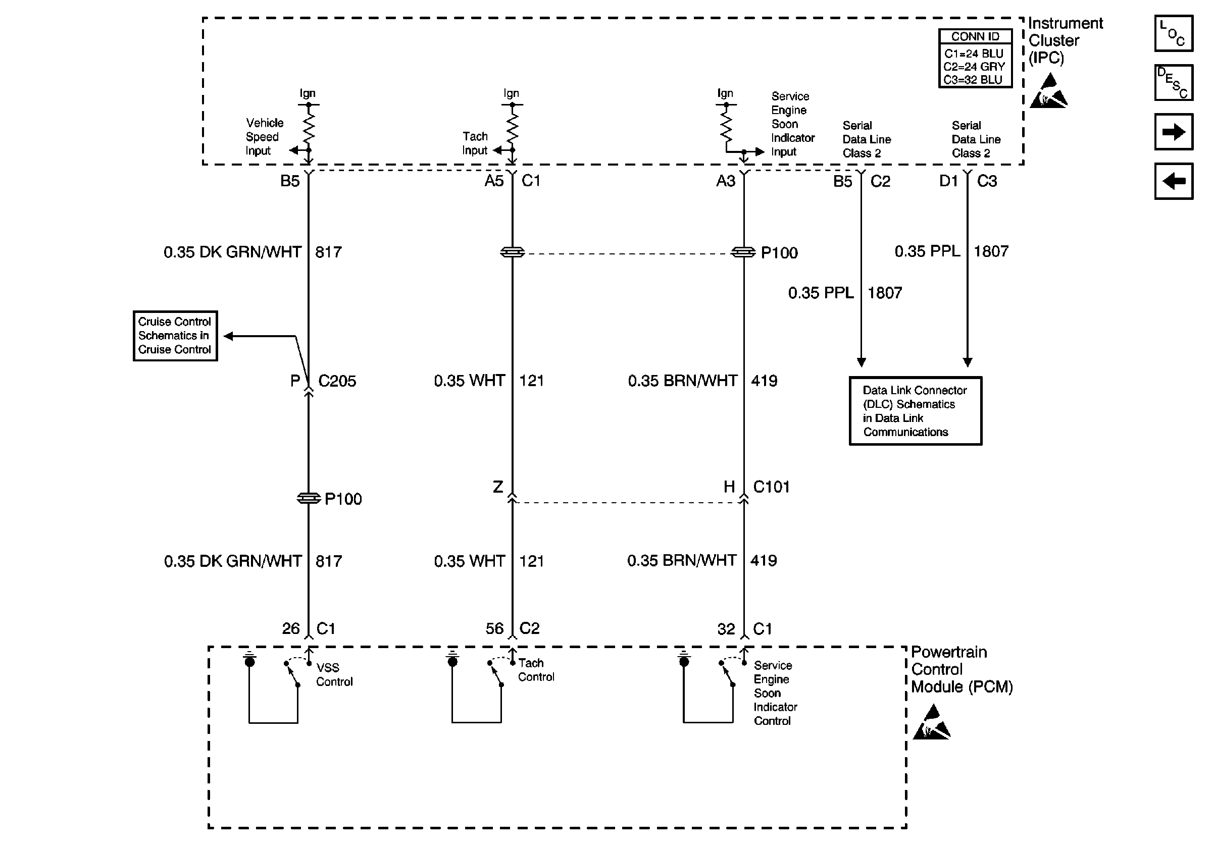
Instrument Cluster Circuit Description
Ignition Lock Control
Handling ESD Sensitive Parts Notice
G100 and G105
G203

PCM, IPC, and Class 2 Signals


Object Number: 586328  Size: FS
Instrument Panel, Gages, and Console Connector End Views
Instrument Cluster Circuit Description
Power, Ground, and Warning Switches
00E I/P Schematics:Instrument Cluster, Rear Compartment Fuse Block
Class 2 (2 of 2)
Handling ESD Sensitive Parts Notice

Ignition Lock Control


Object Number: 586317  Size: FS
Instrument Panel, Gages, and Console Connector End Views
Instrument Cluster Circuit Description
Interior Lighting and Park Switch Signals
Power, Ground, and Warning Switches
Wiper/Washer System (Pulse) Schematics w/o CE1

Interior Lighting and Park Switch Signals


Object Number: 586300  Size: FS
Instrument Panel, Gages, and Console Connector End Views
Instrument Cluster Circuit Description
Exterior Lighting Signals
Ignition Lock Control
Handling ESD Sensitive Parts Notice
Interior Lights Dimming Schematics
Interior Lights Dimming Schematics
Headlamp Switch and Park Lamp Control
Headlamp Switch and Park Lamp Control

Exterior Lighting Signals


Object Number: 586311  Size: FS
Instrument Panel, Gages, and Console Connector End Views
Instrument Cluster Circuit Description
Light Switches
Interior Lighting and Park Switch Signals
Handling ESD Sensitive Parts Notice
Fog Lamps
Headlamp Dimmer Switch, Ambient Light Sensor, and Twilight Sentinel
Headlamp Dimmer Switch, Ambient Light Sensor, and Twilight Sentinel
Release Systems

Light Switches


Object Number: 586306  Size: FS
Instrument Panel, Gages, and Console Connector End Views
Instrument Cluster Circuit Description
Door Jamb Switches
Exterior Lighting Signals
Handling ESD Sensitive Parts Notice
Headlamp Dimmer Switch, Ambient Light Sensor, and Twilight Sentinel
Exterior Lights Schematics
Headlamp Switch
Steering Wheel Control Switch

Door Jamb Switches


Object Number: 586344  Size: FS
Power, Ground, and Class 2 (1 of 2)
Instrument Cluster Circuit Description
Light Switches
Body Control System Connector End Views
Handling ESD Sensitive Parts Notice
G402
G203
G205

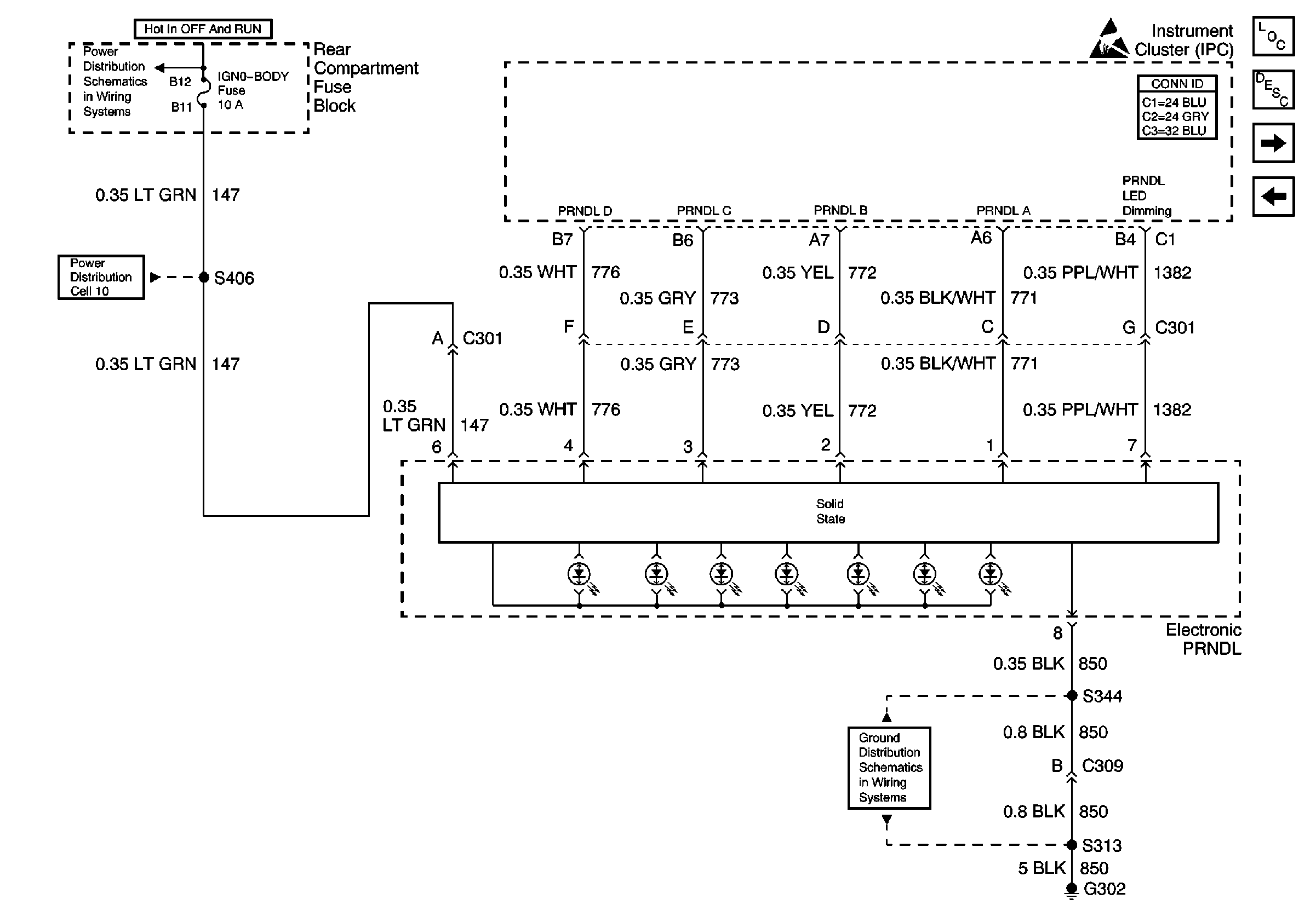
Electronic PRNDL Signals


Object Number: 586361  Size: FS
IGN 0 BODY Fuse
IGN 0 BODY Fuse
Ground Distribution Schematics
Handling ESD Sensitive Parts Notice
Instrument Panel, Gages, and Console Connector End Views
Instrument Cluster Circuit Description
DIC Signals
Door Jamb Switches

DIC Signals


Object Number: 586376  Size: FS
Instrument Panel, Gages, and Console Connector End Views
Handling ESD Sensitive Parts Notice
Release Systems
Instrument Cluster Circuit Description
Electronic PRNDL Signals
Headlamp Switch
G205
G201