GM Service Manual Online
For 1990-2009 cars only
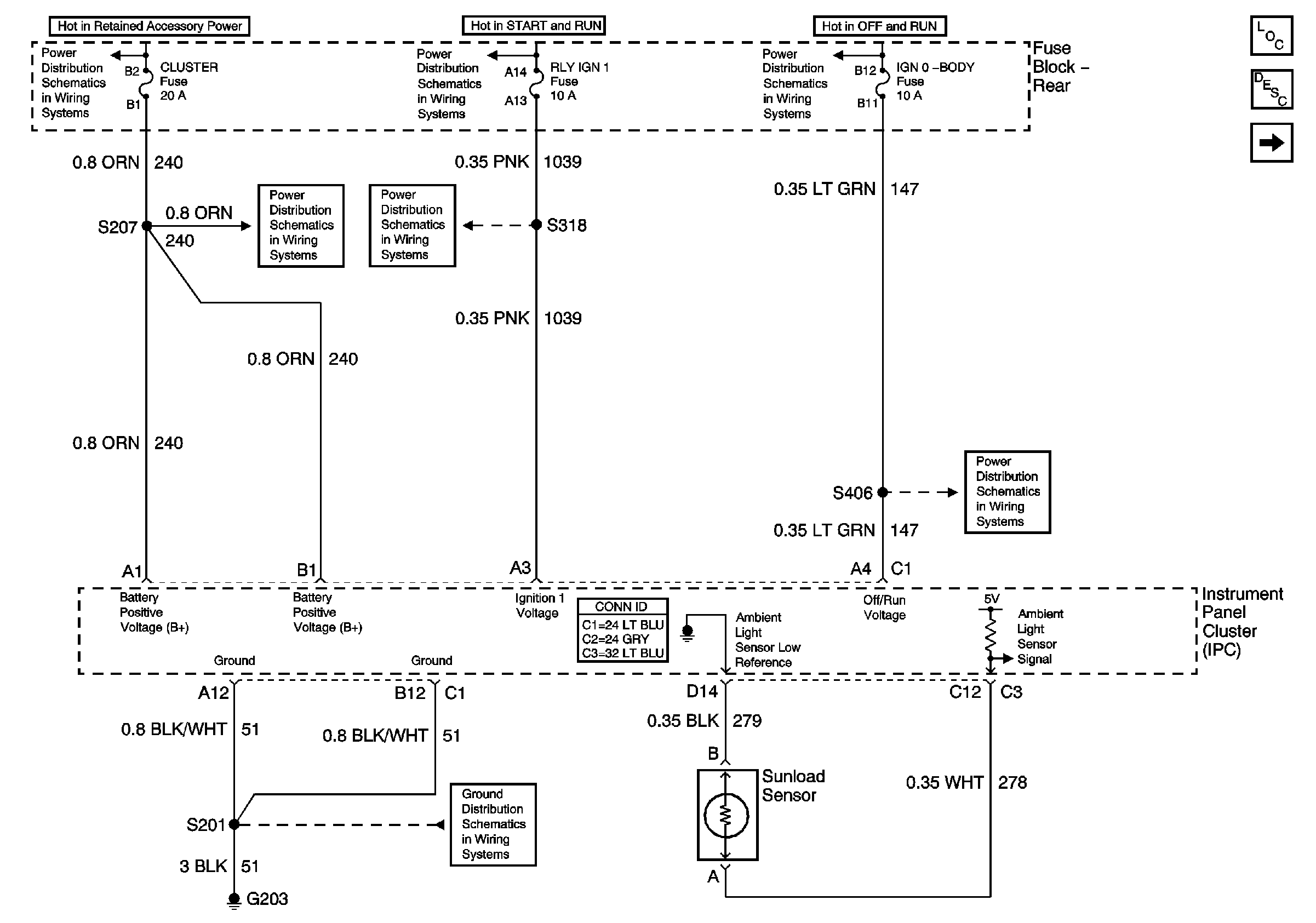
Figure 1:

Power, Ground, and Ambient Light Sensor


Object Number: 715207  Size: FS
Master Electrical Component List
Headlamp Switch
IGN 0 BODY Fuse
G203
BODY 3 and INADVERT Fuses
WIPERS, ACC, and CLUSTER Fuses
LAMPS and IGN 1 Fuses
RLY IGN 1 Fuse
BATT 3 and Ignition Switch (1 of 2)
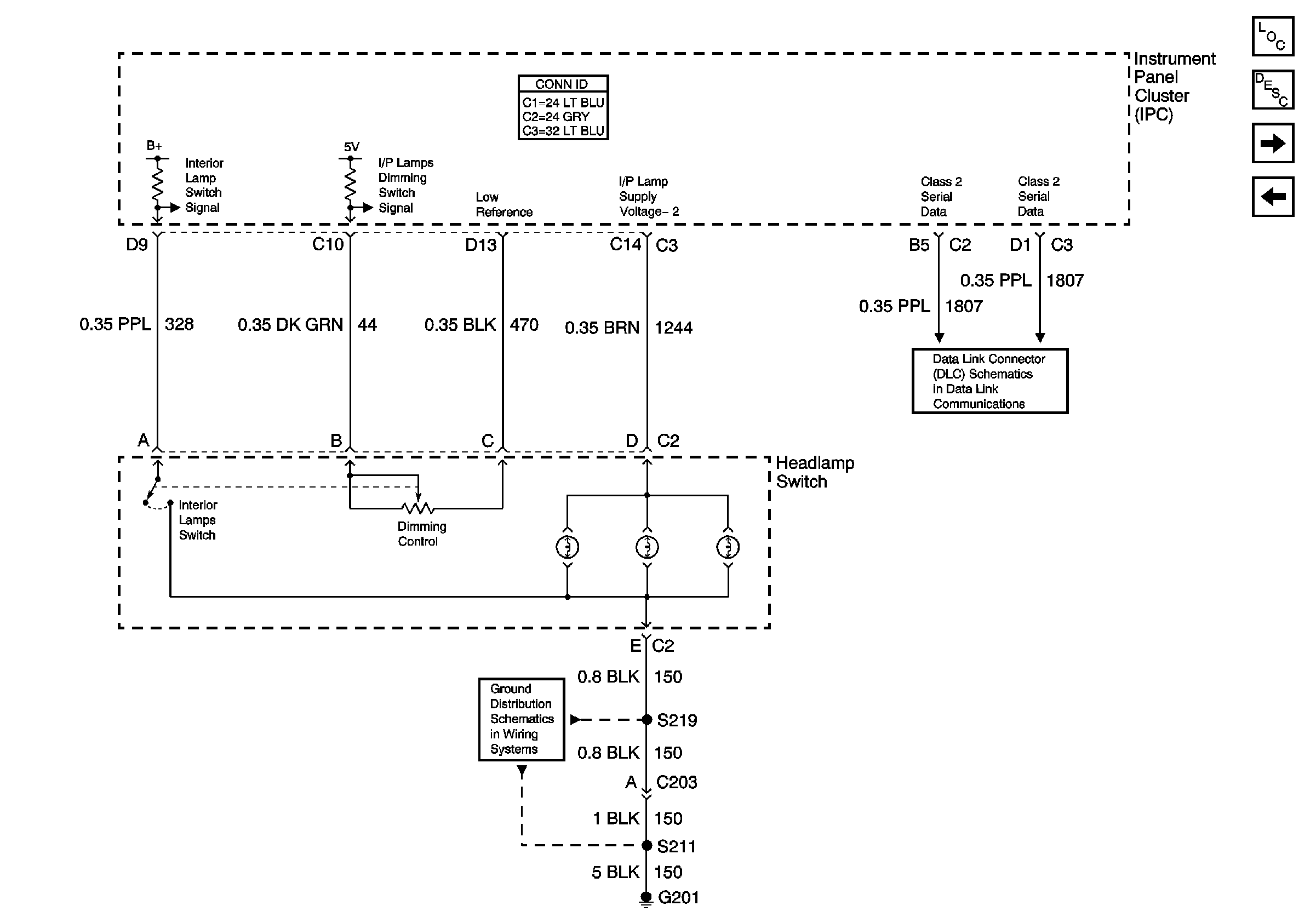
Figure 2:

Headlamp Switch


Object Number: 715209  Size: FS
Master Electrical Component List
Front Door Backlighting
Power, Ground, and Ambient Light Sensor
Power, Ground, and Class 2 (2 of 2)
G201
Figure 3:

Front Door Backlighting


Object Number: 715215  Size: FS
Master Electrical Component List
Instrument Panel Backlighting
Headlamp Switch
G204
G201
Figure 4:

Instrument Panel Backlighting


Object Number: 715221  Size: FS
Master Electrical Component List
Console Backlighting
Front Door Backlighting
G204
Power, Ground, and Class 2 (2 of 2)
G401 (1 of 2)
Power, Ground, and Class 2 (2 of 2)
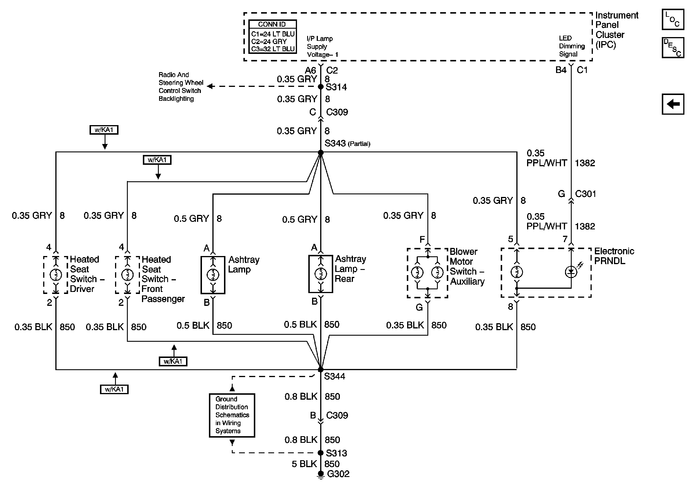
Figure 5:

Console Backlighting


Object Number: 715223  Size: FS
Master Electrical Component List
Instrument Panel Backlighting
G302 (1 of 2)
Instrument Panel Backlighting